
管桩灌芯施工技术
供稿 :中天天津
在管桩灌芯施工过程中,采用专用管桩取土器清掏桩芯土,钢筋笼的加工采用钢筋弯曲机+50cm长镀锌钢管制作成的加工机械。该技术利用现有机械进行简单改造,简单易行,且施工工效提高明显,施工质量有保障。
技术流程

1.施工工艺流程
施工准备→箍筋加工→钢筋笼制作→桩芯土清掏→放置钢筋笼→灌芯
2.操作要点
(1)施工准备
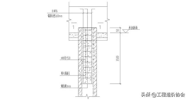
改造利用现有GW40B钢筋弯曲机:现场截取50cm长,Φ150mm镀锌钢管(可根据实际情况调整),采用钢筋头与钢筋弯曲机转盘进行点焊加固。准备好Φ8钢筋,用于制作箍筋。
(2)箍筋加工
开动钢筋弯曲机,在弯曲机动力的带动下,利用镀锌钢管管壁的弧度进行箍筋弯弧制作。为便于操作,本工程3.5m灌芯长度的钢筋笼箍筋分成二段制作。

(3)钢筋笼制作
钢筋笼采用6根Φ16主筋与3mm钢托板焊接,钢筋尺寸严格按图纸要求加工,将钢筋笼成品横向架立在特制操作架上完成钢筋笼的箍筋绑扎。
箍筋绑扎


钢筋笼成品
(4)桩芯土清掏
在桩芯清土中采用专用管桩取土器,利用取土器底盘的斜切使管桩内土体松动,缓慢沉入管芯,然后提升,通过扇形底盘将土体带出。重复进行操作清掏完桩芯土,并用端头焊接托板的钢筋测量清掏深度是否符合要求,确保管桩内壁清理干净,并确保清孔长度至钢筋笼托筋下500mm。
桩芯清土1


桩芯清土2
(5)放置钢筋笼
钢筋笼可用塔吊吊装放置或人工放置。放置前需在钢筋笼端部绑扎2根不小于18mm钢筋,防止钢筋笼掉到管桩内。
灌芯构造示意图


钢筋笼放置
(6)灌芯
桩芯灌注混凝土前,在管桩内壁喷涂纯水泥浆或混凝土界面处理剂,增强填芯材料和管桩间的粘结程度,灌芯混凝土采用微膨胀混凝土。
应用实例

项目名称
工程地点
结构形式
开竣工日期
实用技术应用量
津南新城G地块
天津
剪力墙结构
在施
所有管桩
应用效果
1、 制作机械改造方便,使用效果明显,特别是操作简便、工效提升明显;
2、 箍筋弯弧质量方便控制,所绑扎箍筋间距均匀。
存在问题
暂无