6月14日,安阳市汤阴县城区核心位置两块住宅用地网上挂牌出让,全部溢价成交,其中1个地块被四川恒信远大集团的子公司竞得,为其开发的汤阴中华梦幻谷配套项目的一部分。

5号地块成交信息

5号地块规划图

5号地块在地图上的大致位置
G-22-05号地块:位于汤阴县长虹路与文昌路交叉口东北角,出让面积为30834.77平方米(46.25亩),土地用途为住宅兼容商用,商业建筑面积不大于6100平方米,规划容积率小于2.0,规划建筑密度小于25%,绿化率大于35%,建筑限高不大于60米,土地使用权出让年限为住宅70年、商业40年。挂牌起始价为5950万元。
5号地块以6009万元成交,每亩地价为129.92万元,楼面地价为974元/㎡,被河南永硕置业有限公司竞得。
从地图上看,5号地块北边是汤河公园,紧邻着毓秀园、汤阴一中,周边有园中园、金水楼台小区、平安小区等。

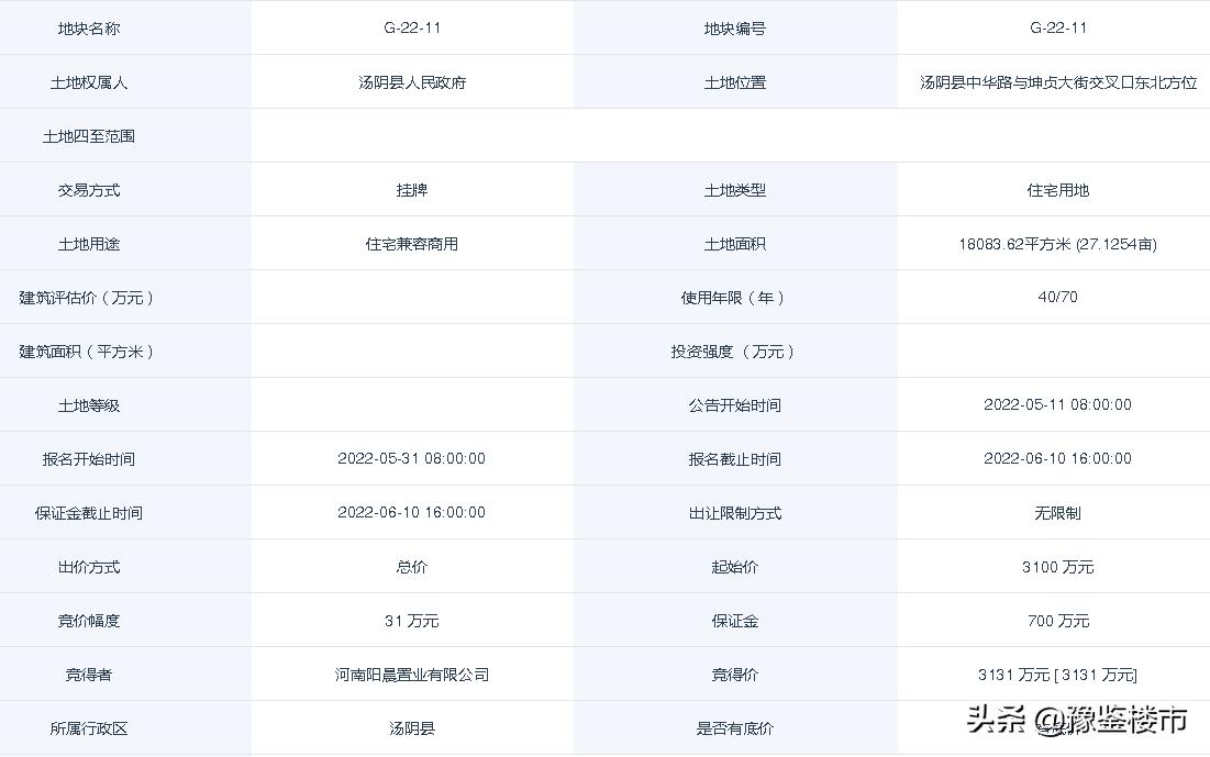
11号地块成交信息

11号地块规划图

11号地块在地图上的大致位置
G-22-11号地块:位于汤阴县中华路与坤贞大街交叉口东北方位,出让面积为18083.62平方米(27.13亩),土地用途为住宅兼容商用,商业建筑面积不大于5400平方米,规划容积率为2.0-3.0,规划建筑密度小于35%,绿化率大于30%,建筑限高小于60米,土地使用权出让年限为住宅70年、商业40年。挂牌起始价为3100万元。
11号地块以3131万元成交,每亩地价为115.41万元,楼面地价为577元/㎡,被河南阳晨置业有限公司竞得。该公司为四川恒信远大集团的子公司,梦幻谷·东方华府即为其开发的项目。
从地图上看,11号地块周边有安阳碧桂园、新城国际、正大国际广场等,或为梦幻谷·东方华府项目的后期用地。