继续说国防科大毕业生去向这个事儿。
首先,还是先强调一下,我对国防科大没有任何不敬。对于那些愿意以600多分高分报考国防科大,毕业以后毅然去边疆地区(新西兰)卫国戍边的军人,我致以无上崇敬。祖国需要这样的人。
但是这些年来网上一直有人诟病国防科大毕业分配问题(特别是包括国防科大往届毕业生在内),这不是一个两个孤例,而是一种普遍现象。
我就举一个例子,是一名网上实名认证的国防科大因病退学学生发言(他也强调了,国防科大教学质量和科研实力很强,但是给毕业生带来的收益来看,确实不太理想)


他的主要观点,包括网上大量对国防科大毕业生分配有意见的人,都完全一致。就是国防科大收600多分高分考生,本来是按照技术人员培养,结果跑去基层部队带兵拔草,这完全是人才浪费。
然后很多国防科大毕业生主要不满情绪在于,明明多考了100多分,号称“军中清华”,结果和其它军校毕业生出路差不多,甚至还不如人家那些军校,那当年还不如直接去那些军校,这多考的100分是不是浪费?
所以,我们要搞清楚为什么会出现这种现象。以及,对于那些准备报考国防科大的家长和考生来说,这些不满意见,有没有参考作用?可不可以允许讨论?
对吧?咱们先说清楚这一点。然后发表各自意见。
今天这篇帖子,咱们从国防科大在各省招生分数线这个角度来说说。
先看两个表。
这是国防科大在全国各省招生计划数量。

可以看出,除了所在地湖南,国防科大主要是在北方各省招生最多,尤其是北方几个省份,比如最近很火的山河四省,招生数量都挺多;相对应,国防科大在长三角发达地区招生数量就普遍较少,江苏80人,浙江52人,上海才招5个人(同样高考考生5万左右,国防科大在北京招35人,在海南招39人),高考大省广东(高考报名人数80万,全国第二)也只有74个名额,远远低于河北河南。
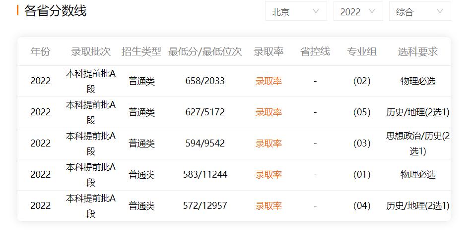
然后这是国防科大2022年各省录取分数线情况。其中生长军官本科学员是指军籍学生,和国防科大地方生相区别。

从这个表可以看出,指挥类比非指挥类专业分数线要明显低一些。就是因为指挥类专业本科毕业大概率就是去基层部队带兵,非指挥类专业有更大概率读研。

光是从指挥类专业分数线更低,就能看出,大多数报考国防科大学子本身是想继续深造搞科研,而不是奔着直接去基层部队带兵,对吧?
再回到这个各省分数线情况,因为各省高考分数不一样(比如浙江赋分制,分数线明显比其他省高;比如海南高考总分换算成900分,所以看起来更高),所以这个表看不出什么。咱们还是具体举几个具有代表性省份来一一分析
还是先看山河四省代表。
高考大省河北省。国防科大在河北招生120多人,2022年在河北最低分数线(指挥类)606分,排名全省8000名左右(可以查网上一分一段线),平均分615,排名全省5500名左右。这是相当高的分数了。

国防科大在山西省招80人左右,最低分583,排名全省5000名左右,平均分592,排名全省3500名左右。也挺高。

国防科大在山东省招生170多人,2022年最低分597,排名全省13000多名,平均分611,排名全省1万左右,这个分就比河北山西要低一些。

国防科大在河南招生160多人,2022年最低分是611,排名全省1万名左右,平均分623,排名全省6300名左右,相对来说也挺高,毕竟河南高考报名人数超过100万。
以上是国防科大在山河四省招生数量和最低分数线,招的人都挺多,分数线也挺高(除了山东相对低一些),说明国防科大在北方这些省份非常受欢迎。
再看国防科大在长三角经济发达地区招生情况。
先看江苏省,招生计划80人。数量就比较少。

再看国防科大2022年在江苏的分数线,普遍很低。

尤其是最低分是577,排名全省近3万名了,其它几个专业也都是1万名以后。平均分605,排名全省也是1万多名。
江苏高考人数大概是40万出头一点,比河南100万,河北70多万都要少一半以上,分数线还要比河南山东低这么多。
然后是浙江省,国防科大在浙江招生52人,2022年最低分数线645,排名全省1万多名,浙江高考人数只有30万出头。
再看上海,国防科大在上海招生只有5人,最低分553,排名6500名左右,但上海考生一共只有5万人,如果扩大到河北河南规模,那这个排名就差不多相当于至少2、3万名以后了吧?
2018年还更低,直接就是1万多名以后了,所以后来国防科大在上海招生名额缩减了。

看看广东省。国防科大在广东省招生70人,最低分数线622,排名全省9700名左右

但是看广东省2021年招生最低位次滑落到1.6万名以后。

最后看北京,国防科大在北京招生35人也不算少了,最低位次1万多名,北京高考人数可也只有5万人啊。

好,看完国防科大在几个代表省份招生数量和分数线情况。你能得出什么结论呢?
显然,国防科大在经济发达地区受欢迎程度,不如那些经济落后省区。
在江浙沪和北京这些发达地区,国防科大招生更少,分数线更低一点;在河北河南山西这些省份,国防科大招生更多,分数线也更高。
所以,很明显,越是经济落后地区的考生和家长,越是看好国防科大。
这是为什么呢?
每个人都可以独立思考一下,每个人都可以得出自己的结论。
本文查找了这么多资料,搜索了大量网上信息,是因为想搞清楚一个问题,就要有独立思考精神,要靠自己去思考,去收集资料,去全方面筛选,去比较,去总结。而不是你看了点抖音上面视频就被*脑洗**。
我说说自己的看法,是因为信息差。
之前张雪峰火了,很多人支持他,说他打破了高考填报志愿信息差,告诉了很多人们不知道的报考信息。比如文科很多专业不好找工作,新闻专业不能读......
什么是信息差?就是越是经济落后地区,那里的家长和考生获得各种信息能力越是差。中西部贫穷地区了解获取各种信息能力,肯定不如江浙沪经济发达地区,这个没有问题吧?
所以很多经济发达地区家长和考生知道国防科大毕业生去向,可能存在文章开头说的那些问题,于是他们报考意愿就不是那么强烈,于是招生数量也少了,分数线也低了。
而与之相反,很多经济落后地区家长和考生,觉得国防科大光环效应很强,又是国防又是科技,“军中清华”啊,国家包分配啊,这么牛逼的学校,当然高分考生都愿意报,但他们可能就不太清楚毕业以后可能不是去做技术工作,而是和其它普通军校毕业生一样去基层部队带兵。
说到这,咱们看陆军步兵学院2022年各省招生数量和分数线


河北最低分553,山东最低分523,对比前面国防科大在各省录取分数线,是不是普遍低了50多分,甚至70多分?
再看陆军炮兵防空兵学院,就不多说了吧

这些陆军专门军事院校,培养目标就是带兵打仗,比如陆军步兵学院,只开办 作战指挥、指挥信息系统工程、装甲车辆工程、*器武**系统与工程等4个本科教育专业,全部都是指挥专业,毕业以后就是去部队当军官带兵。

所以*队军**院校培养目标清晰很重要,考生报考这些军校就是去带兵的,就是从基层军官干起,这没有问题。
但是国防科大很多人是抱着去搞军工科研目标,是去做技术工种的啊,他们本来目标不是去带兵的啊,你带兵也不如其它军校专业啊。
所以你多考了50多分,甚至100分,最后出路还不如其它军校,会不会让某些考生觉得失望呢?
所以还是那句话,如果你了解了全部信息,愿意拿着600多分高分去国防科大毕业以后去基层部队带兵,我无比崇敬,祖国需要你这样的人才。但是怕就怕某些考生和家长不知道这些信息,以为是去做技术,是去搞国防科研,最后去基层带兵,这样好不好?
做选择之前,至少要给人家全面了解信息,然后你才能无悔啊。