真空电梯的发展历史
真空电梯虽属现代产品,但其发展历史较长。
早在1967年,1篇美国专利上就已经有了真空电梯的雏形(图6)。该装置用来对谷物进行脱粒和分离,实现物料的传输。该装置最初目的是因为在2或3层房屋安装电动或液压升降机太昂贵,因此使用鼓风机从下方吹风(鼓风机下方的单向通道(24)为入口),做为驱动装置进行驱动。该装置安装了大量电磁阀、限位开关、压力传感器(36、37),并附有复杂继电器电路,能判断电梯是否到达上层并关闭电路,能实现下降时的自动缓冲、找平和精准定位,同时密封元件也相对完善。该装置虽不像现代产品这样精致美观,但其基本理论已经形成。

图6 1967年美国专利中的真空电梯构想图
1996年,Sors Carlos Alberto博士提出一种真空电梯的构想,该电梯靠轿厢上下压差作用上行与下行,无需底坑、机房,拥有360°全透明井道外壁,轿箱亦为透明太空舱式结构,整体设计如同一件工业艺术品,相对于传统电梯具有明显的优势。
真空电梯的商业历史起始于上个世纪90年代。目前,Pneumatic Vacuum Elevators LLC(以下简称PVE)是全球规模最大、发展最早的真空电梯设计和生产商。PVE于2002年在美国佛罗里达州迈阿密成立,共生产三种型号的真空电梯(PVE37—2002年生产、PVE52—2008年生产、PVE30—2010年生产)。PVE的经销商遍布全球,已经在全球75个国家安装了9000多台真空电梯,在全网有超过250个授权经销商,图7为PVE欧洲经销商分布图。截至2014年2月,其位于西班牙的欧洲子公司成立。

图7 PVE欧洲经销商分布图
除PVE外,目前国外进行真空电梯生产与销售的公司还有VE Australia Pty Ltd.、Venz Vacuum Elevators NZ Ltd.和Vision Elevators等。VE Australia Pty Ltd.销售的真空电梯有B30、B37、B52三种型号,Venz Vacuum Elevators NZ Ltd.销售的真空电梯有M750、M933、M1316三种型号,Vision Elevators销售的真空电梯有Vision350、Vision450、Vision550三种型号,性能与尺寸大致与PVE公司的三种产品型号对应。
真空电梯在国内的发展较为缓慢,国内对真空电梯的关注从2005年开始,2017年关注度大幅上升。真空电梯的产品最早进入台湾。台湾崇友实业(GFC)目前进行NuVa真空气动梭系列产品的生产与销售,共有两人载重及三人载重两种型号。此外,在大陆有允成机电科技(上海)和斯多克公司进行真空电梯的销售,但并不具备生产能力。
真空电梯的研究现状
真空电梯的发展时间较短,尚未形成大规模的产业集群。目前真空电梯相关的报道研究较少,一方面为各种产品报道与商业新闻,另一方面为各种相关专利的申报。下面主要从国内外专利的申报状况来阐述真空电梯的研究现状。
真空电梯相关的专利申报在20世纪70年代前基本处于零星申报状态,且尚未形成较为完整的理论。1967年美国专利3318418介绍了一种真空电梯的雏形,理论相对比较完善。此后,真空电梯相关专利的申报数量有所增加,进入缓慢发展阶段,截止1996年,申报的专利累计达10余项。1996年Sors Carlos Alberto博士提出一种较为完善的真空电梯结构,开启了真空电梯发展的新时代,真空电梯开始商业化发展,国外出现了PVE、VE Australia Pty Ltd.、Venz Vacuum Elevators NZ Ltd.和Vision Elevators等真空电梯生产商。
国内关于真空电梯的专利申报主要从21世纪开始,但前期一直发展的较为缓慢,处于基础理论的研究阶段。2013年至2016年为专利申报的爆发期,累计达30余项,其中2015年为申报的顶峰,共计申报16项。我国真空电梯相关专利类型中,发明和实用新型基本各占一半,发明的数量略少于实用新型,专利的水平仍待提高。
目前,我国关于真空电梯的专利申报,主要集中在驱动结构改型、附属部件创新及控制系统优化等三个方面。
在驱动结构改型方面——
专利201410088090.04公开了一种气动电梯的驱动装置及其驱动方法,通过将抽风机分组并设置独立的抽气室,可根据轿厢内的实际载重选择同时开启的抽风机数量,既能节约能源,又能增加轿厢运行的平稳性。
专利201410692632.9提出在真空电梯井道内各层顶部设置密封隔板,通过该隔板将井道分为若干密闭空间,驱动电梯时,只需抽取某一楼层中的空气即可,从而提高抽气效率并降低能耗,且能一定程度上增加真空电梯的安装楼层,最高可达6层。
专利201410837084.4通过设置与轿顶一起上下滑动的隔板,形成第一抽气空间和第二抽气空间,并设置可伸缩的管道针对第一抽气空间进行抽气,能有效提高抽气效率,节约能源,具体结构见图8。

图8 一种新型真空电梯结构示意图
除了驱动结构的改型,针对真空电梯其他附属部件的专利申报也较多,如井道结构、平层机构、安全钳、制动装置、过载保护装置等。这其中——
专利201510197697.0提出采用椭圆形井道和轿厢,能利用井道自身形状对轿厢进行限位和导向,防止轿厢旋转,避免了凸起导轨对密封效果的影响,解决了密封效果不好导致的气流噪声问题。
专利201410130706.X公开了一种电磁驱动的轿厢锁止机构(见图9),由底座、卡爪、电磁线圈、铁芯以及开设于电梯井道侧壁上的卡口等组成,反应灵敏,定位准确,结构简单,安装方便。

图9 电磁式锁止机构
1-电梯轿厢锁止机构;10-底座;11-卡爪;110-锁头;12-电磁线圈;13-铁芯;14-卡口;15-立柱;16-弹簧;17-顶针;2-电梯井道;20-电梯导轨;3-电梯轿厢
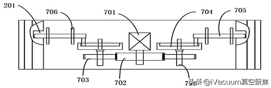
专利201420760659.2公开了一种利用凸轮机构驱动的平层机构(见图10),由于反行程止动原理,能防止平层以后异常情况下的自动解锁,提高了电梯平层的稳定性和可靠性。

图10 平层机构
201-平层豁口;701-电机;702-大齿轮;703-小齿轮;704-凸轮机构;705-平层顶杆;706-固定件;708-连接轴
专利201410309861.8公开了一种利用轿厢顶部压差驱动的安全钳(见图11),该安全钳的启动完全受电梯轿顶密封板上下的压差控制,在发生压差异常时,能依靠纯机械零部件钳住导轨,电梯轿厢停止运行而不会急速下坠,保证乘客安全。

图11 气动安全钳
A-锁止结构;1-电梯井道;2-轿厢导轨;3-电梯轿厢;30-轿厢本体;300-8根导柱;310-密封盖;311-横板;312-弓形板;4-安全钳;5-弹簧
随着数据采集、数据传递及数据处理等技术的不断发展,电梯控制系统日益精确化、高效化及智能化。和传统电梯控制技术相比较,当前电梯控制技术更具稳定性、效率性、安全性与节能性。电梯控制技术的发展大大提高了电梯的安全性能与运行效率。大量控制新技术的出现,推动了真空电梯控制技术的发展。例如——
专利201510197860.3公开了一种气动电梯控制系统及控制方法,该系统包括可编程逻辑控制器、输入信号单元、输出执行器件以及电源单元,所述输入信号单元与所述可编程逻辑控制器的输入端口相连,所述输出执行器件与所述可编程逻辑控制器的输出端口相连,所述电源单元为该控制系统供电。该发明在现有的气动电梯的结构基础上,对气动电梯进行稳定、有效的控制,利用可编程逻辑控制器作为核心控制器,具有高稳定性、强抗干扰能力,且易于后期功能的扩展。图12为其控制系统框图。

图 12 真空电梯PLC控制系统图
本文发表于《真空》杂志2019年第6期
原文标题:真空电梯现状与发展趋势探讨
本文作者:刘朝,邢洪硕,苏家豪,张钧深,梁帅,谢元华,韩进