缘起
之前有小伙伴按照我的教程用爱快搭建了文件分享的轻nas,想要在局域网外也能访问文件,这让我想到了一些openwrt系统上自带的很多文件管理软件,寻了一圈,觉得易有云在爱快上搭建起来应该简单一些,就来操作一番了。
折腾
首先还是要先挂载个硬盘,这个我之前写过教程,可以外挂移动硬盘,也可以内置硬盘,推荐外挂硬盘方便好用,这里以外挂硬盘为例,首先我们需要准备一个移动硬盘,一般家里面多多少少也有闲置的2.5寸硬盘,买一个硬盘盒就可以组成一个移动硬盘了。将移动硬盘插在主板的USB3.0上,一般USB3.0口是蓝色的,如果插在USB2.0口上的话传输速度大概就是40mb/s左右跑不满千兆网口的速率拷贝文件还是比较慢的,所以要插对了。


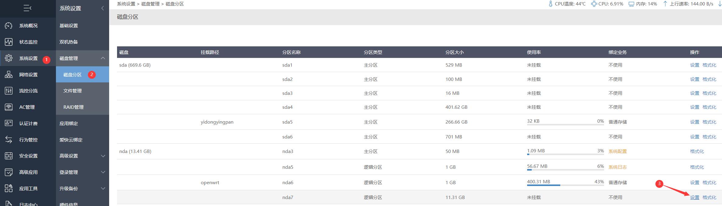
插上硬盘后登录到爱快后台按照图示依次点击系统设置——磁盘管理——磁盘分区,就可以看到插入的硬盘了,这个时候我们还无法使用这个硬盘,我们需要将硬盘挂载后才可以使用,由于我的硬盘里装了系统会有很多分区,一般来说只有一个分区的,将那个分区挂载上就可以了。如图示点击“设置”弹出的对话框中选择“普通储存”名字随意,最好用全英文。点击“确认”后会提示你会格式化,确定没有重要资料后再格式化。如图示在“文件管理”出现刚才我们挂载的硬盘说明就已经挂载好了。



接下来我们来用docker搭建易有云,如果用过爱快的docker的话可以跳过安装docker这步,一般新装的爱快是没有docker的,爱快的这个功能需要在云端下放,所以这个时候就需要注册一个爱快云账号,并将其与你的爱快软路由绑定才可以开启。首先回到爱快的后台管理页面,在右上角有一朵云形状的按钮如图所示,点击它进入到绑定界面。

进入到绑定界面后,输入手机号,获取到验证码填写上去,没有注册过爱快云手机号会自动注册。确认信息无误后点击“保存”按钮,会出现绑定成功的字样,这时候点击下面的“进入爱快云平台”如图示进入到爱快云的登录界面,选择验证码登录,输入手机获取验证码后登录进爱快云。


登陆进到爱快云后,点击切换到“插件应用”选项卡,按照图示点击“安装”会弹出一个选项框,按照图示点击设置,点击“确认”后回到爱快管理页面,按图示依次点击“高级应用——插件管理”就可以看到那个熟悉的图标了。




在设置docker之前,我们要先去新建一个储存分区用来存放docker的文件,按图示依次点击“系统设置——磁盘管理——磁盘分区”进入到分区界面,一般不要选移动硬盘,用安装爱快的盘来放docker文件。按照图示点击“设置”,弹出的选项卡上绑定业务选择“普通储存”,路径随意能记住就行,点击“确定”后会提示格式化,再次确认完成格式化即可。


建立好分区后我们回到docker界面,点击docker图标,进入到下个界面,按图示点击服务设置,储存分区选择刚才新建的分区,镜像库可以填写个国内的https://docker.mirrors.ustc.edu.cn最后点击确认会提示你会重启docker,再点击确认即可。设置好后打开docker开关,docker服务就启动了。



接下来用docker安装易有云,首先打开docker管理界面,然后切换到“接口管理”选项卡,按图示新建一个接口。

接口建好后切换到“镜像管理”选项卡,点击右上角的“添加”按钮,在新页面里搜索“linkease/linkease”如图示,点击“进入*载下**页”,选择第一个最新的点击“*载下**”后等待*载下**完成即可。

如图示,切换到容器列表选项卡,点击右侧的“添加”按钮进入到下个页面。首先点击“高级设置”会出现隐藏的高级选项,点击“文件管理”在刚才挂载的移动硬盘目录下新建一个文件夹来放文件或者直接选择复制根目录路径也行,建好文件夹后复制文件夹路径备用。



回到创建容器的页面,按图示填写参数,“容器名称”随意;“内存占用”按需设置,推荐设置1g;镜像文件选择刚才*载下**的linkease/linkease镜像;网络接口选择刚才新建的接口;“ipv4地址”填写一个接口ip段内的地址;勾选“开机自启”;“高级设置”里面的“挂载目录”下添加一个目录,“源路径”填写刚才新建的文件夹或者移动硬盘的根目录路径,“目的路径”填写/mnt,确认无误后点击保存,容器就自动运行了。

在浏览器输入刚才设置的ip:8897即可进入易有云的后台,随便点个选项后会打开一个登录页面,注册登录即可。登录后会让你选择网盘位置,这里选择刚才我们挂载的/mnt目录就行了。点击“确认”就设置完成了,进入到易有云的后台管理界面。


易有云的后台比较简单,小伙伴们比较关心的是怎样远程访问,有公网ip的小伙伴通过爱快的端口映射,去映射容器的ip及需要访问的服务端口,来实现在外网访问容器内相关服务。具体位置在爱快后台的“网络设置-端口映射"里面,映射好后配合动态域名就可以远程访问了。没有公网的小伙伴就需要借助内网穿透工具了,之前有写过教程,可以往前翻翻,还有就是用易有云的异地互联功能,要开会员的,新人送30天会员,速度试了下在线看个电影不是问题。


总结
现在大家都喜欢用云储存,其实数据放在自己那里还是比较放心一点,能做轻nas的设备有很多,这里用docker搭建的文件分享还是有很多局限性,还是推荐有文件共享需求的小伙伴上专业nas吧,顺便说下,爱快的docker真的很不好用…