关注风云之声
提升思维层次
导读
2019年是中国航空取得重大进展的一年。在新年之际,本文总结了中外航天六大事件,在随笔式的解读中回顾历史的进程,了解技术的沉浮,展望中国的崛起。
注:风云之声内容可以通过语音*放播**啦!读者们可*载下**讯飞有声APP,听公众号,查找“风云之声”,即可在线收听~
2019年的航天,发生了很多事情。
国家队战绩辉煌:
- 发射次数蝉联世界第一(34次发射);
- 天宫二号受控离轨(20190719),我国载人航天“三步走”顺利走完第二个征程;
- 北斗三号中圆轨道全部到位(20191216发射),进入收官决胜关键阶段;
- 嫦娥四号实现人类首次月球背面着陆探测(20190103),中国航天首次将“人类”两字放到了“首次”前;
- 长征五号复飞成功(20191227),908天的含泪奔跑,用30分钟上演王者归来,还我们以莫大信心和荣耀;
- 长征十一号海射成功(20190605),中国航天喜提新型发射模式,我们的目标是星辰大海。
商业航天紧随其后:
- 蓝箭航天80吨级天鹊TQ-12发动机满载长程试车(20190719),矢志成为民营液体运载火箭技术路线的领跑者;
- 星际荣耀双曲线一号实现民营航天首次入轨(20190725),一举打破中国商业航天能否入轨的疑问,给市场以信心。
国际航天话少事大:
- 阿波罗十一号登月50周年纪念(20190719),人类致敬永不磨灭的探索精神;
- SpaceX公司B1048四手火箭(20191111)成功飞行和整流罩首次成功回收(20190625),运载火箭走到了从先进性转向经济性的分叉口;
- SpaceX公司42000颗星链计划宏大布局已缓缓拉开了大幕(20190524),我们迫切地想知道其技术边界及对后续世界的影响(笔者想知道,正在从头学习卫星通信知识)。
笔者就心目中的六件大事进行随笔式解读:
- 嫦娥四号---中国的崛起,中国航天比国外先进还是落后
- 长征五号---历史的进程,万众瞩目时火箭如何取得成功
- 民营入轨---远方的遥望,中国商业航天现状与未来发展
- 登月纪念---大国的斗争,苏联载人登月计划为什么失败
- 海射火箭---技术的浮沉,海射天顶火箭为什么高开低走
- 低轨星座---意味着什么?笔者正在学习,解读留给明年
嫦娥四号---中国的崛起,中国航天比国外先进还是落后

2019年1月3日,嫦娥四号探测器成功着陆在月球背面。嫦娥四号是人类历史上首次实现航天器月球背面软着陆和巡视勘察,是首次实现月球背面同地球的中继通信。

图 软着陆于月球背面的嫦娥四号着陆器
中国航天自力更生、自主创新、自强不息、顽强拼搏,取得了举世瞩目的成就。嫦娥四号在人类历史上第一次登陆月球背面,长征五号遥三运载火箭成功发射,北斗导航全球组网进入冲刺期,中国航天是中国人民的骄傲。此时此刻,有个老问题也会被拿来讨论:中国航天比国外先进还是落后?按理说成年人的世界不应该非黑即白,但显然生活中的人们更喜欢简单的答案。家里的老人会问:“中国航天比国外先进还是落后?”而且明显他们不想得到否定的回答。这时候我们会说:“中国人民是世界上最聪明、最勤劳的,我们没有理由比国外差。虽然我们底子差,但经过多年努力,去年和今年两年,我们的发射次数都是世界上最多的,而且我们的嫦娥四号是世界上第一个到月球背面的,您也知道,月球永远只有一面对着我们,它的背后,只有中国的航天器降落过。”在这里,我们没有说假话,老人也很开心。周围的同学、朋友会问:“中国航天比国外先进还是落后?”我们会说:”美国载人登月计划花了255亿美元,这还是50年前的美元。我们的嫦娥工程一期才花了14亿人民币。美国航天每年预算200多亿美元,比我们多得多,而且这还只是增量不含存量。等哪一天中国花在航天上的钱超过美国时,我们就全面领先了。”在这里,我们没有说假话,同龄的同学、朋友一听到钱,秒懂。还有在政府任职的朋友也问:“中国航天比国外先进还是落后?”我们会说:“我们正在航天大国向航天强国迈进的道路上。”我们没有说假话,政府朋友也懂了就不再问了。当然,也有愤青会说:“看现在波音那个鸟样,美国航天已经腐朽了,不要替你主子洗地。”还有另一类愤青会说:“特么美国50年前就登月了,你还在地球表面打转,落后不止50年,别在这儿替你主子洗地了”。对于这两种说法,咱不洗地,回答永远只有四个字:“您说的对!”在这里,我们应该也没有说假话,因为愤青心中自己绝对是对的。你也许会问:你不是一向强调“文不可无观点”吗?怎么在这个问题上如此墙头草呢?限于保密,此处不进行国内外航天具体技术的详细比较,但都说“一切历史都是当代史”,我们就找找历史上的事情进行类比。1894年,美国的GDP超过英国。这段时间,美国充分利用了其后发优势,直接引进和利用英国等先行工业化国家的技术和人才等,在GDP、高等教育规模等方面已超过欧洲的科学先进国家,在应用科学与技术方面也赶上世界先进水平,但基础科学仍落后于欧洲先进国家。1851-1900年间重大的科学技术成就,德国有202项,英国106项,法国75项,美国33项。美国在这一时期内虽已成为世界上最强大的工业国,科学水平却落后于德、英、法三国。而且,在经济高速发展的同时,整个社会结构处于转型期,社会财富差距的急剧扩大导致严重的社会问题和社会不公现象。马克.吐温在其小说中,将1865年南北战争结束到20世纪初的这段时间成为"镀金时代”。中国航天从筚路蓝缕中一路走来,一直都在解决有无问题。历史从未像今天一样,有那么多款火箭型号在同时研发。“仓廪实则知礼节,衣食足则知荣辱”。解决有无问题后,一款新的火箭必须有新的技术,否则它就失去了立项研制的正当合法性。日本科学史学家汤浅光朝提出当一个国家的科学成果数量占世界科学成果总量的25%,就可以称之为世界科学中心,并依此将历史上的世界科学中心转移分为5个阶段:意大利(1540-1610年)、英国(1660-1730年)、法国(1770-1830年)、德国(1810-1920年)、美国(1920年之后),维持时间从60~110年不等,平均维持时间为80年。我们正处于这个时代。

图 世界科学中心的转移正如镀金时代衍生出了进步时代(1898-1920),美国成为世界上发展最快、技术最先进的国家。CZ-5号之后,中国航天也期待迎来属于我们的进步时代。届时中国航天比国外先进还是落后?
长征五号---历史的进程,万众瞩目时火箭如何取得成功

2019年12月27日,历经2017年7月发射失利的长征五号遥三运载火箭,在中国文昌航天发射场点火升空,任务取得圆满成功,为后续开展载人空间站建设、探月工程嫦娥五号任务及首次火星探测任务打下了坚实基础,是我国航天强国建设进程中具有重要历史意义的事件。

图 长征五号遥三运载火箭发射瞬间
在中美贸易战如火如荼的当下,人民急需此类精神提升士气。所以CZ-5发射成功举国欢腾,犹如女排夺冠举国欢腾。CZ-5一箭定乾坤,在Y3之前,你认为它会成功还是失败?这个问题太难回答了。运载火箭是个复杂的巨系统,没有一个人能事先预测它能不能成功。在现实的无力感面前,人类会诉诸宗教或仪式(《“迷信”还是敬畏?——细数美俄航天发射史上的奇葩仪式》),人性不以处在什么时代,也不以是否高科技而转移。所以在航天发射前,人们会把硬币放在铁轨上,让火车压扁后,拿起作为幸运符;在发射升空前一天,由一位东正教牧师通过向航天员们喷洒圣水为他们祝福;对着运送至发射台的汽车轮胎撒尿等等。但CZ-5发射前,大家都知道它失利的可能性很小。不知大家是否有疑惑,人类所有运载火箭发射成功率大约96-97%,但很少有载人火箭发射失败的报道。譬如我国CZ-2F运载火箭成功率100%,联盟-FG载人火箭发射60发,仅去年1发失利且宇航员顺利逃逸,成功率98.3%,但与之相近的联盟-U火箭发射776发失败23发,成功率97%。(https://space.skyrocket.de/doc_lau_det/soyuz-u.htm)火箭状态基本相近,但载人火箭成功率就是高,这是因为什么呢?因为重视,因为资源的倾斜。
天龙八部黄眉僧受托救段誉:
黄眉僧道:......你猜老僧到了七十岁后,两只脚的足趾,是奇数呢,还是偶数?”青袍客......说道:“是偶数。”黄眉僧道:“错了,是奇数。”......只见黄眉僧提起兵器挥击下去,喀的一声轻响,将自己右足小趾斩了下来......笑道:“老僧今年六十九岁,到得七十岁时,我的足趾是奇数。”
可以类比“天龙八部”中黄眉僧的故事,火箭能否成功,只要付出努力和心血,很多看起来不可能的事情是可以做到的。
- 所以在土星五号正式飞行之前,会安排一遍遍的各种状态飞行,直至无人飞行演练;
- 所以在长征五号Y3飞行之前,会安排一遍遍的试车,和大量的改进;
- 所以在长征运载火箭发射任务之前,会安排一遍遍的复查,以及状态确认。
这一切,取决于任务的重要性。而任务的重要性、任务的成功、任务所耗费的资源三者之间有着密切的相关性。也许你会问,你说CZ-5 Y3不成的可能性很小,那么中国航天报《长五YF-77归零:走出至暗时刻》的一篇报道怎么解释?
4月4日,清明节前一天,晚上10点半,王维彬接到一个电话,报告说氧涡轮泵有故障征兆。有年轻设计师捕捉到了这个“异常”。这好比换了一个更高倍率的放大镜,让原来看不到的隐患显形了。
如果没有这个年轻设计师,CZ-5是不是有可能会失败?这个年轻设计师是不是英雄?是不是他拯救了中国航天?你说的是历史的必然,但不可否认,正是偶然的存在,历史才能这么有趣。在火箭领域,一个问题要酿成后果,那这个问题就像在球场上的神奇前锋,它需要过掉所有队员,包括过掉守门员,然后才能攻下球门。而中间,只要任何一个球员出脚挡一下,就会将这个球截下来。这就是系统工程和体系存在的意义。体系会布置一道道防线,会安排很多人拿着放大镜去找,会安排多个层级去找。A找不到,会有B找到;B找不到,也会有C找到。在宣传口径里,就形成了A或B或C的高光时刻,他们借助体系而闪光。如果因为找不到问题而失败,那从某些方面代表了体系的缺失。就像足球丢球,如果就事论事,仅仅定位到具体哪个人的过错,那么离下次丢球也就不远了。这也是系统工程的内涵。既然有了层层布防的体系,那历史是由英雄创造的还是群众创造的呢?这个问题的回答,并不比妈妈和老婆掉进水里先救谁容易。
如果是英雄创造的,那每一位航天从业人员的意义何在?如果是群众创造的,为什么我们每天的工作都那么的重复?甚至有时候找不到工作的意义,很难提起激情?笔者的回答是:历史是由群众创造的,但是英雄加速了历史的进程。如果没有群众,英雄的想法无法落实只能是纸上谈兵无法落地;如果只有群众,历史将很长一段时间都在同一水平重复或缓慢地迭代。英雄能敏锐地识别和处理具体问题所在,以及体系关键所在,从而大大地加速历史的进程。因此,钱学森是英雄,马斯克是英雄,没有他们,中国航天依旧会辉煌,商业航天终究会成功,但成功不会来的像今天这么快。我们都是群众,我们用自己的努力,《含泪奔跑,用我数载芳华换它闪耀升空》。

图 看到报道后笔者第一时间给日志作者点赞除了努力辛苦,我们也有自己的人生目标:丰富和提升自己,成为体系内的英雄,乃至创造体系的英雄。
体系内的英雄就是指对自己的领域足够熟悉,将知识变成常识,培养出对问题的敏锐性,出现问题时能第一时间发现,而不是成为总是让B或C去补位的A。而创造体系的英雄就是指进一步锤炼自己的常识,将之上升到认知层面。从知识上升到常识,从常识上升到方法,从而可以具备对事、对人后续发展的预判能力,这时候就可以在所有领域游刃有余了。当然,创造体系不是说人人都成为钱学森、马斯克一样的巨擘。体系无处不在,不人云亦云,从第一性原理找到新环境下的新方法、新流程也是创造小体系。体系内这样的群众越来越多,才能加快历史的进程,才能打造真正的航天强国。民营入轨---远方的遥望,中国商业航天现状与未来发展

2019年7月25日,北京星际荣耀空间科技有限公司的双曲线一号遥一运载火箭在中国酒泉卫星发射中心成功发射,实现了中国民营运载火箭入轨零的突破。

图 双曲线一号运载火箭成功发射
前面说过:任务的成功、任务的重要性、任务所耗费的资源三者之间有着密切的相关性。对于国内商业航天而言,所能拥有的资源与国家队不可能同日而语,和美国也不能同日而语。我们在人才、基础、群众基础上均有较大差距。
一是美国的分包商机制,人才流通机制无碍。而在中国,火箭领域顶级人才很少,只有极少数几个在新一代运载火箭研制过程中冲杀过来的第一线员工(而且大多数集中在总体设计部,这里不是说分系统没有人才,而是分系统相对而言很难有大把机会见识、经受、解决和体验火箭各项事物间的广泛联系,人才更需要历练)。对此广大商业航天公司应有清晰认识,但毋庸置疑地说,笔者有幸认识的、所尊敬的、公认为优秀的几个人,几乎均未被挖走过。另外有凤毛麟角的一两位被挖后,本想一展身手,但却陷于人事纷争,干的未必痛快,如何全情奉献自己的才智。
二是美国二战和冷战时期形成的过剩产能,需寻求释放渠道。美国军工评论家甘斯勒1995年在《国防转轨》一书中称:在第二次世界大战期间,美军工企业开足马力,为盟国生产了296000架飞机、1201艘舰船、65546艘登陆艇和86333辆坦克。后又经美苏军备竞赛驱动,在长达40年的冷战时代,美国军工基础实际上始终处于战时状态。它是一个庞大复杂的体系,国防部每年都要为之耗资上千亿美元,以维持每年大约1500万个独立合同项目,平均每天约4万多项。就像红楼梦中刘姥姥一进大观园时对凤姐说的:您老拔根寒毛比我们的腰还粗呢?
三是群众基础。美国经过多年工业化,以及经历过阿波罗计划那个激动人心的时代,航天已经根植国人的内心。研制的研制、投资的投资、消费的消费,形成了一个完整的产业链条。而在中国,航天工业基础链条尚未最终形成。
- 研制方,创业的很多是业内人,或出于自我实现的需要,或出于离开体制的需求,或基于赚一把就走的想法。商业航天后面的路还很漫长,若没有热爱,就不能在痛苦中奋斗、在绝境中坚持,直至成功;
- 投资方,鲜有基于情怀来投资航天,没有真正的情怀,就不能长期投资、不能逆形势投资,容易上就一窝蜂、撤就一撒腿;
- 消费方,没有航天情怀,不愿意在航天上消费,如航天旅游,产业做不大,那国家队和商业航天,到最后就只能是零和博弈。
不过,前途是光明的。中国航天刚刚经历繁华,也逐渐走入国人内心,那一次次载人飞行,那一次次探测器绕月登月,那一次次新一代首飞,以及CZ-5 Y3飞行,相信有很多小朋友是在父母的陪伴下看完了直播,也在他们心中深深地种下了航天的种子,并等待着最终的开花结果。笔者曾去贵州的天眼FAST,也感触颇深。看天眼需从山脚爬到山顶,年轻人爬起来都累,但沿途很多父母,抱着或背着小孩来看,一路上还在讲天空和天眼。中国航天的未来绝对可期,因为,现在的这代人,在他们很小的时候,他们的父母已经在心中深深地值下了航天的种子,不是通过“好好学习”、“学好数理化”的说教,而是亲身的感受。

图 天眼FAST下山楼梯阶梯
在技术上,由于商业航天资源受限,其发展路径注定与国家队不一样:一是留取更大余量,以减小敏感度;二是发展路径不同。

图 商业航天技术发展的两种路径
如果考虑可靠性、经济性两个维度,画出一个坐标系。
图中横坐标代表可靠性,纵坐标代表经济性,传统航天极度追求可靠性,处于红色圆圈位置,而民营公司目前处于绿色圆圈位置。
两者的优化目标均是将可靠性和经济性的前缘向前推进。但在实施路径上,国家队将沿着红色虚线的前缘前进,而民营公司只能通过绿色虚线,快速直达前缘。
如何做到?需寻找到新技术的应用。
火箭的特点为静若处子、动若脱兔。当火箭安静地躺在厂房时,那么温柔,轻动脚步就可以抚摸它的全身;当它树立到塔架时,已略显不逊之势,必须仰视方可一窥全貌;与推进剂结合后,就再也按捺不住狂野气息,也曾一时爆裂让涅杰林元帅等100多人陪葬;而点火之后,其狂躁之气顷刻释放,什么也无法阻挡。这也是为什么卫星易研制、火箭难研制的最大原因。
这也导致火箭研制中最重要的词:测试覆盖性。地面怎么覆盖天上?怎么由静反映出动的状态?怎么在未点火时验证点火下的状态?这是火箭人难以绕过的困境,是终身与之拼搏的拦路虎。为此发展出了很多方法,如发动机抽检试车、校验试车、各种振动试验、噪声试验、热环境试验、电磁兼容试验等等,当然还有它们各种各样的组合,总之是花样百出,层出不穷,没有条件创造条件也要试验,耗资巨大,效果大大的、但谈不上杠杠的。
以SpaceX为例,SpaceX有钱吗?看和谁比,比我们每个人都有钱,但比起波音洛马,屌丝的很,做这些试验铁定要它的命,所以只能采用革命性的方式:点火中验证。Falcon用三种方式做到了点火中验证。
方式一:地面静态点火。与发动机单机批抽检试车的旁证,以及发动机单机的校验试车,地面静态点火考核系统更多,考核更为充分,而且耗资不算大,因为发射台是现成的,火箭是现成的,都不需要额外配套。地面静态点火需要什么条件呢?一是设计上,启动、关机不能是一次性的,否则就只能做批抽检试车;其次是推进剂需无毒、无污染、不结焦,否则后续无法处理;三是发动机故障检测系统必须足够强大,因为与发射台爆炸相比,也许还不如炸在天上。得益于Merlin发动机,它完全具备这三个条件。
方式二:真实飞行中验证。静态点火时毕竟卡在试车台,姿控、制导系统考核不到,振动也无法传递到机架上方,还是不够完美。除非直接在飞行中验证,Falcon重型首飞就是个最大的飞行中验证试验。那么飞行中验证试验需要什么条件呢?以下方式都可以。一是飞行搭载试验,如验证新的惯性器件,可通过搭载取得遥测数据并改进,最终取代原惯性器件;第二种是作为扩展任务,即主任务完成后的再进行进一步试验,譬如Falcon9的反推返回,就是在主任务完成后开展,前几次均取得了失败,但这样的失败是可以承受的,以此换来宝贵的试验数据。试想,如果不是扩展任务而是正式任务,失败4次,换哪家公司早都干不下去了。有幸的是,Merlin发动机为此种方式提供了良好支撑。
方法三:返回后验证。航天有一个特点,火箭和卫星上天后,已经无法对原产品状态进行回溯,在发现问题或潜在可靠性问题时,仅靠少量遥测数据根本无法对问题做全盘的分析,因此更依赖于在地面时,就把数据记录完善。因此从这个角度,Falcon9火箭的返回技术的重要性可能仍被低估,因为Falcon9返回的不仅仅是火箭一子级,更是宝贵的、以往无法全盘获取的数据!利用这些数据,一定可把火箭97%的可靠性提高1到2个百分点。
这就是笔者心目中的商业航天,来自诗和远方的遥望,诗表明很美,远方表示要去走。因为“伟大事业都始于梦想、基于创新、成于实干”。
来自诗和远方的遥望—中国商业航天(火箭)的探索
1. 美国商业航天60年进阶路
1.1 政府的努力
1.2 NASA的扶持
1.3 艰难的探索
1.4 SpaceX的崛起
1.5 蓝色起源的追赶
2. 美国商业航天发展分析和启示
2.1 源于政府,兴于NASA,盛于SpaceX
2.2 广泛的群众基础,最终爆发于企业家
2.3 商业航天塑造了不同的价值取向,带来技术路线的分裂和重生
2.4 商业航天是优质资产的重组,需做好与传统航天的平衡
2.5 商业航天的逐利性,终会走向To C目标
3. 中国商业航天路
3.1 国内商业火箭公司概况
3.2 国内商业火箭公司融资情况
3.3 国内商业火箭公司大事记
4. 中国商业航天发展分析
4.1 军民融合是大势所趋,商业航天是排头兵
4.2 商业航天概念业已深入人心
4.3 当前融资支撑一款火箭研发困难重重
4.4 商业航天赢利模式尚不清晰
4.5 中国商业航天仍处在初级阶段
5. 中国商业航天五问
5.1 商业航天市场是否真的存在?
5.2 会否出台倾向性政策?
5.3 大潮褪去是否是在裸泳?
5.4 成本是否如预期的那么低?
5.5 中国离SpaceX还有多远?
6. 对航天从业者的建议
登月纪念---大国的斗争,苏联载人登月计划为什么失败

2019年7月是阿波罗11号载人登月50周年纪念,其间美苏载人登月竞赛,留下了无数的唏嘘和感叹。2019年,笔者通过调研,期望能总结其历史教训。

图 苏联用于载人登月的N-1火箭
对于苏联在登月竞赛中的失败,大家无不饱含着遗憾。有人认为,在早期空间探测计划取得很多突破后,如果组织得当,苏联应当能第一个达到月球。
米申对失败的解释包括:资源远逊于美国,设计局之间内斗,决策的反复,为了省钱而不做全面的地面试验,以及科罗廖夫在关键时刻的离世。其中尤其是错误地为了省钱而不做全面的地面试验一条,取得了大家的一致认同。
这些都对,但不是都说对历史要抱有温情与敬意,能不能换个视角来看待这个问题?笔者尝试着将自己代入当时的背景进行分析。
苏联地缘劣势带来的政治经济困局
+
二战后,苏联拥有全世界最大的陆军、最多的坦克与最多的炮兵,但美国的一颗原*弹子**就逆转了这个局势。美国可以从西欧部署中程弹道导弹轰炸苏联,还可以用B-29、B-36,以及后来的B-52从本土轰炸苏联。
苏联不具备这个能力,1962年古巴导弹危机以撤回中程导弹告终,战略轰炸机不给力,而且被认为无法透过美国的防空网。在此背景下,赫鲁晓夫下令所有的设计局都必须研究导弹,否则就要裁撤,最后大导弹主义主宰了苏联军工业的发展,这是造成各设计局之间的竞争,以及战略目标的极其不坚定的根本原因。
N-1火箭在任何时候,都需要宣称它的军事用途,如科罗廖夫包装了17枚百万吨级*弹核**头攻击美国本土,以及发射作战空间站等用途。1962年9月24日,苏共中央和部长会议批准了N-1火箭和GR-1(全球导弹)研制,但由于经费、NK-9发动机进度等,也许还包括R-7导弹以来军方对液氧、煤油的无感,1964年科罗廖夫的GR-1方案被取消,代之以杨格尔的SS-9。GR-1项目的丢失使科罗廖夫丢失了为N-1火箭进行测试的平台(没有大项目就没有钱)。
那么登月选切洛梅的UR-700可好?常规推进剂,威力惊人,而且大家都说UR-700发动机数量少,且有高成功的UR-500(质子号)案例,成功可能性更高。但现实很骨感,UR-500(质子号)火箭成功率并不高。1961年10月苏联在新地岛投掷了5800万吨级的“大伊万”,也称沙皇*弹炸**后,为解决投掷问题,切洛梅和他的OKB-52设计局设计和制造了质子号。切洛梅不喜欢匆忙行事,对火箭的设计进行了严格的地面试验。这种努力得到了回报,首飞成功,第一轮4次发射成功3次,但它的发展道路并不是一帆风顺的,早期的辉煌未能保持,前29次发射中有14次失败,并损失了多颗月球和火星探测器。
此外,切洛梅的OKB-52设计局隶属航空工业部,是国防工业部(后来两者都转到通用机器制造部)的外来户,在军方的人缘不佳。军方人士曾不怀好意地嘲笑说:杨格尔在为我们工作,科罗廖夫在为塔斯社工作,而切洛梅在为抽水马桶工作。切洛梅的保护人是赫鲁晓夫,由于他航空工业出身,具备大量组织量产能力,深得赫鲁晓夫喜欢,其次赫鲁晓夫的儿子谢尔盖.赫鲁晓夫毕业后一直在切洛梅的OKB-52设计局工作,由他穿针引线,经常在父亲面前说切洛梅的好话,也不无关系。但这种只走上层路线,与实权派搞不好关系,在1964年10月赫鲁晓夫被赶下台后,被乌斯季诺夫和科罗廖夫排挤就是理所当然的事了。终于,在1965年10月,科罗廖夫把绕月飞船从切洛梅领导的设计局接过来了,也把切洛梅挤出了绕月计划。但科罗廖夫也不能完全把切洛梅排挤出去,因为政府决定继续使用UR-500,即质子号火箭。科罗廖夫说服政府把N-1火箭正在采用的D段上面级用在质子号火箭上。
这里,科罗廖夫抢名誉吗?也许是抢资源吧!由于载人绕月项目采用了与登月项目一样的D段上面级以及相关联的成员舱,苏联的探月计划终于取得了一些规模经济效益。但留给科罗廖夫的时间已经不多了,美国人没给他时间,上帝更没给他时间。
科罗廖夫为了让他的N-1火箭飞起来,总是在跟时间打仗,争取政府部门财政支持。科罗廖夫设想,如果他有幸成功地发射一枚N-1火箭,就可以从他的政治领导人那里得到所需的资源,让计划结出果子来。但没有首飞成功就没有钱,没有钱就难有首飞成功,这也许就是科罗廖夫的宿命,N-1就是他生命中最大的一场豪赌。遗憾的是,1966年1月科罗廖夫死于手术台,上帝提前清场了。
前苏联综合国力不足且资源分散重复
+
米申抱怨资金不足,缺乏财务控制,力量在多个设计局之间分散了,有26个政府部门、500多个企业参与,管理糟糕。投资只有29亿卢布,折合45亿美元,而美国人在阿波罗工程上的投资是240亿美元。
苏联综合国力仅为美国的一半,可用在登月上的投入不可能赶上美国。纵观整个月球竞赛期间,苏联的GNP(国民生产总值)大约是美国的一半。1957年,美国的GNP是4500亿美元,苏联是2100亿美元,只是前者的46.6%。1969年,即登月那年,美国GNP是9300亿美元,苏联是4070亿美元,是前者的43.7%。即使苏联在空间事业上的投入占国民生产总值比例更大,仍然会远远小于美国的投资总量。美国人估计苏联在空间事业的高峰年(1966~1970年),投资总量占国民生产总值的1.25%。中央情报局估计苏联的投资从1962年的10亿美元上升到1966年的50亿美元,在月球竞赛的高峰年稳定在55亿美元左右。其中,N-1火箭计划占了大约20%,即48亿美元(相当接近米申的数字)。
如果苏联人较小的财力能得到非常仔细的使用,那么较低的投资率也就不一定会成为一个压倒性的问题。在苏联空间计划早期,苏联通过对有限资源的精心配制,就可以取得举世瞩目的成就。但是,苏联从20世纪60年代初开始挥霍有限的资源。1964年的决议批准了不是一个而是两个探月项目,即N-1和切洛梅的UR-500K。实际上更糟糕的是,到了60年代中期,苏联不仅在运行两个探月项目,而且还有空间站、航天飞机和其它*用军**项目,同时开展的载人航天项目不少于7个。在不同的设计局研制这么多的项目,很少能达到规模经济的要求。在航天领域的精力分散和重复,使得苏联根本无力承担。
肯尼迪总统在1964你曾经这么说:只要竞争维持在火箭和当时存在的硬件的水平上,莫斯科会赢。但是竞争到土星V号、阿波罗和N-1这种程度时,竞赛实际上是在考验两个超级大国在认真努力的事业上投入大笔资金的能力。早在1961年《新闻周刊》把太空竞赛比作西北太平洋Kwakiutl部落的冬节仪式,他们将最值钱的东西往火里扔。但是,这个月球冬节正是这个国家所需要的,也正是它所得到的。
按另一位专家的话说:美国人花了150亿美元建立了一个试验基地,我们只花了10亿美元。苏联没有能够到达月球,因为他们想便宜地到达月球。
盘根错节的管理体系和设计局之间的内斗倾轧
+
1957年10月4日,苏联发射第一颗人造卫星后,美国举国震动。作为应对,总统艾森豪威尔要求海军发射卫星,但屡次失败。经过调查,艾森豪威尔发现了问题的根本症结。美国不是没有很好的科学基础,也不是技不如人,而是航天资源太分散,缺乏统一的组织与管理。当时,全美国做航天研究的单位非常多,却彼此独立。比如,美国陆军俘获了德国纳粹火箭专家冯·布劳恩后,自认为自己最应该搞火箭,却得不到信任;而美国海军虽然也在研发火箭,但却缺乏关键技术与人才,只能硬着头皮发射火箭,发射影响美国人心理健康的"哑弹"。此外,还有各种名目的航天实验室、导弹兵工厂、发动机公司、飞机公司、大学研究所、个人团体等,都在做重复而无统一性的工作。这样的"百家争鸣""百花齐放",肯定无法与苏联*制专**调配下的航天工业抗衡。
1958年7月29日,艾森豪威尔总统签署了《国家航空航天法案》,以法律的形式确定了太空研究的计划、方向和目标。10月1日,艾森豪威尔宣布成立"美国宇航局(National Aeronautics and Space Administration,简称NASA,直接听命于总统,向总统汇报。在艾森豪威尔和第一任局长格伦楠的强力干预下,美国陆海空三军跟航天相关的单位,比如海军研究实验室、陆军弹道导弹局、空*火军**箭发动机研究所等机构的航天部门,均被划归美国宇航局,同时,格伦楠还拿到了喷气推进实验室的控制权,逐步构建了今日美国宇航局的雏形。
NASA是一个独立的机构,相当于部级单位,和国防部、教育部等平行,它的局长由总统直接任免,直接听命于总统。这种政策保证了局长和总统的统一性,保证许多或有远见或愚蠢至极的计划都能偏执地执行下去。
疑惑是种背叛,使我们遇事畏缩,输掉本可赢得的好与善。
---莎士比亚
对比苏联,项目审批要经过多道环节层层把关,缺乏有效的统筹机构。在项目实施过程中,研究单位内部要经过设计局科技苏维埃的讨论,在外部还要经受总设计师委员会和国家专家委员会的审核。总设计师委员会无疑提供了总设计师之间矛盾公开化的机会,于是“有仇的可以*仇报**,有冤的可以申冤”。如果设计师们之间能够更加团结,能有完整的长期规划,苏联的宇航成就恐怕还要更辉煌。
设计局之间内斗倾轧。乌斯季诺夫和科罗廖夫关系不错,军方喜欢杨格尔,赫鲁晓夫喜欢切洛梅。各设计局相互明争暗斗,绕月、登月计划可以一调再调,1964年8月3日,《关于探索月球和外层空间有关工作》决议,科罗廖夫的OKB-1设计局争取在1968年用N-1火箭把人送上月球;切洛梅的OKB-52设计局争取1967年实现载人绕月飞行。1966年9月,苏联34位最具权威的专家受邀组成专家委员会,重审登月计划,决定N-1火箭和UR-700火箭的去留,一次性解决内部竞争问题,委员会报告确定N-1火箭胜出。但1967年7月21日切洛梅的UR-700蓝图获得签署(也许科罗廖夫还在的话会没有这事吧?),同年11月17日获得了苏共和政府的批准(1070-363号决议),这距批准N-1火箭作为登月火箭已三年了。苏联的月球计划充满着、无序、浪费和混乱。
美国的目标就是一个---登月,苏联却分成了两个任务目标,分别给了两个不同的设计局,这是一种政治上的妥协,要造出两种不同的硬件,如果苏联的资源比美国丰富得多,还说得过去,然而情况却恰恰相反。
表 三种登月火箭参数对比
N-1
R-56
UR-700
设计者
科罗廖夫
杨格尔
切洛梅
设计局
OKB-1
OKB-586
OKB-52
奔月方法
月球轨道交会
月球轨道交会
直接降落
高度
105米
68米
74米
起飞重量
2750吨
1421吨
3400吨
登月飞船
33吨
30吨
50吨
一级发动机
NK-15
RD-270
RD-270
注:在登月火箭上,杨格尔的R-56火箭没有成为主要竞争者。有些人认为,杨格尔看到了内部竞争对苏联航天工业造成的伤害,因而不愿提出第三个方案来加剧资源的分化。

图 N-1、UR-700对比图
一般印象中,苏联的空间计划是中央集权,美国是分散和竞争的方式进行的,事实正好相反。美国联邦政府在公用工程上的主导作用由来已久,如巴拿马运河、胡佛水坝、曼哈顿工程、以及“母亲之路”66号公路等。在美国,互相竞争的公司提出方案进行投标,但只有一家公司中标,开发项目并制造硬件(称为主承包商)。反观苏联,一直有2家设计局在竞争探月项目,无论是设计还是制造。各个设计局不择手段地谋求*党**和政府中同盟者的支持。不仅如此,敌对的派别总是试图让决策者改变对自身不利的决定,并使自己的项目得以保留,如UR-700项目的决策过程中就翻了好几次烧饼,在它被否决之后,又多次拿回到议事日程中,这种竞争对手之间的内耗,对项目进展产生巨大的负面作用。
苏联没有从人类征服太空的角度去认知载人登月
+
1957年10月4日,苏联发射第一颗人造卫星后,美国举国震动。美国总统艾森豪威尔1958年4月向国会宣讲的咨文,酝酿成立美国宇航局,以达到:
- 提高人类对地球和宇宙的认识;
- 改进飞机的用途、性能、安全性和效率;
- 发展能携带*器武**、设备和生物进入宇宙的飞行器;
- 保持美国在航空航天领域的领先地位;
- 向政府提供有军事价值或军事意义的研究成果;
- 与其它国家合作,从事空间研究成果的和平利用;
- 最有效地利用美国的工程力量,避免重复建设。
咨文中首要目的是“提高人类对地球和宇宙的认识”。现在,美国宇航局公之于众的职责,是几行简洁的诗样文字:
美国宇航局执着于探索
美国宇航局专注于发现
美国宇航局努力寻找问题的答案
为了这个目标,遍布世界数以万计的人,已经用60年的探索,试图给出一些基本问题的答案:宇宙深处有什么,我们怎样才能到那,在这探索中我们怎样才能使我们的生活更美好。
正如《2018观点总结:SpaceX民营火箭都上天了,做火箭难不难?》所说:美国军方搁置了F-1发动机研制,1958年NASA成立后,他们需要这样的发动机!洛克达因一些工程师们提到这段往事:“NASA的人找到了我们,说是很中意我们的发动机。我在想,天哪,美国空军抛弃了我们两次,这次又轮到新成立的NASA了吧。不过,他们的人看起来很真诚,而且仿佛不太关心地球上的事情,对洲际导弹的项目也不感兴趣。我们觉得他们应该是要把我们的发动机用在地球之外的事情上。这让我们感到很兴奋。”
因此,对于苏联来说,在人造卫星、加加林的突破固然很好,吹牛涨面子,但吹牛只有当时和事后的快感,没有生存的压力或理想信念的支持,很难为吹牛开展持久的提前布局。在上世纪60年代的苏联眼中,只有导弹,其它的都是可以商量的。国防部长安德烈.格列奇科(1967-1976任国防部长)甚至说:我不给你人,也不给你钱,我不想和政府一样助你们有钱花在无用处的风气,总之我反对登月计划。
一个浪漫主义总统赋予了美国航天黄金十年
+
1957年艾森豪威尔总统任内苏联发射第一颗人造卫星后,他组建了一个名为“关于载人航天的特别委员会”评估登月所需费用,委员会估计需要投入250亿~580亿美元。艾森豪威尔震惊了,着手削减NASA预算,取消了除“水星”计划外的所有载人航天项目。
1961年4月12日加加林上天后,下一任总统肯尼迪会见了他的顾问们,他听到他们嘴里嘀咕“我们可能再也追不上了”,浪漫主义总统肯尼迪说:我们能干什么?我们能在他们之前绕月飞行吗?能不能在他们之前把人放上月球?
NASA的德赖登副局长解释他们的一个希望是类似曼哈顿工程的一鸣惊人的计划,但这将耗资400亿美元,得胜的概率不超过50%。肯尼迪说:经费瞧我的。
没过几天肯尼迪会见了林登.约翰逊,发给他一个备忘录:是否有机会放个实验室到太空来击败苏联?或者作一次绕月飞行,或者发射一枚火箭到月球,或者进行一次载人的登月飞行再返回地球?有没有其他我们能赢的机会带来惊人结果的太空计划?
约翰逊的回答主要集中在政治层面,“苏联通过令人印象深刻的太空技术成就使其在世界上的威望超过了美国。。。炫目的太空成就越来越被人们认为是领导世界的主要标志”。
1962年,肯尼迪在休斯顿赖斯大学以阿波罗为主题做了演讲:
不管我们参加与否,人类对宇宙的探索将不断向前,这是有史以来最大的冒险之一,在这个争夺太空的竞争落在后面是不可能成为其他国家的领导者的。
全球的目光现在都注视着太空,注视着月球,注视着行星以外遥远的太空。我们发誓,我们不会看到它插着敌方政府的旗帜,而是自由与和平的旗帜。
我们在这新的海洋里扬帆,因为能获得新的知识,赢得新的权利,这些新的知识和权利必须为所有人的进步所赢得、所使用。
但是有人会问:为什么到月球去?为什么选它为目标?他们完全可以问:为什么要攀登最高的山?为什么35年前要飞跃大西洋?赖斯队为什么要与德克萨斯队比赛?
我们选择到月球去!我们选择了这十年到月球去并且干其他事,并不是因为它容易,而是因为它艰难。因为这个目标可以组织起和度量我们最好的力量与技术。因为这个挑战是我们愿意接受的,使我们不愿意推迟的挑战,是我们要赢的挑战。
事情总在变化,1962年古巴导弹危机后,苏联开始谋求与美国共同主宰世界,在1963年签订“部分禁止核试验条约”后,美苏关系有所缓和,阿波罗计划面临了短暂的论战。一些领导谴责它代价抬高,并对其价值提出质疑。国会后来将NASA的预算削减了5亿美元。1963年11月22日肯尼迪被*杀暗**后,论战就平息了,登月成为政治上极其神圣的目标,因为它成了这位殉难领袖的纪念碑。同时经济的腾飞,促成了登月计划的进行,NASA的预算从1962年的12亿美元跃至1966年的59亿美元,各承包商共计雇员41万人,单NASA就有3.6万人,全国靠此太空计划为生的人数超过100万。
类比苏联,上世纪60年代,尤其是1966年,科罗廖夫病逝,能整合资源的人没了,赫鲁晓夫下台,好不容易形成的平衡关系被打破,各设计局又炒起了新一轮的冷饭。
历史某些时候总是有些巧合,正如《大秦帝国》尾记中作者所描述,秦国从秦孝公起,巧遇六代明君,不懈努力才统一中国。而之后,如果秦始皇不死在沙丘,或者李斯不变节,或者王贲不死,秦国或许将是另一个景况了。也许这就是国运吧。
美国载人登月的胜利是系统工程和地面试验的胜利
+
N-1火箭只是载人登月的关键,还远不是全部,正如土星V火箭不是阿波罗计划的全部,美国人为登月飞行准备了4项辅助计划是:
- 徘徊者号探测器计划(1961—1965年):主要目的是为了研究整个月球的外观,测量月球附近的辐射和星际等离子体等,评估月球环境对载人飞船着陆任务的影响,以便为阿波罗登月作准备。前5次均失败,第6次部分成功(着陆成功但未获得月球照片),后3次取得完全成功,在不同的月球轨道上拍摄月球表面状况的照片1.8万张,以了解飞船在月面着陆的可能性。
- 勘测者号探测器计划(1966—1968年):主要任务是进行月面软着陆试验,探测月球并为“阿波罗”号飞船载人登月选择着陆点。“勘测者”探测器落月时只能简单地执行事先设计好的降落程序,然后听天由命。从1966年5月到1968年1月共发射7个,“勘测者”系列探测器除了在落月中途失败过两次外,其余5次全部安全着陆,通过电视发回8.6万张月面照片,并探测了月球土壤的理化特性数据。
- 月球轨道环行器计划(1966—1967年):主要任务是在绕月轨道飞行时拍摄月球正面和背面的详细地形照片,绘制0.5米口径的火山口或其他细微部分的月面图,并且为“阿波罗”号载人登月飞船选择着陆点。5次发射任务均圆满成功,对40多个预选着陆区拍摄高分辨率照片,获得 1654多张小比例尺高清晰度的月面照片,据此选出约10个预计的登月点。
- 双子星座号飞船计划(1965—1966年):主要目的是试验轨道机动、交会和对接能力及让航天员在轨出舱,为“阿波罗”号飞船载人登月飞行作技术准备。“双子星座”飞船总共进行了12次飞行,其中2次无人飞行和10次载人飞行,以试验轨道机动、交会和对接能力及让航天员在轨出舱,共进行了52项试验,其中27项是实验和检验新技术,8项是医学试验,另外17项是科学实验,拍摄地*彩球**色照片1400张,为美国航天创造了数个“第一”。
与之对比,苏联在1958~1976年间,发射了近70枚月球探测器,失败率超过50%,其中N-1火箭全盘失败,与冯.布劳恩的全盘成功的记录相比令人痛心疾首。在1961至1975年间,土星I火箭的30多次发射,包括13次土星V号,除阿波罗6号外,均达到轨道或完成亚轨道任务,原因可以归纳为一个词:测试。
对所有参与者来说,阿波罗计划是极好的测试练习,它从螺母、螺栓开始:那些紧固件是用明尼苏达州德鲁斯附近梅萨比山露天铁矿内某一特定截面的铁矿砂制作的。螺栓的制作花了11道工序,产品必须经过每道工序的精心测试,合格后才交给下一道工序。合格证要发给铁矿熔炼成的铁锭、从铁锭锻造出的铁条、从铁条精炼出的钢条以及从钢棒加工出的螺栓本身。如此加工的螺栓的成本是五金店买到的螺栓的五倍,但是这是将宇航员送到月球的螺栓。
苏联人不是这么做的,密西西比的试车设施可以对整枚土星V号进行静态测试,但苏联没有那么大的试车台能容纳30台发动机的一级。用米申的话说:我们一件件单独测试,甚至想都不敢想所有30台发动机组装成完整的第一级后同时点火。
苏联有限的经济资源和糟糕的组织管理阻碍了N-1的全面地面测试,如果提前知道多台发动机集成引发的振动、声音、燃料流动和控制等问题,在N-1火箭上表现的是如此突出,科罗廖夫和米申也许就没有那么着急了。
发动机单台测试时可能都没有问题,但这不能保证总装在一起工作时不出问题。即使做了地面试验,也不能保证一定会成功,就像质子号火箭,以及阿里安V、德尔塔4H所表现的那样。不得不说,冯.布劳恩是伟大的总设计师,而且他的命也太好了,土星V号的表现太优秀了。
科罗廖夫的逝世使前苏联登月计划丧失了最后的荣光
+
在苏联航天事业的早期,科罗廖夫把苏联空间计划整合在一起的方法,以及在人员组织与公共关系的处理方面的能力非凡。如果没有科罗廖夫,N-1火箭的进展绝不可能那么快。在月球竞赛的关键时刻科罗廖夫病逝,米申本人也承认,他驾驭不了其他的设计局,而科罗廖夫却有办法做到这一点。米申说:如果科罗廖夫还活着,我们将取得更多的成就。虽然米申个人才干突出,但他缺乏科罗廖夫那种魄力、组织才华与坚忍不拔的意志,以及将其他领导者组织在一起共事的气度。格鲁什科具有可与科罗廖夫相比的雄心,但是却没有能力处理好与他的政治主人的关系,他着力于达到技术目标,而没有站在他们的角度来看待这些计划。
从美苏全面竞争过程中,即使科罗廖夫在世,也无法首先做到载人登月,但他在继首颗卫星、首个载人、首个月球探测器外,有可能第一个把航天员送入绕月轨道,有可能完成N-1的成功飞行。
海射火箭---技术的浮沉,海射天顶火箭为什么高开低走

2019年6月5日,长征十一号火箭在黄海海域成功发射,这是我国首次在海上实施运载火箭发射技术试验,开创了新的发射方式。

图 CZ-11号海上发射海射有什么意义?人类发展的本质是工具的发展,其中就包含着交通工具。交通工具在时间(速度)和空间(维度)两个方面发展,以更快地将人或物运往更多的地方。

图 不同交通工具的边界
徒步是一种最直接的交通方式,人类通过双腿,可以走到地球每个角落,走过高山,游过海洋,在空间上高于2维,但速度太慢,仅1m/s(4km/h)。因此,当1825年火车出现时,尽管与人类双腿相比,它需要铁轨,无法达到山顶,即空间上降低为1维,但由于它在时间上的拓展,能以超过10m/s(40km/h)的速度飞驶而过,因此得以迅速推广。就如京东,京东产品的丰富性、价格优势不如淘宝,但能隔日到后,很多人就愿意去下单。60年后,1885年第一辆汽车出现时,尽管速度不如火车,但很快得以风靡全球,因为与火车相比,汽车将维度提升到了2维。又是20年后,1903年莱特兄弟发明了飞机,飞机速度可以达到100m/s~1000m/s(400km/h~4000km/h),并可飞跃高山,跨过海洋,是对维度和速度的双提升,瞬间改变了世界格局,将地球变成了地球村。但飞机也有缺点,起飞和降落地点要求高,因此当火车速度提升到高铁的100m/s(400km/h)时,对大陆格局和经济形势产生了深远的影响。1942年,诞生了V-2战略导弹,定义了现代火箭。现代火箭的速度可达到了10km/s量级,同时可在三维空间中穿梭。它已经对政治、经济和社会产生了深刻的影响,通信、导航、遥感卫星已经深植于现代人的生活。当然,火箭也有缺点,之前的火箭只能起飞,无法降落,SpaceX已经将火箭返回技术提升到了常态化水平;此外火箭对起飞场地要求极高,之前只能在为数不多的专用发射场发射,我国的CZ-11海射,可将发射场地放在大洋中的任何位置。由于此两项条件,火箭将真正作用到三维空间上,从而开启未来移动互联网星座、太空旅游的大幕,后续必将改变未来世界格局和商业格局。技术会浮沉吗?当然会!在历史的长河中,技术是最重要的,不管政体如何变化,最终都是技术,也只有技术,使我们与原始人相区别,使我们与古代人相区别,让我们成为今天的我们;在迫切需要它的时候,技术也是最重要的,如不突破就无法进行下一步的工作。但偏偏在几十年这个人生尺度上,技术又显得不那么重要,或者说,它关乎人才、决心、市场、经费、竞争等,甚至于在很多偶然因素影响,技术会有着非常不同的走向。乌克兰的海射天顶号火箭曾经盛极一时,但最终高开低走,笔者十分好奇。2019年,笔者通过调研,期望能总结其历史教训。
天顶号的故乡---南方设计局
+
在多瑙河和伏尔加河的中间,第聂伯河从俄罗斯瓦尔代丘陵的沼泽地上流出,从北向南,注入黑海。从基辅流出后,河水突然有了120度大转向。18世纪,大帝叶卡捷林娜二世下令在这个转向处的两岸建城,是为叶卡捷琳诺斯拉夫,1926年改名第聂伯罗彼得罗夫斯克。

图 第聂伯河
米哈伊尔·库兹米奇·杨格尔,科罗廖夫的助手,1954年4月远走乌克兰,在第聂伯罗彼得罗夫斯克建立了第586特殊设计局,即后来名动天下的南方设计局。
杨格尔很快给出了首件作品:R-12中程导弹,北约代号SS-4。R-12为前苏联战略火箭军成立后第一个装备的导弹,也是赫鲁晓夫执意要运到古巴的导弹。
R-12一炮而红后,杨格尔及其团队再接再厉,推出了R-14(SS-5)、R-16(SS-7)、R-36(SS-9)导弹。
也许是航天这一行太过刺激,杨格尔既感受到领导人(勃列日涅夫)的亲自关心和爱护,经历了成功的喜悦,也会一遍遍在R-16爆炸造成的126人死亡的恐惧和切肤之痛中惊醒。1971年杨格尔过世,享年60岁。这位老人遍尝人间酸甜苦辣,但始终不改变的是他对技术的坚持。在研究工作之初他为坚持自己的方案同许多著名学者及设计师发生了争执(如R-36M的冷发射方案),大家都认为方案是无稽之谈,不可能成功,但杨格尔最终还是成功地实现了自己的方案。事后反对派的代表、设计师鲁加克说:“我不明白,扬格尔怎么那样不可思议,这个具有超常力量和智慧的人,为坚持科学真理竟然引起心肌梗塞,过早离开人世。”
天顶号的诞生---21世纪的火箭
+
杨格尔过世后,他的学生乌特金接手,进入了20世纪70年代,带领南方设计局达到了巅峰。既诞生了魔鬼的盾与剑,也孕育了天使的羽与翼。其间诞生的R-36M(SS-18)导弹,被北约称为“撒旦”,至今仍是投掷能力等多个记录的保持者;诞生的Zenit(天顶号)运载火箭,是20世纪,前苏联开发的最新最先进的火箭,被誉为21世纪的火箭。
N-1火箭失败后(《航天帝国被禁锢的脚步---苏联载人登月失败原因分析》),前苏联开始了新火箭的方案论证。这次,前苏联充分吸收了N-1火箭的教训,推出了史上最大推力发动机RD-170,以及型谱化设计。

图 祝融星-赫拉克勒斯号型谱
1976年,苏联政府正式批准研制Zenit火箭,分工为乌克兰的南方设计局。“天顶号”运载火箭开发主要目的有两个:一是作为“能源号”的液体燃料*绑捆**式助推器,二是加装第二级后作为独立的运载火箭使用。

图 Zenit-2和Zenit-3SL
天顶号火箭(Zenit-2)于1985年在拜科努尔完成首飞,并在能源号火箭的两次发射中,作为助推器,圆满完成了工作。
天顶号火箭拥有许多优点。459吨的起飞重量,13.9吨的运载能力,0.03的运载系数,放在今天都高居各中型火箭前列。而且天顶号的发射工序实现了完全无人化:火箭可以被机械装置自动装载到发射台上并连上必须的地面控制管线,其后在发射准备、点火或因发射任务取消而须从发射台上撤下火箭时都不需要进行手动操作,从而大大减少了因发射事故导致人员伤亡的可能性。此外,天顶号的发射台不包含会在发射时被烧毁的设备,因此在一次发射完成5小时之后,就可以再次进行发射。这些特性,使得南方设计局对天顶号极其自信,称之为21世纪的火箭。
如果没有苏联的解体,先进的设计,模块化的组合,便利的操作,天顶号一定能发扬光大。可惜没有如果。

图 Zenit-2火箭发射台
另一种选择---在海上建一座发射场
+
海上发射不是新事。
1960年,美国北极星-1潜射弹道导弹发射成功,成为美国第一代潜射弹道导弹。它既可以在水面发射,也可以由潜艇水下发射。是世界上第一个实施的海射导弹(火箭和导弹技术相通)。
1963年左右,美国海军舰艇局率先开展了一项关于海上发射场的最早研究。在一艘1.77万吨的船上,能够携带三个太空发射器。火箭竖立在船尾边缘,垂直升空,将卫星送入地球静止轨道。当船开到地球的赤道地区,与来自卡纳维拉尔角的任务相比,进入地球静止轨道将更节能、更便宜。

图 海上发射场早期研究
1966年,意大利在印度洋中建立了圣马科发射场投入使用,最初用于美国“侦察兵”火箭发射。
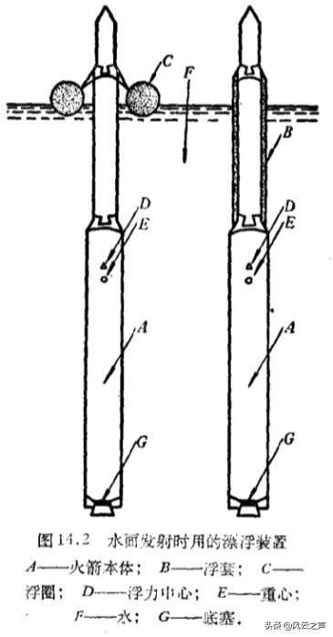
钱学森在《星际航行概论》的第十四章“星际航行进一步发展的几个问题”中提到了运载火箭的海面发射。随着运载火箭重量和体积增大,运输、塔架防护、落区等问题更加复杂,采用水面和海面发射可大部分解决这些问题。他也提出了海面发射的缺点:火箭泡在海水里密封和腐蚀的问题;液氧遇海水结冰的问题;检查和测试问题;发射时瞄准调平的问题;发射时燃气排放的问题。
钱学森认为:“从现有资料看,海面发射巨型运载火箭优点还是较多的,是一个将来发展的方向,到那时候辽阔的海面就成为通向星际空间的港口”。对了,在书中这种海射是没有发射平台,而是直接泡在水里的,

图 水面发射时用的漂浮装置
20世纪60年代,前苏联开展旋风号火箭(R-36导弹弹改箭)自动化发射程序研究,也提出了该系统的海基版本。天顶号先进的自动化发射功能也提起了人们对海射的兴趣。1977年,前苏联批准了海上部署天顶号的可行性研究。
1979年,南方设计局发布了一个名为“Plavucher”或“Floating”的报告。该文件评估了浮动发射场的可能区域以及Zenit的有效载荷能力。它还考虑了海上可能的工作流程,并估计了支持此类行动所需的最少人数。还对制导、跟踪和飞行控制问题进行了评估。
今天我们分析,天顶号,如果采用海射技术,可以达到的好处为:
1) 运载能力提高。将平台开到赤道附近,发射同步轨道卫星时无需改变轨道倾角,同时可更好利用地球自转速度,提升运载能力。对比Zenit-3SLB的拜科努尔版本和Zenit-3SL的海射版本,可将GTO能力由3.75吨提升到6.16吨(两者轨道倾角和高度可能不同,详细未分析),突破了4.5~6吨的有效载荷区间。而当时市场上,宇宙神3B达到4.5吨,德尔塔3只能达到3.81吨,大力神4A为4.5吨,除了CZ-3B火箭5.5吨,H2A204的5.7吨,大力神4B加上半人马座为5.77吨,以及阿里安5的6.9吨外,4.5~6吨简直是为海射天顶定制的黄金区间,尤其对于波音公司而言,具有极大的吸引力。看下表天顶号的任务,大多数也处在这个黄金区间。

图 海射天顶前几次发射任务
2) 大幅提高火箭发射安全性。看下图的落区,都是海洋,安全性有很好的保障。

图 海射天顶发射位置和落点
当然,采用海射也需要突破一些关键技术,而这些关键技术在《星际航行概论》中几乎都已经描述过了:如密封和腐蚀的问题;检查和测试问题;发射时瞄准调平的问题;发射时燃气排放的问题;海面大风问题等。
关于海射的优缺点、方案等,网上文章太多太多,本文不再详述。
海射天顶号---夹缝中的曙光
+
随着1991年苏联解体,加上与哈萨克斯坦的紧张关系,俄罗斯担心失去其在拜科努尔的发射场。突然间,包括空中和海上发射等解决方案引起重视。
1991年12月18日,在苏联*旗国**降到克里姆林宫上空的几天内,能源公司开始对海基发射台进行初步研究,研究对象是民用船队的各种大型船舶。1991年11月至1992年3月,能源公司研究了天顶号、能源号等适应海上发射台的可能性。
马克耶夫设计局也提出了海射方案,他们的方案是将火箭放到水里。
尽管方案很多,但在后苏联经济崩溃的情况下,俄罗斯政府几乎没有机会找到开发这些项目所需的资金。幸运的是,现在可以寻找投资了。
1993年3月,能源公司与波音公司建立了联系,提出了成立一个海射国际合资企业的想法。能源公司的官员还发现了位于维堡造船厂的奥德赛石油钻井平台,将其作为海射平台的潜在候选人。为了推广这个概念,能源公司出版了一本小册子,宣传从海上发射能源-M火箭的可能性。
1993年11月25日,在芬兰的图尔库市,能源公司、波音公司和挪威的克瓦纳造船公司签署了一份开发海基综合设施的协议。波音公司承诺将负责该项目的组织和营销方面,而克瓦内尔造船公司提供海上平台。
在评估了最适合在平台上飞行的潜在飞行器之后,Zenit火箭最终获得了无可争议的冠军。由于其无毒推进剂和高度自动化的发射前处理,它被认为最适合海洋发射台。因此,1994年2月,南方设计局加入了公司。
与对火箭的共识不同,发射平台的选择导致了一场重大的争论,显然威胁着合资企业的存在,这是第一次,但不是最后一次。当俄国人和挪威人投票赞成改造石油钻井平台时,波音公司则主张建造一艘超级油轮。最终,要求在俄罗斯港口内安装所有火箭相关硬件的条件给平台提供了优势。
1994年5月,在拜科努尔,波音公司、能源公司、南方设计局、克瓦纳造船公司签署了成立海上发射合资公司的协议备忘录。1994年11月,在挪威奥斯陆市举行的一次会议上,所有合作伙伴就综合设施的基本概念达成一致,并签署了另一份合作协议。
1995年4月,在发布了用于海上发射综合设施的Zenit-3SL火箭的概念设计后,海上发射合资公司于1995年5月5日在华盛顿州西雅图市,波音公司驻地正式成立。
- 其中波音公司出资40%,提供系统整合与总体优化和卫星平台技术;
- 能源公司出资25%,提供天顶号火箭上面级;
- 南方设计局出资15%,提供火箭一二级;
- 挪威克瓦纳集团造船公司出资20%,提供发射平台。

图 指挥船和奥德赛平台
形势看起来很好,一个型号就这么被盘活了。要创新有创新,奥德赛到处跑很拉风;要技术要技术,4.5~6吨的黄金区间;要市场有市场,波音就有自己的卫星打。
1999年,Zenit-3SL发射了3月28日,海射公司进行了第一次发射。
然而,好景不长,当时的优点,最后无一例外变成了缺点。再加上海射天顶自身较低的成功率,使得项目跌入了深渊。
技术问题---船箭协调的技术困难以及失败的打击
+
1998年6月12日,指挥船离开俄罗斯圣彼得堡,前往位于加利福尼亚长滩的永久性基地。在里面,它运载着前两艘海上运载火箭。6月20日或22日,奥德赛平台紧随其后。指挥船可以通过大西洋和巴拿马运河到达美国西海岸,而奥德赛号则必须通过苏伊士运河、印度洋和太平洋环球航行。
在旅途中,指挥船的一条水管爆裂,将水喷到天顶号的Block DM上面级,需要进行额外的测试。当船接近巴拿马运河时,人们发现海上发射没有将煤油列入美国的许可证,这些煤油是用来进行火箭推进系统测试的。结果,17吨煤油不得不卸在油轮上。
与此同时,奥德赛平台在前往美国的途中经历了自己的“冒险”。在比斯开湾的一场风暴中,平台机库中的一台起重机倒塌在火箭起竖器上。1998年7月16日至26日,俄罗斯工程师在直布罗陀港检查了损坏情况。在新加坡又进行了一次维修。最终需要50万美元和4个月来更换和修理损坏的硬件,终于在1998年10月4日到达了它在加利福尼亚的母港。
一如希腊神话中奥德修斯的海上历险,奥德赛平台名副其实。奥德修斯的漂流还能换个美满的结局,奥德赛平台经受了飓风,扛过了巨人的鱼叉,最后还是倒在了魔女喀耳克的海岛上,在海岛上喀耳克把他的一些同伴变成了猪。
在火箭发射领域,先进、使用维护便利都是0,只有成功才是这些0前面的1。尽管先进,尽管使用维护便利,但海射天顶火箭的成功率并不高。
- 2000年3月12日,海射天顶因软件错误,二级火箭阀门未能成功关闭,在飞行7min后控制失效,任务失败。
- 2004年6月29日,由于电气故障,发动机二次工作提前54秒切断,卫星靠自己的推进剂进入轨道,任务部分成功。
- 2007年1月30日,由于涡轮泵吸入异物,RD-171发动机在起飞时发生故障,爆炸造成奥德赛发射平台受损。
- 2013年2月1日,发动机推力矢量控制液压泵故障,RD-171M发动机在飞行23秒紧急关机将,飞行失利。
直至今天,共发射了36次,失败3次,部分失败1次,成功率0.889。最后一次发射为2014年5月26日。
经济问题---任务数量不够导致无法赢利
+
在海射公司开始后不久,其主要投资者发现整个公司的预计成本被严重低估(20世纪90年代末,海上发射项目的价格估计为9.5亿美元)。为了控制成本,波音公司试图巩固其在海射公司的权力,但遭到了俄罗斯和乌克兰*制抵**。项目的高成本也促使俄罗斯向世界银行寻求*款贷**,在1997年的一些争论之后,世界银行确实做出了积极的反应,提供了大约1亿美元。
运营成本上,据估计海射公司每年至少需要进行四次发射才能实现收支平衡,从发射记录看,仅2008年达到此数目,为5次。

图 海射天顶发射记录
由于2007年1月的事故以及客户流失,海射公司于2009年6月22日申请破产保护。该公司上市资产达5亿美元,负债超过10亿美元。在官方新闻稿中,海上发射公司表示,在进行重组的同时,将继续照常运作。
随后,海射公司花费几年时间重组,并将所有权置于俄罗斯的能源公司和瑞士伯尔尼的新总部下。2008年,海洋平台的任务重新开始,但在10次成功发射后,2013年1月31日,又一架天顶号在升空后不久坠入海洋。据称能源公司的领导层要求俄罗斯政府接管陷入困境的海上发射计划,据《Izvestiya daily》报道,2013年1月15日,甚至在重大事故发生之前,能源公司的负责人就此事向副总理罗戈津提出了邀请,但俄罗斯政府尚未做出回应。
当时,据报道,海上发射公司欠债权人5.3亿美元,尽管能源公司将这个数字定为3亿美元。根据《Nezavisimaya Gazeta》报道,2011年海上发射损失约1亿美元。
2012年12月,能源公司试图从俄罗斯联邦储蓄银行获得2亿美元的信贷,但没有成功。能源公司负责人认为,俄罗斯政府可以将一些任务转到海射平台进行支持,看看俄罗斯和哈萨克斯坦在使用拜科努尔问题上的持续争端,就可以证明这样做的意义。
作为后备计划,能源公司还打算向外国实体出售海上发射,并将中国、澳大利亚、美国和乌克兰列为相关方。特别是,它们将洛克希德马丁公司的宇宙神火箭描述为海上发射平台的“完美结合”,问题是,洛克希德马丁公司会买吗?
政治困境---国际航天合作的死结
+
1998年7月27日,波音公司代表承认200多起技术转让违反程序,美国暂停了技术援助协议TAA,此协议允许波音公司参与该项目的开发阶段工作。世界银行也暂停了其部分项目的资金。
在支付了1000万美元的罚款,以及几乎所有在长滩的海上发射行动延迟三个月后,各方签署了一份修订协议,解除了对未来工作的限制。1998年10月21日恢复正常经营。
无独有偶,1990年后,中国长征系列火箭进入国际发射市场。1998年,美国政府修改了国际*器武**贸易条例(InternationalTrafficinArmsRegulations,缩写为ITAR),禁止进出口一些特定国家(包括中国)生产的与防卫有关的物品和服务。
2014年3月,克里米亚危机后,俄罗斯和乌克兰交恶,俄罗斯与乌克兰航天工业的商业联系完全中断。天顶号70%零件来源于俄罗斯,包括一级的RD-170发动机。俄罗斯全力扶持本国安加拉型号研制,不仅是海射型,天顶号火箭自身如何延续,已经划上了一个问号。
百度百科还记载了一些事件,此处就不一一梳理时间线和逻辑线把它们串起来了:
- 1998年,波音公司在此项目开发期间被美国国务院罚款1000万美元,因其在与海上发射公司的外国伙伴的合作中,违反了*器武**出口管制法案中有关转运导弹技术的条款,这个金额也是同类民事处罚的最高的(本可处罚高达1.02亿美元) 。海上发射项目在调查期间被中止了两个月。
- 美国国务院发现1994年1月至1998年1月间,波音公司非法出口了“国防文献”和“国防服务”,尽管当时没有被裁定为损害国家安全。此事是在波音公司的内部调查中发现的。
- 大约在同一时间美国海关总署试图阻止海上发射公司在没有*火军**进口许可证的情况下,将天顶-3SL运载火箭(归类为导弹)运到加利福尼亚州装配。这件事以有利于公司的方式解决了。
- 也是在1998年,共16个会员国的南太平洋论坛发表了一项公报,要求美国停止该项目,除非相关的环境问题能解决。主要的批评来自岛国基里巴斯。
- 该项目1997遭到了国际运输工人联合会( ITWF )的批评,因其是在利比里亚进行的船只登记。1999年5月,海上发射公司与ITWF达成了一项协议,允许ITWF检查员作为其船员。
利益平衡---波音公司的退出和海射公司的两次重组
+
1996年波音公司和麦克唐纳.道格拉斯公司合并后,接管了麦道的德尔塔系列火箭,同时开展了德尔塔4火箭研制,其中德尔塔4火箭通过型谱化设计,GTO能力已涵盖4~13吨。合并后,波音发现海射天顶已成鸡肋,时常面对政府的刁难可以忍,赔钱进领域也许还能忍忍,但抢自己的生意是无论如何不能忍的。
2010年,海射公司破产重组后,波音公司抽身了,重组后,能源公司股份达到95%,波音公司达到3%,挪威克瓦纳造船公司占2%,几乎被能源公司买断。
2016年9月,俄罗斯S7 Space公司成为海射公司的所有者,包括指挥船,奥德赛,地面设备和海射公司商标在内的知识产权。
俄罗斯和乌克兰官员研究了一种在政治上可行的方法,以恢复Zenit火箭的生产。2017年4月,南方制造厂收到了S7 的合同,生产12枚Zenit火箭,第一笔款项已经到达。然而,业内人士表示,生产的快速启动仍面临严重障碍。到目前为止,由于缺乏莫斯科许可,必要硬件和材料无法交付。而乌克兰已不具备自行生产能力,如黑*药火**,在乌克兰投产将没有经济意义,因为除了点火系统所需的极少数量外,缺乏其他应用。
从长远来看,S7设想翻新海上发射平台,以承载在俄罗斯开发的新一代中型发射器,如安加拉或新研制一款,并取代乌克兰建造的Zenit。
海射天顶号的叹息与对比---海射CZ-11首飞成功,我们的*途征**是星辰大海
+
笔者几年前曾经去过南方设计局,苏联解体后,乌克兰国力已经无法支撑航天体系建设,这个曾经叱咤风云的设计局,已是满眼衰败。和他们聊天,说在第聂伯罗彼得罗夫斯克,人均工资大概3000格里夫纳(当时1格里夫纳约为0.7元人民币),南方设计局稍好,大约5000格里夫纳。而这里,曾经是欧洲的后花园,是苏联的粮仓和重工业基地。
2014年后,在俄罗斯和西方新冷战下,乌克兰沿着第聂伯河的东西岸进一步被撕裂,乌克兰在流血流泪,不复安定的生活。

图 CZ-11 WEY发射平台
2019年6月5日12时06分,跨过黑海、里海和乌拉尔山脉,在中国黄海海域,中国首个海射品牌CZ-11 WEY发射成功,完成“一箭七星”海上发射技术试验,这是我国首次在海上进行航天发射,为我国快速进入太空提供了新的发射方式。

图 CZ-11 WEY发射
我们庆祝,因为自豪。我们终于走出了陆地,走向了大洋。每次看到火箭发射,现场没有一个人不震撼。这里有一种力!惊天动地的伟力!我们是带着这种伟力走出黄海,后续肯定能走过一带一路,走遍各大洋,走遍全世界。
今天,我们也有着各种不爽,诟病单位间的掣肘,诟病某某同事的不配合,诟病某某领导的不作为。但与乌克兰相比,这些只是战场上不小心划破的皮肤,隔着靴子搔的痒。因为经济上的问题,我们不会有;国际政治的困扰,我们不会有;多方利益的平衡,我们也能解决。我们仅仅需要做好自己,一次次的成功。
现如今,天顶号前途未卜,南方设计局濒临倒闭,第聂伯河仍在静静地流淌,但其两岸早已物似人非。而我们正激情洋溢,我们的*途征**是星辰大海,因为复兴中的中华是我们永久性基地。
低轨星座---意味着什么?笔者正在学习,解读留给明年

2019年5月24日,猎鹰9号火箭成功将星链计划(Starlink)宽带卫星的前60名成员送到了轨道。最终,SpaceX可能会推出数万颗Starlink卫星,为全球消费者提供高速互联网服务。

图 SpaceX发射首批Starlink低轨移动星座
原谅烂尾了。低轨星座,绝对是2019年商业航天的大事,影响深远。但至今为止,除了《Telesat、OneWeb及SpaceX三个全球宽带低轨卫星星座系统的技术对比》外,笔者没有看到其它任何关于低轨星座的技术分析。缺少技术的分析,也许很有意义,但也许什么意义都没有。在这里,笔者给自己立个flag,学习卫星通信知识,争取2020年可以开始解读低轨星座。
公开表明的效应(Profess Effect)
公开表明的效应是指公开表明自己的行为目标,就能增强自己的责任感,获取周围的支持,最终能实现自己的目标。
万能的公众号,谁能告诉我?以人类能懂的语言告诉我:地面关口站,星间链路,摇头天线,4096QAM天线,都是些什么鬼?
扩展阅读:
中国至今没赶上美国50年前的登月技术,只有一个原因 | 科技袁人Lite第85期
20年后再回首——从零开始的中国载人航天 | 石豪祸不单行的波音公司,深陷噩梦的美国飞船 | 石豪
美国航天强大在什么地方?| 洞穴之外
背景简介:本文2019年12月31日年发表于微信公众号 理念世界的影子 (洞穴之外|2019年总结---国内外航天六件大事,中国航天比国外先进还是落后...),风云之声获授权转载。 责任编辑:陈昕悦