一、平台基本介绍
1、基本情况
财米是挖财网旗下的P2P平台,于2014年7月1日正式上线,运营主体为杭州挖财互联网金融服务有限公司。公司成立于2009月11日25日,注册资本和实缴资本均为5000万元人民币。
2、股东背景
天眼查数据显示,挖财网的6位股东均为自然人,其中李治国持股70.39%,为公司实际控制人。李治国最早以投资者的身份参与挖财网,其创办的阿米巴资本是挖财网的天使轮投资人,于2011年6月投资1000万元人民币。2013年李治国帮助挖财网获得A轮融资,并正式加入挖财网出任董事长兼CEO。

来源:天眼查
从2011年6月到2018年7月,挖财网共获得6轮融资,累计获得3.5亿美元融资,投资人包括IDG资本、鼎晖投资、中金公司、国开金融等知名风投机构。

来源:零壹数据
3、高管简介
1)董事长
李治国,1999年加入阿里巴巴成为第46号员工(花名“海贝”),主导开发了“诚信通”(B2B核心盈利产品)。2004年创办口碑网,担任CEO,2006年口碑网被阿里巴巴收购,出任口碑网总裁,随后参与组建阿里巴巴云计算公司(阿里云)。2010年创办阿米巴资本,成功发现和培养一批优秀的公司,包括快的打车(后与滴滴打车合并,成为中国最大的移动出行平台)、蘑菇街(后与美丽说合并,成为中国最大的社交电商)、挖财、有赞、小奥游戏、时空电动车等。2013年再次创业,出任挖财集团董事长兼CEO,全面负责互联网板块业务。
2)总裁
顾晨炜,现任挖财总裁。历任美国CapitalOne分析师、合作金融部高级经理、总监和欧洲大陆区首席风控官;渣打银行(香港)决策委员会成员、零售及中小企战略部总经理;信策数据创始人。20年零售金融及相关行业经验,对数据风控、定量决策及零售战略等领域有着深刻理解。
3)风控副总裁
沈华,毕业于上海财经大学。十三年金融从业经验,一直从事和风险控制相关的工作,是风险管理和大数据风控领域资深专家。2017年加入挖财前,曾就职于汇丰银行、毕博和德勤等知名咨询公司、美国知名风险管理公司(FICO)和阳光渝融信用保证保险公司,分别从事消费金融风险管理、银行风险管理领域咨询,担任过风险中心副总经理等一系列管理职务,积累有大量风控和风险管理相关的实务操作和管理经验。
二、产品&风控
1、产品构成
在挖财APP的投资理财区我们可以看到,财米有4款产品:智慧投、轻松盈、散标和债权转让,其中智慧投和轻松盈为自动投标工具。实际使用过程中,测评君发现散标和债权转让仅在挖财APP中显示,用户可通过挖财APP点击投资理财查看,但官网上未显示这两类产品。
智慧投分为月月升和季季升,并提供新手专享福利。月月升30天为一个周期,到期可退出,退出方式为债权转让,若不退出则自动进入下个周期。智慧投的期望年化收益率随周期上涨,以月月升为例,第一个周期为5.5%,逐步提高至8%;新手用户第一个周期12%,第二个周期开始与普通版一致。季季升与月月升类似,周期为90天,到期用户通过债权转让的方式退出。

来源:挖财财米官网
轻松盈有月盈宝和季盈宝,月盈宝周期分为40天和70天,到期可退出,第一个周期加息0.2%,第二个周期开始期望年化收益率保持不变,季盈宝按季分期,有100天和180天两款。
散标期限可选,目前可查看的均为89天,借款利率7.86%,30天可转让。债权转让暂无新项目上标,具体情况不详。

来源:财米官网
财米的资产端来自平台官网、APP以及与第三方资产合作方。根据北京金杜(杭州)律师事务所出具的合规性审查报告,合作方包括杭州信喜商务咨询有限公司、力蕴汽车资讯服务(上海)有限公司、深圳天道计然金融务有限公司、天道计然(北京)网络技术有限公司、深圳信用家互联网金融服务有限公司、深圳前海达飞金融服务有限公司(达飞贷)、杭州帅游科技有限公司、首信好车汽车咨询服务(北京)有限公司、亿海(青岛)国际融资租赁有限公司、北京善义善美科技有限公司(人人车)、天道计然(北京)信息科技有限责任公司(美丽车金融)、上海闪闪互联网金融信息服务有限公司(闪闪金服)。根据客服的介绍,财米的项目由资产合作方或担保机构担保,如果出现逾期将由担保方回购债权,具体的担保机构并未告知,官网上也未披露相关细节。
底层资产以小额信贷为主,平均借款金额3万元,用途主要为经营、消费和采购。目前,轻松盈系列的自动投标工具中所包含的项目主要为债权转让,智慧投系列的新手专享中也以债权转让为主。
2、风险控制
(1)贷前
财米的贷前审核由平台风险控制部负责,包括借款人资料及融资项目资料的审核。根据北京金杜(杭州)律师事务所出具的合规性审查报告,财米于2017年6月21日与挖财网、鹏远征信签订了《三方协议》,由鹏远征信为财米提供第三方征信服务。
借款人的信息会在产品的项目列表中披露,信息披露的内容比较完整。

来源:财米官网
(2)贷中&贷后
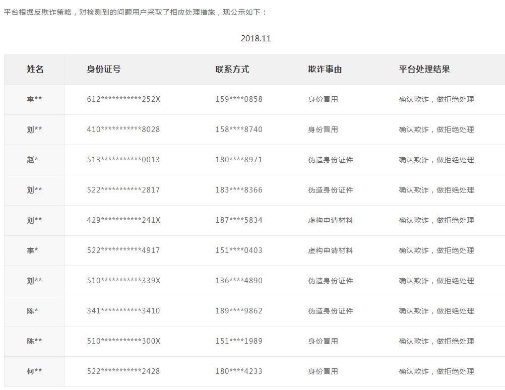
财米根据有关部门规定,制定了《网络借贷业务风险控制审核管理制度》、《网络借贷业务风险控制操作手册》等制度,并采取了反欺诈策略,定期在官网披露反欺诈公告。

来源:财米官网
贷后催收方面,还款前平台通过短信、语音提醒用户到期还款;逾期早期,平台通过短信、电话、邮件、信函等方式提醒用户还款;逾期后期,平台将通过诉讼、仲裁或委托第三方催收机构的方式进行催收,目前已知的第三方催收机构为深圳聚宝资产管理有限公司。
3、收费标准
据财米官网信息显示,平台不收取注册、充值、提现手续费。
针对借款人,平台根据借款金额收取一定的手续费,年化费率2%-10%,具体情况未披露。
针对出借人,平台收取以下费用:
管理费:债权匹配成功后,按出借人的出借本金收取费用,管理费=剩余的代收本金(含当期)*当期持有天数*日管理费费率*折扣率。目前日管理费为0.008333%,折扣率为50%。
转让手续费:债权转让成功后,按转让债权本息收取费用,转让手续费=转让价格*转让费率*折扣率。当前转让费率如下:

来源:挖财APP
三、运营数据分析
1、累计运营数据
中国互联网金融协会披露的数据显示,截至2018年11月底,财米累计借贷金额716.2亿元,累计借贷笔数1969万笔。

来源:中国互联网金融协会
借贷余额方面,截至2018年11月底,财米借贷余额65.1亿元,借贷余额笔数197万笔。2018年以来,借贷余额小幅下滑,年中小幅反弹后继续下滑,进入2018第4季度后保持稳定。

来源:中国互联网金融协会
2、代偿数据
中国互联网金融协会披露的数据显示,截至2018年11月底,挖财财米累计代偿金额36.9亿元,累计代偿笔数178万笔。2018年1-10月,累计代偿金额持续攀升,最高达到39.4亿元,11月小幅减少,测评君在咨询了客服后,并未得到满意答复,代偿减少原因不明。

来源:中国互联网金融协会
3、每月借贷数据
财米2018年第一季度借贷金额保持低位,进入第二季度小幅上升,季中达到高位后持续下滑,9月开始借贷金额有所反弹,11月达到23.2亿高峰。

来源:中国互联网金融协会
4、逾期数据
从平台官网及中国互联网金融协会已披露的数据来看,2018年财米无逾期项目。但结合代偿数据我们可以推测,主要是资产合作机构方或担保机构代偿的结果。
四、合规备案情况
1、银行存管
平台官网及中国互联网金融协会信息显示,2017年5月7日,挖财财米与恒丰银行签订存款协议,2017年12月15日全量业务上线,2018年9月28日存管系统升级到V1.0L。
2、合规检查
挖财财米在平台官网披露了合规性审查报告,但未披露其他详细情况。客服表示财米已于2018年9月提交了自查报告,进一步的情况将来会在官网披露。
3、信息披露
(1)杭州挖财是中国互联网金融协会理事单位,并在中国互联网金融协会信息披露系统中披露了自2017年5月至今的运营数据。
(2)平台在官网披露了2017年8月至今的运营数据。
(3)平台在官网披露了2016年及2017年的审计报告,但未披露财务报表;同时披露了重点环节审计报告、合规性审查报告,但未披露具体审计细节。
五、总结
财米为挖财网旗下P2P平台,挖财网先后获得IDG资本、鼎晖投资、中金公司、国开金融等机构的投资。平台信息披露比较完整,定期披露反欺诈公告。已提交自查报告,进一步的情况尚不明确。
财米资产端方面以小额*款贷**为主,平台除自身获客渠道外,与多家资产推荐方合作,若项目逾期则由资产合作方或担保机构回购。