
一、恶意注册的表现和类型
(一)商标合法善意注册
《商标法》第四条规定:自然人、法人或者其他组织在生产经营活动中,对其商品或者服务需要取得商标专用权的,应当向商标局申请商标注册。不以使用为目的的恶意商标注册申请,应当予以驳回。本条规定了商标合法善意注册的四个条件:
1. 商标注册主体。自然人、法人或者其他组织都可以申请注册商标。这既包括中国的自然人、法人和其他组织,也包括外国自然人和外国企业。
2. 商标自愿注册原则。商标经过注册,即取得注册商标专用权,注册人有权禁止他人在相同或者类似商品上使用或者注册与该商标相同或者近似的商标。因此,注册商标能够比未注册商标获得更全面更有力的保护。是否通过注册获得这种保护,由商标使用人自由选择。
3. 申请注册的商标应当用于生产经营活动。商标是在生产经营活动中用于识别商品和服务来源的标志,代表其所标示的特定商品或者服务的质量及其生产经营者的信誉。申请商标注册应当将其用于生产经营活动。自然人、法人或者其他组织不论是已经在其生产经营活动中实际使用该商标,还是准备在今后的生产经营活动中使用该商标,都可以申请商标注册。
4. 商品商标和服务商标。在商品上使用的商标称为商品商标。在服务上使用的商标称为服务商标,服务商标一般使用于银行、保险、广告、旅游、电信、运输、学校、医院等服务领域。商品商标和服务商标在商标注册簿上都有相应的分类,都可以申请商标注册。
(二)商标的恶意注册
在2019年修订之前商标法之前中,并无恶意注册的概念,恶意注册是相对合法善意注册而言,国家知识产权局商标局评审委员会孙明娟调研员曾提出"恶意注册"包括两个方面的表现:主观上表现为一种"明知"或"不正当的目的";客观上则表现为违背诚实的商业道德或行业惯例的行为。并指出恶意注册的类型包括:不正当竞争型和权利滥用型[footnoteRef:1]。 [1: 孙明娟:恶意注册的概念、类型化及其应用;国家知识产权局商标局官网,发布时间2018年4月18日,网址:http://spw.sbj.cnipa.gov.cn/llyj/201804/t20180408_273555.html]
不正当竞争型性注册:,指申请人出于不正当竞争之目的所提出为的注册行为。该类型的恶意注册侧重于申请人违反商业道德的行为。包括:
1. 不当攫取他人声誉的注册,俗称即俗称的"搭便车",包括山寨知名商标,仿名牌等。比如一年赚上亿元红极一时的"阿迪王",还有随处可见非产地生产的"五常大米","安溪铁观音","库尔勒香梨"等[footnoteRef:2]情况,都属于"搭"知名地理标志的"便车"。 [2: 南方周末记者:企业不要去搭便车、傍名牌,中直独家网,发布时间2019年10月12日,网址:http://www.zzdjw.com/GB/178366/178375/2019/1012/38400.html]
2. 意图阻止在先权利人进入市场而进行的注册,这里既包括阻止外国在先权利人进入中国市场,也包括阻止本国在先权利人进入新行业市场。比如资生堂旗下知名防晒品牌"ANESSA",在代购引入中国时,广为消费者所知的中文名称为"安耐晒";。而当该品牌在天猫购物平台官网开设旗舰店时,使用的中文名称为"安热沙",因为其"安耐晒"的中文名称于2013年起,已经被多人抢注,致使其用"安耐晒"名字正式进入中国市场产生了障碍。类似情况,还有韩国品牌ETUDE HOUSE,在进入中国市场前,其在台湾地区和香港地区的译法为"爱丽小屋"。该商标2014年被国内周某抢注,并在天猫开设了"ERISE HOUSE爱丽小屋"的旗舰店,致使ETUDE HOUSE在进入中国后,改名为"伊蒂之屋"[footnoteRef:3]。 [3: 豆豆:注意!日韩大牌化妆品中文名遭抢注 网上这些种草款都是李鬼,IPR DAILY中文网,2017年发布,网址:http://www.iprdaily.cn/article_16440.html]


权利滥用型注册。申请人滥用法律权利,以期得到不当经济收益的注册行为即构成权利滥用型注册。此类型的恶意注册侧重于申请人违背行业惯例以期获取不当收益的行为,同样可以分为如下两种情况两种亚类型:
13. 缺乏真实使用意图的大量申请注册行为:,即通常称之所说的"囤积注册"。2018年6月27日,珠海某典典昱贸易有限公司向商标局提交5016件商标的申请;2018年7月27日,珠海冠某芮贸易有限公司向商标局提交5754件商标的申请…申请…此类贸易公司并无实际业务,也无使用意图,却在短期内大量申请注册商标以囤积待售。自2018年起商标局开始大力商标的"囤积"行为。2018年10月31日,商标局发布公告称称" 依近日,商标局依据商标法第四条等规定,陆续对16000多件商标注册申请做出驳回决定,这是商标局又一次从严从快打击涉嫌囤积商标的非正常商标申请行为。"[footnoteRef:4] [4: 商标局:《商标局向非正常商标申请行为说不》,商标局官网,发布时间:2018年10月31日,网址:http://sbj.cnipa.gov.cn/gzdt/201810/t20181031_276592.html]


2. 4. 基于从在先权利人处获取经济收益而为的注册。比如拜尔集团旗下防晒霜Coppertone"水宝宝","太阳和波浪""男孩和冲浪板"是拜耳集团自2011年便开始在"水宝宝"上使用的标识。李某在2016年7月将上述标识部分注册为商标,并于当月对"水宝宝"产品发动大规模、持续性的投诉。李某在投诉期间,一方面通过QQ联系拜耳集团分销商,称可以提供付费撤诉服务;另一方面,李某提出以每件商标70万元的价格向拜耳集团转让其抢注的两个商标[footnoteRef:5]。 [5: 张维:《蓄意抢注国外品牌商标向商家发难 多款名牌相继中枪》,新华网,发布时间2019年3月2日,来源:法制日报,网址:http://www.xinhuanet.com/fortune/2019-03/02/c_1124183451.htm]
针对上述的恶意注册行为,2019年商标法修订时,在第四条后半部分增加了"不以使用为目的的恶意商标注册申请,应当予以驳回。"旨在遏制恶意注册商标的行为。
上述四种恶意注册的类型为中,不正当竞争型注册是以使用为目的,与知名商标权利人或在先权利人又不正当的竞争关系,此类恶意注册表现为个案商标,且不属于我国的特殊情况;权力滥用型注册是不以使用为目的,仅为通过注册商标获取经济利益,此类恶意注册表现为批量注册,与我国商标保护制度具有一定关系,故本文是基于权力滥用型的恶意注册进行分析 。
二 恶意注册的发展过程
(一)恶意注册的理论起源来源
恶意注册基于我国商标制度的两种规则情况:第一种是"注册在先为准,使用在先为辅"的注册制度。这一制度由1982年商标法的第十八条确立,即" 第十八条 两个或者两个以上的申请人,在同一种商品或者类似商品上,以相同或者近似的商标申请注册的,初步审定并公告申请在先的商标;同一天申请的,初步审定并公告使用在先的商标,驳回其他人的申请,不予公告。"这规定一直延续至今。如此,不实际使用的商标不仅可以大量注册,而且,在其取得商标专用权后还能排斥实际使用该商标的权利人在注册日后的扩展至注册商标保护范围的权利。虽然我国商标法规定了商标异议有商标异议,撤销三年不使用适用及商标无效等救济程序,但上述程序都属于事后救济途径,并不能从申请开始杜绝的。
另一规则情况是申请主体的广泛化。是主体是2001年版商标法的修订,在2001年商标法中,将申请主体由"企业、事业单位和个体工商业者"修改为"自然人、法人或者其他组织"。就是对什么主体作为申请注册商标的申请人做出了与以往商标法有所不同的规定。1993年商标法规定的可以作为商标申请主体注册申请人的只限于依法设立的企业、事业单位、社会团体、个体工商户、个人合伙以及符合原商标法第九条规定的外国人或外国企业。此一列举式的规定显得繁琐而难以周全,并且将中国公民个人排除在注册商标申请人之外。如果与外国人可以注册而中国人不能注册这一事实相联系,则有失公平。因此,在2001年修订商标法时,修改为自然人、法人或者其他组织都可以申请注册商品商标、服务商标。自此,自然人也可以申请注册商标。开启了以转让为目的的自然人申请商标序幕。
(二)恶意注册的进一步发展
第一 商标注册成本过低,使商标囤积行为成为一个能够盈利的射幸行为。目前国内商标申请官费为人民币300元/标/类,接受电子发文的费用按官费的90%收取,即人民币270元/标/类。2015年以前,商标买家需要不多,一个普通的注册商标买卖费用平均在3万到5万元以上。而自从2015年起国内起主要网络大量网络平台规定新开店铺的开业且要求以持有必须具有注册商标为前置条件后,开始大量涌现了"囤积商标"以申请注册后转卖的情况,而目前商标转让市场中导致现在一个注册商标转让买卖的费用大约人民币1万左右[footnoteRef:6]。因此,一主体如申请一个申请主体如数千件或更多商标,只要其中有1%的注册商标出售成功就能收回成本并产生利润。这样,在我国,"囤积商标"商标注册就基本上成为了一桩稳赚不赔的生意[footnoteRef:7]。 [6: 赵珍:申请注册商标"囤积"的一些看法,IPRDAILY网站,发布时间2017年,网址:http://www.iprdaily.cn/article_18148.html] [7: 尹锋林:商标恶意注册规制问题研究,《中国知识产权》网络版,发布时间2018年11月27日,网址:http://www.chinaipmagazine.com/zl/ColumnView.asp?fId=61&id=192]
附:我国商标申请费用的调整过程
表1:我国商标申请费用的调整过程
第二 我国商标注册周期过长,使商标需求迫切的市场主体不得不到商标转让市场中购买已注册商标。我国《商标法》规定的商标审查周期为九个月,商标公告异议期为三个月,再加上商标提交申请至受理大约中一个月时间,我国商标从提交申请至获得注册需要十三个月的时间。如商标在审查期间被商标局驳回,又需要重新申请或请求申请复审,无论是新申请还是复审,又是十二个月时间个月的期间。故对需要迫切的市场主体而言,购买商标,是用金钱去换取时间"金钱换时间"的稳妥选择。
第三 目前有效商标注册数量基数大,已经达到2400多万个。尤其是中文商标,因为汉字数字有限,企业想要注册一个寓意较好且与又和他人别人的权利不冲突的中文商标,可能性不是特别高。[footnoteRef:8]2019年上半年,商标注册驳回近40%[footnoteRef:9]。同上如上,对商标需求迫切的市场主体如直接提交申请要面临商标的高驳回风险,他们会更愿意去购买已获得注册的商标。购买商标能可规避投入使用了一两年的商标,在其注册商标注册申请驳回后而投入使用了一两年的商标需要要更改的潜在风险。 [8: 林露、乔雪峰:新《商标法》实施 人民网IP沙龙聚焦恶意注册与囤积行为,商标局官网,发布时间2020年1月7日,信息来源:人民网-知识产权频道 ,网址:http://sbj.cnipa.gov.cn/gzdt/202001/t20200107_310332.html] [9: 根据《2019年上半年商标注册工作情况分析》计算,商标局2019年10月21日发布,网址:http://sbj.cnipa.gov.cn/sbtj/201910/t20191021_307503.html]
三 对恶意注册打击阶段
2017年9月5日,商标局发布公告,将建恶意注册嫌疑人名单数据库;之后商标局将坚在审查阶段对典型恶意申请类型及相关案例进行梳理、汇总,采取提前审查、并案集中审查和从严适用法律等措施,从严审查违反诚实信用原则、恶意攀附他人商标声誉、抢注知名度较高商标、侵犯他人在先权利、占有公共资源、反复抢注等恶意注册[footnoteRef:10]。 [10: 商标局监管关口前移遏制恶意注册成效显著,商标局官网,2018年1月16日,site: http://sbj.cnipa.gov.cn/sbjg/201801/t20180117_271866.html]
2018年开始发布通知打击该类行为:针对部分企业不以使用为目的大量提交商标申请以囤积的不良现象(见下图),2018年8月17日组织召开恶意注册、囤积商标行为规制措施研讨会,研究规制恶意注册、囤积商标行为的措施[footnoteRef:11]。 [11: 商标局向非正常商标申请行为说"不",商标局官网,发布时间2018年10月31日,网址:http://sbj.cnipa.gov.cn/gzdt/201810/t20181031_276592.html]


2019年4月23日第十三届全国人民代表大会常务委员会第十次会议通过了《商标法》的第四次修正,在第四条增加了"不易使用为目的恶意商标注册申请,应当予以驳回。" 直接将"恶意注册"列入禁止范围,商标局可以在审查阶段直接驳回。并以该条作为基础条款,引申了对各阶段恶意注册商标的"围追堵截":对于初审通过的恶意注册商标,任何人可以向商标局提出异议;对于已注册的"恶意注册"商标,商标局可以主动宣告无效,其他单位或个人可以向商标评审委员会申请无效宣告;并对代理机构代理恶意注册商标的行为,增加了警告、罚款等行政处罚。新商标法已。于2019年11月1日正式实施。
2019年10月17日,国家市场监督管理总局发布第17号文《规范商标申请注册行为若干规定》,该规定再次强调了禁止违反诚实信用原则的恶意注册,并明确了审查恶意注册的参考因素:
1. 申请人或者与其存在关联关系的自然人、法人、其他组织申请注册商标数量、指定使用的类别、商标交易情况等;
2. 申请人所在行业、经营状况等;
3. 申请人被已生效的行政决定或者裁定、司法判决认定曾从事商标恶意注册行为、侵犯他人注册商标专用权行为的情况;
4. 申请注册的商标与他人有一定知名度的商标相同或者近似的情况;
5. 申请注册的商标与知名人物姓名、企业字号、企业名称简称或者其他商业标识等相同或者近似的情况;
6. 商标注册部门认为应当考虑的其他因素。
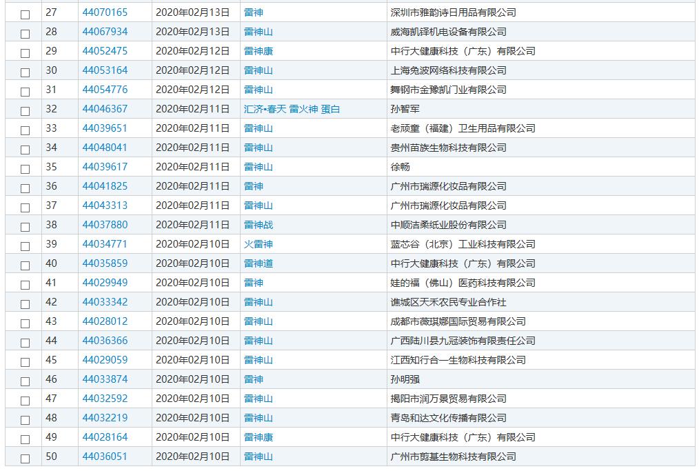
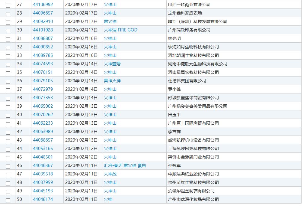
本次疫情期间,大量与火神山医院、雷神山医院及李文亮医生等无关的其他申请人,申请注册"火神山"、"雷神山"、"文亮"等与疫情相关的商标。2020年2月7日,商标局审查部门下发了《疫情防控相关商标审查指导意见》,明确与疫情相关人员姓名,含疫情病毒名、疾病名的相关标志,疫情相关药品标志,防护产品相关标志,其他疫情相关标志等的审查指导意见,依法从严从快打击与疫情相关的非正常商标注册申请行为[footnoteRef:12]。并对"火神山""雷神山"等近1000件与此次新冠肺炎疫情相关的商标注册申请实施管控。2020年3月3日,商标局表示对进入实质审查阶段的与疫情相关上述商标,直接作出驳回决定。 [12: 商标局 商标局严厉打击与疫情相关的恶意商标注册申请行为 网址:http://sbj.cnipa.gov.cn/gzdt/202002/t20200227_312227.html 最后访问时间:2020年3月3日]


虽然商标局已从各环节"*击狙**"商标恶意注册,目前恶意注册申请人更具有隐蔽性,不断地分批、少量、多次申请,通过关联公司(人)分别申请,伪造营业执照来申请等,使得商标局发现线索难、事实认定难、实施打击更难[footnoteRef:13]。 [13: 商标局 商标便利化改革成效显著 打击恶意注册商标虽有所遏制但不容乐观,网址:http://sbj.cnipa.gov.cn/gzdt/201910/t20191022_307538.html,]
对于广大的企业而言,如商标已经被恶意抢注,要积极主动收集三、与疫情相关的恶意注册
自疫情发生以来多(1)以"易造成重大社会不良影响"驳回了"雷神山"、"火神山"及"李文亮"等与疫情相关的商标;
(2)下发了《疫情防控相关商标审查指导意见》,明确与疫情相关人员姓名,含疫情病毒名、疾病名的相关标志,疫情相关药品标志,防护产品相关标志,其他疫情相关标志等的审查指导意见。
至此,我国商标法对于恶意注册已经明确和直接的法律依据
国家知识产权局商标局 2020年2月27日《商标局严厉打击与疫情相关的恶意商标注册申请行为》
"火神山医院、雷神山医院以外的其他申请人将其作为商标注册易造成重大社会不良影响,因此,"火神山""雷神山"商标注册申请依法应予驳回。李文亮是武汉市中心医院眼科医生,因接诊感染新冠肺炎不幸去世。将其姓名作为商标使用或者注册,易造成重大社会不良影响,因此,"李文亮"商标注册申请依法应予驳回。
截至目前,商标局已对"火神山""雷神山"等近1000件与此次新冠肺炎疫情相关的商标注册申请实施管控。"
http://sbj.cnipa.gov.cn/gzdt/202002/t20200227_312227.html
2月7日,审查部门下发了《疫情防控相关商标审查指导意见》,明确与疫情相关人员姓名,含疫情病毒名、疾病名的相关标志,疫情相关药品标志,防护产品相关标志,其他疫情相关标志等的审查指导意见,依法从严从快打击与疫情相关的非正常商标注册申请行为。
http://sbj.cnipa.gov.cn/gzdt/202002/t20200226_312119.html
都是2月3日最早申请,商标局2月3日复工
法律分析:近期关于疫情相关的恶意注册文件
http://sbj.cnipa.gov.cn/gzdt/202002/t20200227_312227.html
http://sbj.cnipa.gov.cn/gzdt/202003/t20200304_312466.html
3月3日,商标局对进入实质审查阶段的63件与疫情相关的"火神山""雷神山""钟南山"等商标注册申请,已依法作出驳回决定。
此次驳回63件商标注册申请均以易造成社会不良影响,适用商标法第十条一款八项依法予以驳回,包括27件"火神山"、24件"雷神山"、3件"钟南山"、3件"方舱"等商标注册申请,涉及41个申请人,共23个商品和服务类别。
个人观侵权人及侵权商标的信息,可以通过商标异议、撤销连续三年不使用、申请无效等救济途径点维护自身权益;同时主动提交商标申请主张权利。对于想通过从"职业注标人[footnoteRef:14]"取得商标的企业,要提防商标被提无效的风险。 [14: 指大量注册]