
2019年粉体超细粉碎和精细分级新工艺新装备高级研修班将于2019年9月3-5日在江苏昆山举行,具体内容请关注微信公众号“粉体技术网”,报名咨询:18301216601
分级是超细粉碎过程中不可或缺的一个组成部分,一是及时分出合格细粉,避免过粉碎,并保证产品的粒度分布;二是提高超细粉碎作业的效率。也正是由于精细分级粒径的下降以及分级精度和效率的提高,使得许多传统的细磨设备广泛用于超细粉碎作业。
按流体介质不同,超细分级可分为干式和湿式两种。干式精细分级机大多是伴随高速机械冲击式超细磨和气流磨,基本上都与相应的机械冲击式超细粉磨机或气流磨配套使用,其分级粒径可以在较大的范围内进行调节。
在湿法超细磨矿或载土类矿物的湿法提纯工艺中,需要采用湿法分级设备。常用的湿式超细分级机有小直径水力旋流器、螺旋离心分级机、超细水力旋分机等。
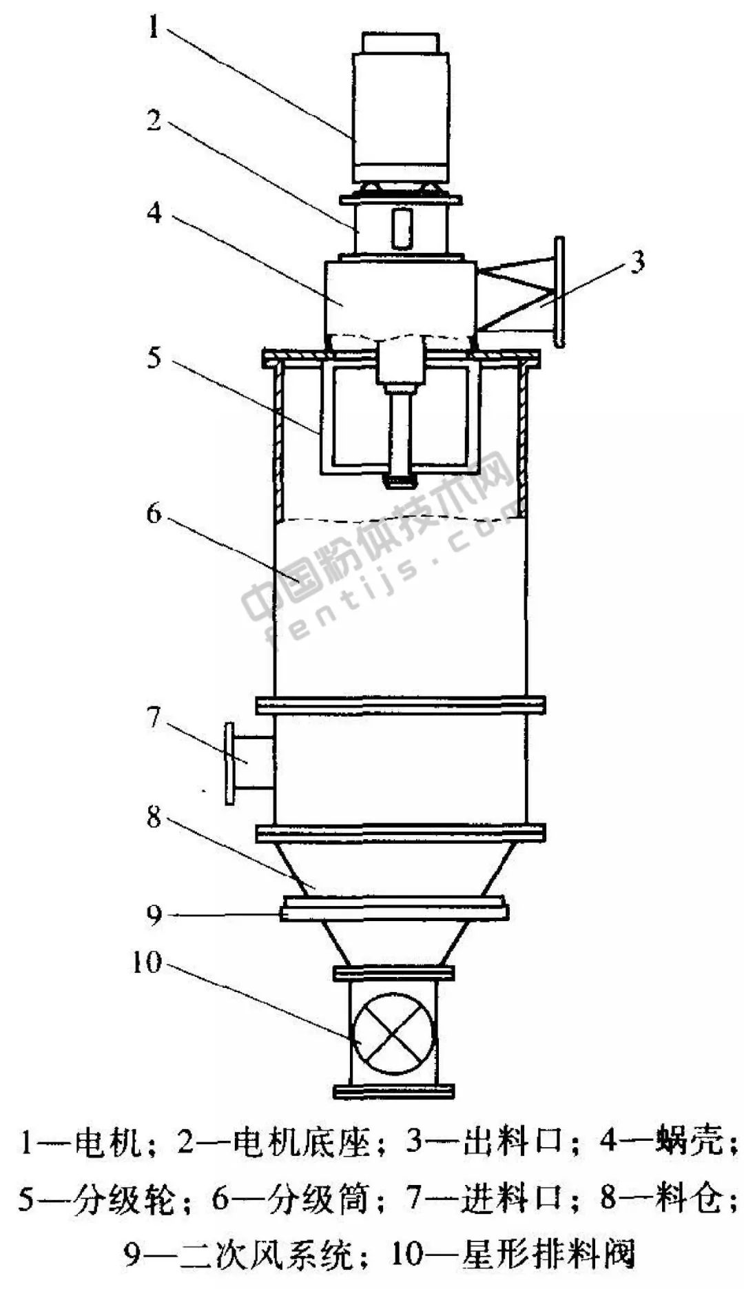
1、LHB型涡轮式气流分级机
LHB型分级机由进料控制系统、分级机主机、旋风收集系统、布袋收集器及引风机等部分组成,分级产品细度一般可达5-7μm。

2、FJJ型分级机
FJJ型分级机是卧式涡轮转子型分级机,类似于德国的ATP型,主要分为上下两部分。上部分用涡轮转子分离细粉,下部分为粗粉分离仓。

除单个分级轮结构的FJJ型分级机外,还设计了多轮结构的FJJ型分级机。这种多轮分级机具有小涡轮结构的优点,即产品粒度细,d97可达到3-9μm,分级切割点准确、锐利,分级效率高,同时具有大的处理量,回避了采用大型涡轮转子获得大处理量但使分级品质降低的缺点。
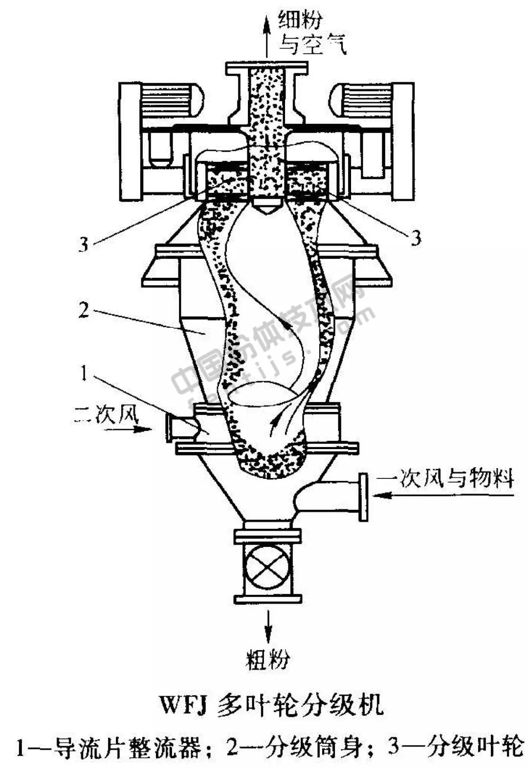
3、WFJ型分级机
WFJ型分级机是带有二次进风及水平安装分级叶轮的强制型离心分级机,由分级叶轮、导流片整流器、分级筒身等组成。按分级叶轮数量可分为WFJ单叶轮分级机和WFJ多叶轮分级机。


WFJ分级机可配合各类干式粉磨机械(气流磨、球磨、雷蒙磨、振动磨、冲击式粉碎机等)组成闭路粉碎分级系统,也可单独用。
4、FYW型分级机
FYW型分级机主要由下筒体、风栅体、中筒体、上筒体、转子、排气管等组成,能和雷蒙磨等各类机械粉碎机及气流磨联合作业。

5、FQZ型分级机
该型精细分级机主要由中心套管,裙式淘析圈,加料管、粗粉出口,二次空气入口等组成。

6、HTC涡轮分级机
HTC涡轮分级机主要由进料系统、排料系统、动力系统、主分级室和二次进风室组成。

7、FJG型干法粉体分级机
FJG型干法粉体分级机可单独设置进行分级或与干式粉碎设备,如干式搅拌磨、雷蒙磨、球磨机等构成闭路粉碎系统。

8、ADW涡轮式微粉分级机
采用强力涡流分级原理设计,转子水平放置,有单转子和多转子结构,特别适合600-2500目微粉大规模工业化分级生产。

对于超细分级,建议采用气粉混合进料方式工作,以提高分级精度和效率,对于一般细度分级可采用粉状进料,系统阻力小,能耗相应较低。
9、MS、MSS型微粉分级机
MS型微细分级机这种分级机的主要特点是分级粒度范围广,可在3-150μm之间任意选择。


MSS型微粉分级机的分级粒度较MS型更细,分级粒度范围为2-20μm,可获得97%≤5μm的超细粉体产品;产品粒度分布窄,分级精度较高。
10、ATP型超微细分级机
这是德国ALPINE公司开发的涡轮式精细分级机,具有分级粒度细、分布窄、精度较高.、结构紧凑、处理能力较大等优点。

该分级机常用于与流态化床对喷式气流粉碎机、高速机械冲击式磨机、球磨机等配套使用或与流态化床对喷式气流粉碎机及高速机械冲击式磨机做成一体,构成内闭路超细粉碎作业,以提高粉碎作业效率、控制产品细度和粒度分布,这种分级机在非金属矿物超细粉体材料的工中得到了广泛应用。

11、卧式螺旋离心分级机
该系列卧式螺旋离心机主要由柱-锥形型转鼓、螺旋推料器、行星差速器、外壳和机座等零件组成。

由于螺旋高速旋转产生的离心加速度远高于重力加速度,浆料中颗粒的沉降速度明显增加,因此可进行超细分级。该机型适用于固体颗粒范围为1.0-10μm、固体含量为2%-50%的浆料的超细分级。
12、小直径水力旋流器
在超细颗粒的湿法分级时,一般均选用小直径的水力旋流器,其直径在之间。因为该旋流器下部圆锥形锥角较小,适合于超细分级,其溢流产品细度可达到d80=2μm甚至更细。

北京古生代粉体科技有限公司GSDFΦ10毫米系列精细水力旋流器
小直径水力旋流器的直径通常为10-50mm,通常制成带有长的圆筒部分和小锥角的锥形部分,内衬耐磨陶瓷、模铸塑料、人造橡胶或用聚氨醋材料制造。聚氨醋是近十多年来制造超细水力旋流器的主要材料。
在工业生产中,为弥补小直径旋流器处理能力小的缺点,通常采用若干个小直径旋流器并联安装形成旋流器组,这种旋流器组可由几个或数十个小直径旋流器组成。