
伯虎点睛: “墨茉点心局”爆红背后,是烘焙市场的快速洗牌。
在长沙,排长队抢购的不只有茶颜悦色,还有网红烘焙品牌墨茉点心局。
这个2020年6月才刚成立的年轻品牌,在抖音、小红书大量打卡视频、笔记的带动之下,如今已是年轻人社交圈炙手可热的明星,更是资本的“宠儿”。
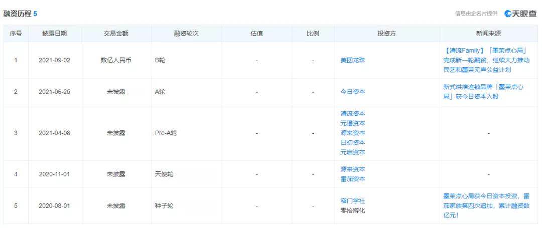
据天眼查APP显示,截至目前,墨茉点心局已完成B轮融资,短短一年内获得来自清流资本、元璟资本、日初资本、番茄资本、源来资本、今日资本的多轮投资,累计融资数亿元, 估值达到20-30亿元,单店估值超过一亿元 。

(融资历程,图源:天眼查)
一年融资5轮,墨茉点心局爆红背后的真相是什么?

风口上的中式烘焙
“赚过大钱,也亏过不少。” 墨茉点心局创始人说,“要去全球开上万家店。”
2017 年,经营着ARTEASG和FUO帽子两个品牌的王瑜霄,经常出差法国、日本和新加坡,她意识到人们只带国外的点心作为手信,但从不会带中华点心。
在她看来,茶颜悦色的经典产品幽兰拿铁,是将卡布奇诺咖啡的做法用于中式茶饮——清爽的茶底上盛放小山形状的奶油和碧根果碎。
于是,王瑜霄有了 “中点西做” 念头。
随后,墨茉点心局由此诞生,其第一款爆品“彩虹蛋爆浆麻薯”就是中式麻薯和西式奶油的结合。

(图源:网络)
彼时在国内的烘焙市场上,以西式烘焙店为主,但西式烘焙出品效率太低、添加剂过多、门店太重,中式烘焙店则大多是一些“老字号” ,排队的也都是一些老年人,符合年轻人喜好的中式烘焙店尚处于一个空白状态。
显然,赛道的选择是成功的先决条件,市场的规模则决定企业的天花板有多高。
当下,烘焙赛道确实很热。
根据智研咨询发布的《2021-2027年中国烘焙行业供需态势分析及市场运行潜力报告》数据显示: 2020年中国烘焙行业市场规模为2358亿元,2015年至2019年行业市场规模增速均超过9%,远高于全球烘焙行业市场规模增速,预计未来五年也将维持在7%左右的增长速度。
另外,美团点评在其发布的《2020年中国烘焙门店市场报告》中更是指出,2020年全国烘焙门店规模增长21%,成为疫情下唯一能够保持门店增长的细分领域。
市场需求旺盛以及疫情背景下依然快速增长的能力,都令这个赛道在资本心中大大加分。
在创立墨茉点心局前,王瑜霄曾在湖南卫视天娱传媒就职,后花了十年做陈峰创办的木九十眼镜的加盟商,还创办过帽子 FUO 品牌,开过冰激凌店,做过茶颜悦色单店股东,在海外启动了新式茶饮品牌 ARTEASG。
为此,关于墨茉点心局的爆红,业内普遍认为,创始人王瑜霄个人的从业经历使其对年轻消费群体的消费需求、消费心理有较深的认知,以及她在长沙本地的零售资源和人脉,是墨茉点心局成立仅一年就爆红的原因之一。
事实上,在墨茉点心局爆红背后,还隐藏着可供创业者借鉴的运营思路。

烘焙新秀的崛起内幕
不可否认,对于时下的消费新势力们来说,拿下了年轻人几乎就已经赢了一大半。
尤其是像长沙这样的“网红”城市,作为每个假期的“心脏级”流量中心,也是不少新品牌孵化的“加温器”。
从长沙崛起到爆红的一众品牌,如文和友、茶颜悦色、虎头局、墨茉点心局等,更是有着几乎一致的扩张路径:排队、网红营销、爆红打卡。
排队是网红品牌的一个重要指标。在大众点评上,墨茉点心局“排队久”相关的评论占了大多数。
排队,可以让消费者在排队过程中看着陈列柜台和操作间,进而引发更多的购物欲,提高客单价,也可能造成消费者不佳的购物体验,对产品产生过度预期。
因此在“让消费者排队多久时间是合适的”这个问题上,王瑜霄将理想排队时长敲定在 10-15 分钟之间。
在门店的打法上,王瑜霄设想的是“可以像茶饮一样干这件事”。
1、密集开店,“*绑捆**”茶颜悦色
通过高密度开店快速占领优势商圈,墨茉点心局目前所开的门店大多集中在长沙核心商圈五一广场附近,五一广场是网红品牌们的聚集地。
同时,王瑜霄希望 在长沙,每三家茶颜悦色,就有一家墨茉点心局。 茶颜悦色这位更早成名的“前辈”,显然能在无形中为墨茉点心局带去流量。
2、爆品引流,多场景营销
目前。墨茉点心局是以“麻薯”这个中式点心的产品来作为流量产品。
同时,其将麻薯进行了零食化改造,做成了一口一个的大小,使得这种食品的食用场景更加多样化:年轻人外出逛街可以吃,看电影可以吃,在家追剧、打游戏也可以随手拿来吃。
有意思的是, 这款引流产品并不能扫码下单然后排队等取,只能现场排队去购买,并且限量每人两份 ,绝大部分人在购买麻薯的同时,都会再买上其他一两样产品。
王瑜霄曾表示,“一份麻薯的单价在 18-19 元,平均每个顾客在墨茉每次消费 35-45 元。”
3、“复兴”国潮,定位中式烘焙
在门店的设计和产品的包装上,墨茉点心局都在走“国潮”路线。
门店Logo主体采用中国瑞兽狮子,门店装修以红蓝为主色调,门店招牌上的复古字体,配上高饱和度红蓝色调搭配,潮味十足,与近年来在时尚领域兴起的国潮风不谋而合。

(图源:网络)
在产品包装上,墨茉点心局把非遗文化“皮影戏”运用到了品牌体验、产品包装中......
相比传统点心店,这样的风格显然对年轻消费人群更有吸引力,更有记忆点,更容易引发朋友圈的分享转发。
不得不说,“国潮”这碗饭真香。
4、社交传播的流量密码——年轻人
利用社交媒体的流量进行传播已经是公认的品牌传播的必要途径。
作为一个网红品牌,墨茉点心局从起步之初,就开始持续地通过小红书等社交媒体投放种草笔记, 至今在小红书平台上搜索,可以看到关于“墨茉点心局”的笔记数量已经超过5700篇。在抖音短视频平台上,关于“墨茉点心局”的话题*放播**量也超过了116.8万次。
这些打法都是围绕年轻消费人群的流量来做的,与开在街边或在超市设摊位的传统中式点心店形成了很强烈的差异化对比。
正如美团点评的统计显示,中式烘焙门店消费者中,最主力人群是年龄介于25-30岁之间的年轻人,占比达36%,新中式烘焙品牌爆红的原因之一,就在于抓住了年轻消费者的喜好。

火热背后的隐忧
不可否认,墨茉点心局目前确实受到了资本和消费者的双重青睐,但高光的背后,其实也有着地基不稳的发展隐忧。
推爆款、KOL种草、讲故事,墨茉点心局是典型的网红发展路径——选择一个缺少头部竞争的赛道,推出爆款,通过故事和社交媒体平台讨好年轻人,在获得大量流量以后吸引资本入局,最后回头为品牌注入足够的文化内涵。
网红打法可以使新品牌快速崛起,但如果不能保证产品持续的后劲,最终结果只能是消费者“来也匆匆,去也匆匆”。
除此以外,“国潮”标签如今正成为很多新消费品牌进入市场的通行证,以此更快吸引年轻人的目光。
但当国潮盛行、处处国潮时,不仅容易让消费者产生审美疲劳,用户也会对“国潮”名号背后究竟有多少真正的文化内涵产生质疑。
值得一提的是,新中式烘焙市场上,墨茉点心局并不是独一无二的,成立于 2019 年,同为中式点心、同出身长沙的虎头局渣打饼行也备受资本热捧,墨茉点心局和虎头局之间,同质化特别严重。

(图源:网络)
对于整个市场而言,新中式烘焙赛道已是红海一片,前有鲍师傅等老字号品牌入局,后有墨茉点心局、虎头局、轩妈等新兴品牌强势崛起,市场到处都是清一色的肉松小贝、麻薯、蛋黄酥……
对此, 注重创新、加大研发、推陈出新才是糕点店消解同质焦虑、赢得挑剔味蕾的新解法。
毫无疑问,新中式烘焙虽然是个好赛道,但年轻人却普遍缺乏忠诚度,容易喜新厌旧,所以对墨茉点心局来说,在资本的催生之下,跑得快的同时,如何还能跑得好也依然非常重要。
市场需要好故事,但只有经得起推敲的好故事叠加过硬的品质才能获得长久的生命力。
在资本的加持下,墨茉点心局也迎来了飞速扩张期。
目前,墨茉点心局一共有 28 家店铺开业,10 家准备开业,都在长沙。
今年 8 月下旬,墨茉点心局的创始人王瑜霄到北京看场地,计划在今年结束前进入北京市场。
B轮融资之后,墨茉点心局年内打算开 50 家,同时计划今年在武汉和北京开设少量门店。
此前,文和友和茶颜悦色都有走出长沙的尝试,但突围并不那么容易,墨茉点心局会是个例外吗?
参考消息:
1. 晚点LatePost:一年融五轮,墨茉点心局创始人说,要去全球开上万家店
2. 互联网那些事:“墨茉”戳到中式糕饼的嗨点
3. 品牌观察报:1家店1个亿,墨茉点心局贵在“网红”?
4. 新消费智库:1年5轮融资,六七十平米值上亿,冰火两重天的烘焙市场,资本看重哪一口?