由英国航空工程师查尔斯•理查德•费尔雷爵士(Sir Charles Richard Fairey)于1915年创立的费尔雷航空公司作为英国老牌航空工业集团曾在二十世纪前半叶创造了许多传奇而经典的机型,诸如“费尔雷III”,“剑鱼”与“塘鹅”。上世纪五十年代,世界航空工业已经进入了超音速时代,虽已日渐式微的费尔雷航空却也凭借其“德尔塔”系列验证机,在航空工业史上留下了自己浓厚而辉煌的最后一笔。
英伦三角翼先锋
二战末期,费尔雷内部提出了一个利用大仰角滑轨弹射升空的轻型战斗机设计,设想中的这种轻型战斗机可以从较小的舰艇上弹射起飞。此概念非常类似战时护航航母短缺时期,英国商船队中配备的CAM船,CAM船的舰艏上安装有一具弹射轨道,可在德军远程海上巡逻机/轰炸机迫近时将一架安装有火箭助推器的飓风IA战斗机发射升空,在击落或驱离德机后,飓风的飞行员需要驾驶战斗机在船队附近迫降或弃机跳伞,再由护航舰艇打捞上船。二战中CAM船一共发射了9架飓风IA战斗机,取得了击落9架,击伤1架,驱离3架德军海上巡逻机/轰炸机的战绩。虽然9名飞行员中仅有约翰•肯德尔中尉(FO. John B. Kendal)一人因为降落伞失效而丧生,但在缺乏弹射座椅与现代化求生手段的上个世纪四十年代,这仍是一项非常危险的任务。

二战初期英国商船队中配备的CAM船,CAM是Catapult Aircraft Merchant的缩写
因此,在费尔雷航空最初的设想中,由滑轨弹射起飞的战斗机在完成任务后可以使用传统起落架在航空母舰上使用阻拦索降落,以此实现重复使用。1946年7月,费尔雷航空获得了一份细化并进一步发展此概念的合同,费尔雷航空为此制造了一系列火箭动力的无线电遥控缩比实验体,费尔雷的航空工程师们在无人实验体上尝试了许多不同的气动构型,包括多种后掠翼,三角翼,甚至是前掠翼。

1940年代末的费尔雷垂直起飞截击机概念

发射架上的火箭动力缩比实验体
火箭动力的缩比实验体于1949年在威尔士的卡迪根湾进行了第一试射,之后又在澳大利亚的伍默拉山脉综合试验场(RAAF Woomera Range Complex)进行了多次试射。1953年,费尔雷航空完成了最后一次试射,确定了最终的喷气式垂直起降(VTO)截击机设计方案。

试飞中的火箭动力实验体
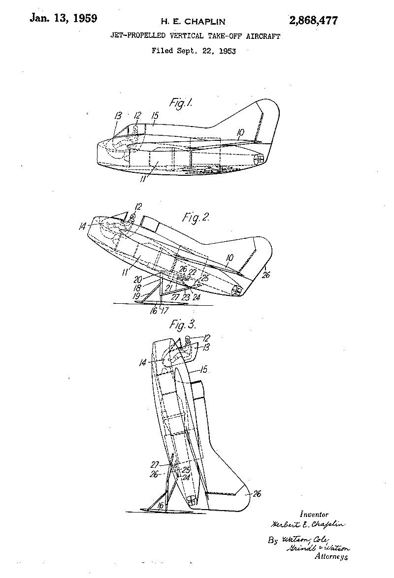
根据设计,这架VTO截击机将使用无尾三角翼构型,同时拥有一个海平面静推力大于飞机起飞全重的动力单元,以此使其有能力以接近垂直的角度从甲板上起飞并迅速爬升;取消了早期设想中的大仰角滑轨,取而代之的是一个位于机腹的支架,截击机在起飞的时候将使用支架自力将机体起竖调整到几乎与飞行甲板垂直的角度;无论机身与飞行甲板的角度是多少,飞行员座舱都可调整至与甲板平行的位置;VTO截击机可以垂直降落,同时在必要情况下也可以使用起竖支架上的滑橇以常规姿态降落。

费尔雷VTO截击机设计概念
尽管费尔雷航空在四十年代末大力宣传其VTO截击机构想,但供应部(MoS)对垂直起降战斗机并不十分热衷,只是对其VTO设计中使用的三角翼构型非常感兴趣。于是供应部希望费尔雷可以将此设计转换为传统起降模式的研究型飞机以满足空军部发布的E.10/47规格,主要作为研究三角翼构型在跨音速区间内气动表现的实验平台使用,并发出了一份生产三架原型机的合同。在接受合同后,费尔雷的航空工程师们在其VTO截击机设计方案的基础上进行了一系列改动,最终结果是在费尔雷内部被称为 “R型”的小型无尾三角翼喷气实验机设计,使用机头进气布局,一台能够提供3600lbf推力的德文特-8涡喷引擎占据了这架小飞机绝大多数的机身空间,此设计最终被命名为“德尔塔1”(Fairey Delta 1),是英国第一架采用三角翼构型的飞机。

圆滚滚的德尔塔1三角翼验证机

德文特-8离心式涡喷引擎
首架编号VX350的德尔塔1于1950年初走下生产线,并被运送到曼切斯特机场使用那里的4200英尺跑道进行滑行实验。相比图纸上的R型设计,德尔塔1的垂尾顶端安装了一块三角形的控制面以消除飞机在加速过程中不受控制的俯仰问题,这让德尔塔1拥有了一个T型尾翼。此后德尔塔1通过陆地被运输至皇家空军巴斯坎道基地(RAF Boscombe Down),并于1951年3月12日由试飞员理查德•斯莱德上校(Gp Capt. Richard G. Slade)驾驶,成功进行了长达17分钟的首飞。

试飞中的VX350
在VX350上进行的飞行测试主要集中在探索三角翼构型的横向与纵向稳定性,及其整体飞行特征上,测试中德尔塔1严重的飞行稳定性问题被暴露了出来,这架飞机被认为非常“难以控制”。1951年9月,VX350在一次测试飞行后,于着陆阶段发生事故冲出了跑道,此后与德尔塔1相关的测试飞行任务全部中止。在停飞两年后,空军部于1953年正式结束了德尔塔1的飞行测试项目,合同中后两架德尔塔1的生产计划也遭到了取消。

1951年9月在着陆过程中冲出跑道的VX350
在项目取消后,费尔雷航空在没有国家支持的情况下继续自费进行德尔塔1的飞行测试,直到1956年唯一一架原型机VX350在着陆事故中严重损毁为止,至此费尔雷在德尔塔1项目上额外花费了382000英镑,大致相当于今天的10097740英镑。虽然德尔塔1项目半路夭折,但这并未阻止费尔雷航空探索高速三角翼构型航空器的雄心壮志,在德尔塔1项目取消的一年前,另一个最终将会创造奇迹的项目已经悄然走上了舞台。
超越1.5马赫
1947年,英国空军部发布了设计规格ER.103,旨在寻求一款可以在36000英尺高度达到1.5马赫飞行速度的验证机。英国电气于1948年11月针对此设计规格提交了他们的纵列双引擎后掠翼构型设计案,并于1949年初成为了P.1超音速验证机。此时费尔雷也在进行双引擎超音速验证机设计,但是由于英国电气P.1的开发进度遥遥领先,供应部并没有兴趣再采购一款类似的验证机。

英国电气P.1纵列双发超音速验证机
于是费尔雷转而开始设计一款基于ER.103规格框架的单引擎超音速验证机,在公司内部被称为“V型”。1951年11月,前霍克飞行公司的航空工程师罗伯特•里克利爵士(Sir Robert L. Lickley)被招募至费尔雷航空担任总工程师兼技术总监,他在霍克“海鹰”舰载喷气式战斗机设计团队中的工作经验极大地帮助费尔雷航空推动了其超音速验证机的开发工作,而从德尔塔1项目中取得的三角翼构型飞行特征数据也在V型的设计中获得了应用。尽管V型的开发工作在当时不得不让步于拥有更高优先级的“塘鹅”舰载反潜机,但费尔雷航空依然于1952年9月完成并向政府提交了V型的整体设计,项目正式被命名为“德尔塔2”(Fairey Delta 2)。

德尔塔2三视图

首架德尔塔2验证机,WG774
德尔塔2拥有圆形的机身截面,一个较小的驾驶舱流畅地嵌在细长的锥形机头内,气动布局采用了无尾大后掠三角翼构型与翼根进气道,没有任何突起的光滑机翼厚弦比仅为4%,非常纤薄,由一台罗尔斯-罗伊斯“埃汶”RA.14(Avon RA.14)轴流式涡轮喷气发动机提供动力,使用眼睑式可变截面积尾喷管,同时为了减小较长的机鼻在降落与起飞时大仰角状态下对飞行员视野的遮挡,德尔塔2革命性地采用了可下垂式机头设计。不仅如此,德尔塔2还是英国首架采用全液压控制系统的飞机。

埃汶RA.14轴流式涡喷引擎

1952年费尔雷的可下垂式机头设计图

德尔塔2的眼睑式可变截面积尾喷管

展出中的德尔塔2,可下垂式机头设计清晰可见
1954年10月6日,编号WG774的首架德尔塔2验证机在巴斯坎道空军基地完成了首次试飞,试飞员是皇家海军少校彼得•特维斯(Lt Cdr. Peter Twiss),首飞非常成功,特维斯评价道“这是一架非常绅士的飞机,它飞起来很稳定”。1954年11月17日,特维斯在驾驶WG774进行第十四次试飞时,机身内部的集油箱突然破裂并切断了发动机的燃料供应,此时飞机正处在30000英尺的高空,距巴斯坎道空军基地30英里。为了挽救飞机,特维斯决定留在WG774上,驾驶失去动力的飞机滑翔返回巴斯坎道。由于液压操纵系统压力不足,在降落时仅有前起落架成功放下,最终WG774以超过每小时170英里的速度迫降在了巴斯坎道空军基地的跑道上,机翼严重受损,直到来年8月份才完成修复并重新开始试飞。1956年2月15日,第二架德尔塔2,WG777首飞并轻松达到了跨音速。

试飞员彼得·特维斯与总工程师罗伯特·里克利

1954年11月17日迫降在巴斯坎道空军基地的WG774
费尔雷航空内部认为德尔塔2拥有无与伦比的速度潜力,极有可能向当时的世界空速记录保持者,北美航空F-100C“超佩刀”发起挑战,后者于1955年8月20日创造了822.135英里每小时的空速记录。然而英国政府似乎对此完全不感兴趣,在某种程度上,似乎政府上下都在极力反对费尔雷进行这一尝试。按德尔塔2项目首席试飞员特维斯的话来说,现实情况与他们的预期“奇怪地颠倒过来了”,在此之前费尔雷航空一直认为政府会热情地支持这种创纪录的飞行,以此提升国家威望。虽然被英国政府泼了冷水,但费尔雷航空还是决定自费来进行创纪录飞行,官方部门不仅没有给予该公司任何财政支援,还要向费尔雷收取租借政府资产的费用。

前任世界空速记录保持者,北美航空F-100C-1-NA“超佩刀”53-1709号机
1956年3月10日,在特维斯的驾驶下,WG774在38000英尺高度打破了国际航空联合会世界空速记录。在奇特斯特与朴次茅斯之间,一段15km/25km的直线航道上,WG774飞了两次通场,空速分别达到了1117英里每小时与1147英里每小时,平均空速1132英里每小时,合1.731马赫,一次性将世界空速记录提高了310英里每小时,即37%,在此之前空速记录从未如此大幅度地提高过,这一成就也使德尔塔2成为了世界上第一架以超过1000英里每小时速度飞行的飞机。此记录一直保持到了1957年12月12日,由麦克唐纳JF-101A“巫毒”以每小时1207.6英里的空速打破。成功的创纪录飞行被费尔雷航空视为公司的重大成就,并激发了其在德尔塔2基础上建立超音速战斗机家族的雄心。

艺术家画笔下正在进行创纪录飞行的WG774
1956年4月14日,在进行了最后一次制造商试飞后,两架德尔塔2正式交付至皇家航空研究院(RAE),进行稳定性与操控性研究飞行。1956年9月,两架德尔塔2在范堡罗航展上进行了表演飞行。

创纪录飞行后的WG774,可见座舱下方的“世界空速记录保持者”字样
帝国日暮
费尔雷航空希望进一步延续德尔塔2的成功,因此开始着手发展以德尔塔2为基础的超音速战斗机设计。作为ER.103项目的延伸,武装化后的德尔塔2设计被称为ER.103/C。设计上ER.103/C基本可以视作是一架放大了的德尔塔2,气动布局基本原封不动地延用了德尔塔2成熟的无尾三角翼构型,计划由仍在研制中的罗尔斯-罗伊斯RB.122涡喷发动机提供动力,在修型后的鼻锥内安装有一部对空搜索雷达,翼尖挂架可挂载两发德哈维兰“火闪”导弹(de Havilland Firestreak)。费尔雷航空对外宣称ER.103/C在55000英尺高度可以达到惊人的2.26马赫极速。

ER.103C单座轻型战斗机设计案
1955年1月15日,为了应对来自苏联远程航空兵的威胁,供应部发布了F.155超音速截击机设计规格。F.155设计规格要求新型截击机应采用双发构型,双人机组,配备强大的新型机载雷达,可以挂载仍在研制中的“蓝灶神”(Blue Vesta)被动红外制导空空导弹与“红牧师”(Red Dean)或“红赫柏”(Red Hebe)主动雷达制导空空导弹。为了满足F.155设计规格的要求,费尔雷航空修改了他们的ER.103/C战斗机设计,进一步扩大了机身以容纳双人机组与口径更大的雷达系统,但却并未按要求使用双发构型,原因是该公司认为单发构型有利于日后进行出口。

费尔雷最早的F.155单发并列双座截击机方案
但在认识到供应部对双发构型的执着后,费尔雷重新设计了一款更大的双发截击机,此设计被称为“德尔塔3”。考虑到飞机的设计,开发风险,设计团队的能力与制造商的工作量,阿姆斯特朗-惠特沃斯的AW.169与费尔雷航空的德尔塔3被认为是最合理的选择,在1956年底,阿姆斯特朗-惠特沃斯宣布退出F.155项目的竞标,德尔塔3似乎胜利在望。

德尔塔3双发并列双座截击机三视图
然而,1957年1月14日,邓肯•桑迪斯勋爵(The Lord Duncan Sandys)作为麦克米伦内阁的国防大臣走马上任,并于1957年4月颁布了著名的《1957国防白皮书》,极大地影响了英国的国防势态,尤其是航空工业的发展。《1957国防白皮书》指出,苏联正在全力发展的弹道导弹将会淘汰远程轰炸机,从而将英国传统的防空部队置于无用武之地,阻止弹道导弹袭击唯一的办法就是将其摧毁在地面上,在这种情况下,防空部队的存在毫无意义;同时随着导弹系统的发展,价格低廉的导弹将会取代作战飞机,继续发展传统的,由飞行员驾驶的作战飞机是不合算的。

邓肯·桑迪斯
于是,大量仍处在开发阶段的项目在短时间之内遭到取消,其中就包括阿芙罗730三马赫侦察机/战略轰炸机,桑德斯-罗SR.53与SR.177截击机,只有英国电气P.1由于项目完成度过高,最终得以幸存下来,并于1960年正式列装皇家空军成为了“闪电”F.1截击机。而尚未脱离绘图板的F.155项目与德尔塔3显然无法从大*杀屠**中幸免,于1957年4月4日遭到取消,F.155项目的配套工程诸如新一代空空导弹“蓝灶神”与“红牧师”/“红赫柏”,罗尔斯-罗伊斯的R.106与R.122涡喷引擎也一并下马。

桑德斯-罗SR.53涡喷-火箭混合动力截击机
1959年10月14日,桑迪斯出任新组建的英国航空部(Ministry of Aviation)部长,当时的英国航空制造业正处于风口浪尖之上。英国航空工业公司众多,却缺乏活力,普遍认为这是由于战后订单大幅减少,制造商之间的竞争变得愈发激烈,而且不断受到美国大型企业冲击的结果。这种情况在英国国内引发了大规模的辩论“在没有明显理由的情况下,英国真的需要航空工业吗?”。于是,在桑迪斯出任航空大臣后,经他大力游说,议会通过了一项旨在合并现有航空工业公司的法案,通过整合约二十家航空工业相关企业的人才与资源,从而使本国的航空工业“合理化”。
在合并潮中,英国电气、维克斯-阿姆斯特朗、布里斯托与汉廷合并成为了英国航空公司(BAC),霍克、德哈维兰、布莱克本、福兰德与阿姆斯特朗-惠特沃斯并入到了霍克-西德利旗下,而费尔雷的航空工业部门则与布里斯托的直升机部门,桑德斯-罗一起并入韦斯特兰,最终于1961年成为了韦斯特兰直升机公司。自合并之后,费尔雷航空再也没有自行设计生产过任何一型飞机,谁能想到,创造了奇迹的“德尔塔2”会是费尔雷航空的收官之作。
闪耀的余辉
1950年代初,随着实用超音速时代与喷气式客机的到来,超音速客机被普遍认为是未来的发展方向。然而在那个时代,典型的超音速机翼构型都有低速情况下升力不足,操控性能低下的缺点,很难在大型客机上实现应用。1955年,空气动力学家约翰娜•韦伯(Johanna Weber)与迪特里希•库奇曼(Dietrich Küchemann)提出了这一问题的解决方案。他们发现在低速大仰角的情况下,大后掠三角翼会在机翼上表面形成涡旋,涡旋提高了机翼上部气体流动的速度,从而大幅增加了低速时的升力。在此理论的基础上,RAE进一步发展出了被称为S型三角翼(Ogee或Ogival Delta-Wing)的新型三角翼设计。

S型三角翼设计
这种新型三角翼是传统大后掠三角翼优化后的产物,机翼前缘靠近翼根的部分后掠角极大,用以产生强有力的增升涡旋,在经过后掠角相对较小的中段后,在靠近翼尖的位置,机翼后掠角再一次急剧增大以降低阻力。这种机翼构型唯一的问题在于,飞机在降落与起飞时必须要保持相当大的迎角才行,因而需要采用可下垂式机鼻设计优化起降期间的飞行员视野。
在HP.115验证机上,英国航空工程师们证实了细长的S型三角翼所蕴含的巨大价值,由此基本奠定了“协和”超音速客机的总体设计,以至于英国功勋试飞员埃里克•布朗(Eric Brown)在其回忆录里称“(S型三角翼的出现)是协和客机项目真正的开端”。然而作为低速验证机的HP.115最快也只能达到248英里每小时,此时仍需一款高速验证机,以测试超音速情况下S型三角翼的气动表现。

HP.115三角翼验证机
早在1958年,RAE就与费尔雷航空开始讨论将一架德尔塔2改造为S型三角翼验证机的可行性。1959年底至1960年初,受合并潮的影响,将德尔塔2转化为高速S型三角翼验证机的开发工作被暂时搁置。1960年7月,韦斯特兰将项目转予BAC旗下的布里斯托。就这样,生于费尔雷航空的WG774于1960年9月5日被运往布里斯托的菲尔顿工厂,改造工作于1961年4月开始进行。1961年7月7日,传奇的WG774再一次走下了生产线,机型被重新命名为BAC 221。

转化为BAC 221后的WG774

BAC 221侧视图,可见如同高跷一般的前起落架
BAC 221拥有一副一直延伸至鼻锥的S型三角翼;进气道被调整到了翼根下方,弯曲的进气管道在机翼上表面造成了明显的凸起;为模仿协和的地面姿态而增高的前起落架让BAC 221看上去就像是踩着高跷一样,同时BAC 221的引擎也由原本的RA.14更换为了新一代的RA.28。1964年5月1日,BAC 221完成了首飞,并在接下来的实验飞行中达到了1.6马赫的极速。此后BAC 221继续为协和超音速客机项目探索高速情况下的飞行包线,为世界上首型也是目前唯一一型超音速客机的研发工作立下了汗马功劳。

BAC 221三视图
1973年,WG774在完成了其验证机的工作后默默退役,目前静静地陈列在海军航空兵博物馆中,向来宾们讲述着那昙花一现的辉煌。传闻法国达索航空的创始人马塞尔•达索(Marcel Dassault)曾隐晦地向一位英国航空官员这样描述传奇的德尔塔2:“你们本可以造出属于英国的幻影”。

海军航空兵博物馆中与协和002号原型机陈列在一起的WG774