智东西(公众号:zhidxcom)
从2013年到2018年,人工智能+零售创业公司在374笔交易中筹集了18亿美元,而这一切主要归功于亚马逊公司,因为这家科技巨头迫使零售商重新考虑他们的电子商务战略并在实体和汽车领域进行创新以保持竞争力。来自亚马逊的竞争,对透明度和投资的需求正在改变人工智能+零售领域。
本期的智能内参,我们推荐CB-Insights的报告《 顶级AI+零售趋势 》,详细解析AI+零售行业的十个未来趋势。如果想收藏本文的报告全文(顶级AI+零售趋势),可以在智东西头条号回复关键词“nc306”获取。
以下为智能内参整理呈现的干货:

AI智能货架
超市的货架空间是有限的,大品牌通常需要支付数千美元来竞争这些空间。但是,除此之外,他们几乎无法了解商店里发生的事情,现在 AI正在改变这一点。
“货架费”并不是零售业的新概念。 根据2001年发表在《法律与商业杂志》上的一项研究, Apple & Eve 在一些商店花费了大约15万美元来保证他们的果汁产品的货架空间,而Frito-Lay平均每家超市花费100,000美元购买货架用于推出新产品 。今年早些时候,Whole Foods考虑向其顶级供应商收取约30万美元的货架费。但是,虽然品牌与超市签订了合同,但他们几乎无法了解超市货架上发生的事情以及他们的产品是否按照承诺展示。
一些初创公司正在利用这一点,开始销售实时货架数据。
计算机视觉平台Trax Retail使用店内摄像头,机器人或手机中的图像分析实体货架上发生的情况,以创建实体店的数字版本。
传统品牌会派销售人员或审核员手动检查商店中的产品放置。虽然Trax的产品仍然需要人们访问超市,但它正在尝试自动跟踪货架和分销等指标。像沃尔玛这样的超市正在考虑直接向制造商销售这些数据。以下是沃尔玛最近的专利申请摘录。

▲沃尔玛最近的专利申请
零售商需要店内数据来跟踪物品和管理库存等。沃尔玛与Bossa Nova Robotics合作,监控其50家商店货架上的错误价格标签和丢失物品。但上述专利暗示了一个更具未来感的计划,即店内零售机器人接收来自外部供应商的实时数据请求。然后,系统在自动机器人完成任务之前向供应商收取任务费用。

AI假货鉴定
假货越来越难以发现。从奢侈手袋到手表和化妆品,网购到假货的概率比以往任何时候都更高,这迫使品牌尝试用人工智能解决这个问题。
从药品到包包再到智能手机,假冒是一个影响所有类型零售的问题。一些仿制品看起来非常接近正品,以至于它们被归类为“超级假货”。CB Insights平台上的一个简单的关键字搜索表明,关于仿冒品的讨论越来越多。

▲近些年仿冒品的关键词次数
专利申请,包括防伪技术和开发难以伪造的产品,在过去的5年里一直在增长。

▲防伪专利申请
一家名为Cypheme(赛纷)的创业公司,把独特的标签和人工智能软件相结合,以此来鉴定产品真伪、打击仿冒行为。其基于油墨的技术可用作产品的标签,或直接印在标签和包装上。

▲Cypheme公司AI防伪技术
标签上的声纹识别图案被直径为1厘米、用Cypheme公司独有的橙色油墨打印的圆圈包围。该公司声称,这种特殊的橙色无法被商用或者工业打印机上使用的油墨模仿。然后每个独特的标签会与数据库上的特定产品相关联。人们可以使用智能手机相机和基于神经网络的app进行模式识别,以根据数据库验证特定产品的真伪。

AR和计算机视觉使化妆品销售更智能
化妆品零售中的虚拟试用有双重目的:1、解决美容购物者的痛点,2、收集零售商的消费者和产品偏好数据。
化妆品是AR技术应用已经取得成功的一个行业。 AR在2017年成为整个行业的主流。完美公司和Modiface都为美容品牌提供虚拟试用技术,并与包括丝芙兰在内的主要企业合作。 Perfect Corp和Modiface都将AR和计算机视觉相结合,让购物者可以尝试不同的产品,同时收集客户的行为数据。 Modiface的技术可以收集有关面部特征的各种数据,包括面部形状,肤色,皱纹等。

▲化妆品品牌
这可以帮助零售商确定具有特定面部特征的人购买某些类型的产品的可能性,从而可以更准确地预测销售量。
最初,该技术被用来解决美容购物者容易尝试化妆品的痛点,即没有乱七八糟的东西。 L'Oréal今年早些时候收购了Modiface,帮助该公司为L'Oréal的美容品牌推出了各种AR化妆品体验。它最近还与Facebook建立了长期合作伙伴关系,在社交网络平台上为其投资组合品牌创建AR美容体验。在Facebook上,用户可以使用智能手机相机虚拟试用产品,然后无缝重定向到父网站进行购买。 L'Oréal也推出了基于Modiface的网络试用版,与L'OréalParis品牌一样。

AI控制的微物流中心
无论是购物者选择1小时送货上门还是在网上订购并在一小时内到店取货,AI运营的微型物流中心会让超级市场的利润更高,同时帮助他们直接与客户互动。
亚马逊去年收购的Whole Foods及其持续的网上零售扩张正在推动其他零售商走向电子商务战略。

▲AI微物流中心面积对比
微物流中心为超市提供了另一种选择:可以在现有超市内安装的迷你,垂直堆叠仓库,可选择运行自己的电子商务界面或利用开发技术的初创公司的端到端解决方案。
与传统仓库相比,整个“迷你仓库”的面积不到10K平方英尺(大约3,000平方英尺),而传统仓库的面积可以达到足球面积。货架垂直堆放以节省房地产空间,可以安装在现有的超市,建筑物的地下室,甚至是停车场内。地面机器人在过道之间移动以获取订单中的物品并将其交给人工进行最终包装。
AI软件用于决定货架中的货物放置,确定任务的优先级,并将导航指令发送到地面机器人。根据尼尔森和食品营销研究所最近的一份报告,消费者在线订购并在店内购买正在迅速发展。人口稠密地区的微型中心提供有效的拾取解决方案。其次,零售货架空间有限。这些垂直堆叠的微型中心将使超市能够保留比商店通常更多的库存。

语音购物革命还没到来
语音购物没有腾飞。除了重新排序特定项目之外,它无法提供推动在线商务的关键客户体验。
如今,很少有消费者使用亚马逊Alexa进行购物,语音商务尚未成为主流。 The Information的一份报告发现,只有2%的亚马逊Alexa用户使用语音界面在2018年购买产品,其中只有10%是回头客。事实上,除亚马逊和谷歌之外,没有人讨论使用亚马逊Alexa或Google智能助理进行语音购物。对于想要查看商品,比较产品和价格,或阅读产品功能的在线购物者来说,语音不是一个方便的界面。

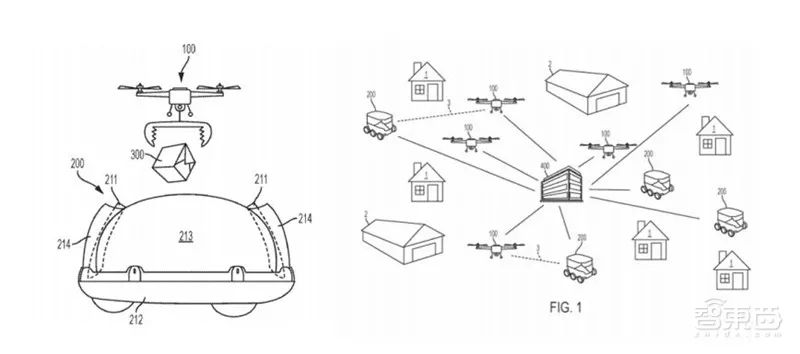
沃尔玛全力投入机器人技术研发
零售和运输机器人的投资回报率可能尚不清楚。但沃尔玛的专利揭示了雄心勃勃的计划,从语音控制无人机到协调无人机交付。
自2017年1月起,沃尔玛已申请至少37项与无人机和地面机器人相关的专利,而2016年仅为8项。下图显示了沃尔玛与亚马逊相比的专利申请,亚马逊因其雄心勃勃的机器人专利而闻名。

▲沃尔玛机器人专利
沃尔玛的大部分专利都涉及无人机,用于最后一英里交付。这是一份2018年专利申请,用于无人机和自动地面车辆(AGV)之间的自动包裹交换。

▲沃尔玛2018年一份专利
另一项专利讨论了一种系统,该系统使用自动机器人来检测一个设施中的缺失物品(例如,商店货架上的缺货产品)并用另一个设施的物品补充它。

▲自动机器人专利

AI收银员防止行窃
Amazon Go取消了整个结账过程,允许购物者挑选物品并走径直出去,这在过去就像是在行窃。
亚马逊尚未公开计划将其技术即服务出售给其他零售商,并且一直对运营,成功和痛点持严格保密态度 - 仅表明其使用传感器,相机,计算机视觉和深度学习算法。它否认使用面部识别算法。像Standard Cognition和AiFi这样的初创公司抓住了这个机会,让其他零售商将Amazon Go民主化。一个挑战即将到来的商店面临的是他们向正确的购物者收取适当金额的好处。
据全美零售联合会(National Retail Federation)称,由于入店行窃和文书工作错误造成的库存损失等因素导致2017年美国零售商损失约47亿美元。创业公司AiFi的首席执行官史蒂夫古(Steve Gu)最近在接受“人工智能播客”(The AI Podcast)采访时表示,“购买就像偷窃”,他讨论了无人收银商店背后的技术。到目前为止,Amazon Go是唯一成功的商业部署,但成功的参数受到严格保密。当可以控制谁进入商店并自动收费时,可以最大限度地减少入店行窃的可能性。
亚马逊已经建立了Prime会员基础。到目前为止,所有Go商店仅限于会员,其他零售业务,如向公众开放的Kindle商店,仍然依赖于手动结账流程。较小的便利店,甚至几个成熟的超市必须从头开始建立会员基础。
史蒂夫古在前面提到的播客中暗示,对于愿意*载下**应用程序的人来说,可能会有一个“拿走商品并离开”部分,而对于那些不想要的人来说,可能会有一个单独的结帐通道。目前尚不清楚商店的基础设施如何支持两者,但潜在的应用程序用户可以扫描一次进入,一次退出 - 与目前只扫描手机一次进入的流程不同 - 确保非应用用户通过单独通道。
这仍然会导致销售点库存缩减,例如不正确的计费物品或POS盗窃。中国的Yitu Technology和东芝凭借其用于结账的智能相机,是一些单独处理POS盗窃的公司。防止盗窃的复杂性取决于操作的规模和规模以及货架上的产品类型。亚马逊Go商店的面积仅为1,800至3,000平方英尺,并使用数百台相机,几乎涵盖了每一寸天花板空间。相比之下,传统超市可达40,000平方英尺或更多。除了用于视觉识别的相机之外,Go还使用货架上的重量传感器,目前仅提供有限的选择,例如准备和包装的餐具。

中国无人售货浪潮
亚马逊宣布亚马逊Go计划后不久,中国的无人零售交易激增。

▲中国无人零售交易
这些包括“无人商店”,“无人货架”,甚至“无人自动售货机”。然而,并非所有在中国涌现的无收银员初创公司都使用人工智能。最早的交易之一是F5 Future Store,它已筹集了超过700万美元,并且似乎在自助支付和结账系统上运作。 BingoBox在18年第一季度筹集了8000万美元,使其总资金达到了9400万美元。其无人商店依赖RFID标签,客户仍需扫描产品以完成结账流程。但BingoBox此后宣布其商店正朝着基于人工智能的图像识别解决方案发展。超过10家公司已经为无人自动售货机筹集了大约15笔投资 - 这些机器从一开始就没有人工配备。

▲中国无人售货机投资
一些“无人零售”公司,如美味生活,已筹集超过900万美元的股权,但只是允许用户扫描二维码打开自动售货机门拿取他们支付的项目。
其他像hgo BOX这样从中国UCF集团收到约100万美元的企业少数股权,声称使用计算机视觉来识别从货架上挑选哪些产品并自动向客户收费,除了“监控”客户以便他们不这样做破坏机器。
这个领域已经看到了一些重大失败。据报道,由于“盗窃和管理不善”,果小美筹集了超过6400万美元用于“无人零食货架”,据报道其裁员并将其商业模式改为电子商务。
京东是中国第二大电子商务平台,于18年1月在中国山东开设了第一家无人便利店。它声称是第一个完全向公众开放无人便利店,但技术与亚马逊不同。回顾一下,Amazon Go商店的客户必须扫描他们的Go应用程序才能进入。之后,系列摄像机跟踪整个商店的顾客流动,绕过了部署面部识别算法的需要。相反,用户在进入JD商店时扫描QR码。相机运行面部识别算法以在进入期间识别购物者。 JD实体店中的每件商品都带有RFID标签。退出时,客户站在地板上标有“站在这里”的标志,一次扫描所有RFID标签,摄像机再次运行面部识别算法为您的帐户收费。如今,京东在中国经营着20多家无人商店,并于18年8月在印度尼西亚雅加达开设了一家商店,最大面积约为2,900平方英尺。雅加达的办公地点出售服装和配饰以及包装商品。

送餐无人驾驶
尽管存在监管不确定性和部署挑战,但实体食品企业正在与主要原始设备制造商和自动驾驶汽车初创公司合作,以降低最后一英里的运输成本。
实体食品企业正在与自动驾驶汽车初创公司和主要原始设备制造商合作,以改善最后一英里交付物流。 6月,机器人创业公司Nuro与美国最大的实体店之一Kroger合作。 Nuro开发了自己的全电动自动输送车,称为R1,专为运输货物而非乘客。该车辆的宽度是乘用车的一半,设计用于在邻近道路上行驶,而不仅仅在人行道上。
由于与8月份在亚利桑那州斯科茨代尔推出的Kroger合作,Nuro正在使用配备该公司自动驾驶技术的丰田普锐斯和日产Leaf车队。这些车辆收集最终输入R1的数据,该公司计划在今年秋季进行公开测试以取代传统的乘用车。
在餐饮行业,像Domino's和必胜客这样的披萨公司一直处于测试自动驾驶汽车技术的最前沿。福特正在迈阿密试行自助餐,包括披萨,杂货和其他商品的运送。该代工厂在2018年初与包括多米诺公司在内的70多家企业合作。目前,没有关于自动驾驶汽车测试和部署的联邦法律。法规因州而异。尽管围绕该州无人驾驶的行人死亡引发争议,亚利桑那州Kroger正在进行测试,该州对测试无人驾驶汽车特别自由。
食品零售商并未将其用于近期盈利或一夜之间广泛部署。即使对于像亚马逊这样的技术型运营商来说,最后一英里的物流也是一项挑战,早期参与自动地面交付为杂货零售商和餐馆提供了一个很有前途的解决方案,从长远来看,它们希望赢得经济实惠的最后一英里交付。

AI造型师的崛起
AI正在帮助零售商为消费者个性化购物体验。它还帮助他们为下一个时尚大趋势做好准备。
个性化造型为购物者提供了比在线浏览和搜索数千种产品列表更好的体验。 购物者可以在线快速查询他们的风格偏好。以此为出发点,人工智能算法随着时间的推移会越来越好,可能会吸引每个购物者,不仅可以从购买历史中学习,还可以从用户的浏览行为中学习。
这正是英国的Thread--一家提供个人购物服务的电子商务创业公司正在努力的方向。据报道,它有超过一百万用户。 最近,H&M的风险投资公司在一轮2200万美元的B轮融资中支持了Thread。
StitchFix公司做了类似的事情,但正在整合人工智能,不仅用于风格推荐,还用于需求预测,库存管理,甚至帮助设计师创建新风格。 该公司凭借其“混合设计”服装处于人工智能驱动时尚的最前沿,该服装由识别Stitch Fix库存中缺少的趋势和样式的算法创建,并根据消费者喜爱的颜色,模式组合推荐新设计和纺织品 - 供人类设计师参考。
今年早些时候,Tommy Hilfger宣布与IBM和时装技术学院合作。该项目使用IBM AI工具来破译实时时尚行业趋势,围绕Tommy Hilfger产品和客户情绪,以及重新塑造趋势风格的主题。然后将算法的结果反馈给人类设计师,他们可以使用它们来做出明智的设计决策。下一个时尚时代就是个性化和预测。随着越来越多的数据,算法将成为趋势猎手,以前所未有的方式预测(和设计)下一代时尚。
智东西认为,传统零售无疑是一个积累了海量数据的行业,其中包含大量顾客数据、购物数据、商品受欢迎度数据、商场环境数据等。AI 的作用就是消除数据孤岛,主动吸取并把它转换为结构化数据,从而提高经营效率。零售作为一种典型的商业综合体,绝大部分环节均能依靠人工智能实现自动化与标准化,从而减少人力投入。可以预见,随着技术的发展,未来将会有更多形态的AI产品与解决方案应用在零售当中。