角度测量是确定地面点位置的基本测量工作之一。为测定地面点的位置,需要进行角度测量。经纬仪和电子全站仪(简称全站仪)就是可以用于角度测量的基本工具,电子全站仪是经纬仪、电磁波测距仪、计算机系统的集成仪器(具有经纬仪的全部功能),经纬仪和电子全站仪可以测量的角度包括水平角和竖直角两种。电子全站仪与经纬仪的测角原理及方法基本相同,因此,本书在涉及水平角和竖直角测量问题时只讲经纬仪不谈电子全站仪。
5.1.1 经纬仪水平角测量原理
从空间一点出发的两个方向线的铅垂面间的二面角称为该两个方向线间的水平角(这个二面角与数学上的二面角不同,其数值范围是0°~360°,当角度为360°时应记为0°),也可说成从空间一点出发的两个方向线在水平面上的铅垂投影所夹的角度。



图5-1-1 水平角测量原理 图5-1-2 经纬仪平盘与水平角 图5-1-3 竖直角测量原理
β=b-a (3-1-1)
式(3-1-1)中,b、a值本身的大小是没有实际意义的(它们只是一个刻度值,测量上称之为水平方向值),b、a值可以是全圆型度盘上的任一刻度数(即B'A'和B'C'所在的竖直面可位于全圆型度盘的任何位置,亦即b、a值的大小决定于全圆型度盘的安放位置,安放位置不同其数值也不同,但b、a间的差值是不会因全圆型度盘安放位置的不同而发生改变的),b、a间的差值才是真正有意义的(其差值反映了水平角的大小,其差值即为水平角值)。
实际上,全圆型度盘并不一定要放在过B'的水平面内,而是可以放在任意水平面内,但其刻划中心(全圆型度盘圆心或中心)必须与过B'的铅垂线重合。因为只有这样,才可根据两方向读数之差求出其水平角值。
γ= a-b (3-1-2)
根据经纬仪水平度盘顺时针注记的特点,可得经纬仪测量水平角计算方法,即水平角等于沿顺时针方向前一方向的水平方向值减后一方向的水平方向值(若减出的结果是负值则应加360°),用一句顺口溜来讲叫做“水平角等于顺时针方向前减后,不够减加360”。
5.1.2 经纬仪竖直角测量原理
见图5-1-3。测量上的竖直角是指空间一个方向线的倾角,其定义是从空间一点出发的一个方向线与同一铅垂面内过该点的水平线间的夹角(即竖直角α),竖直角一般是指从水平线起算的角度(水平线竖直角为0°),方向线从水平线开始向上仰者(向上倾斜)称仰角、竖直角取正值(范围0°~90°);方向线从水平线开始向下俯者(向下倾斜)称俯角、竖直角取负值(范围-90°~0°)。
若竖直角用方向线与铅垂线的夹角来表示则称为天顶距,用Z表示,其角值大小由0°~180°,没有负值。显然,同一方向线的天顶距与仰(或俯)角之和等于90°,即
α=90°-Z (3-1-3)
经纬仪内部专门安放有侧立的、与水平度盘面垂直的、圆心通过望远镜旋转轴(横轴)的竖直度盘(简称竖盘)专供竖直角测量用,竖直度盘也是一个带有刻度的全圆型度盘。竖直度盘是与经纬仪望远镜固连在一起的,竖直度盘盘面(刻划面)垂直于望远镜的旋转轴。竖直度盘方向值读数指针(称竖盘指标线)是固定在经纬仪上不动的,指针的方向线与经纬仪竖直度盘盘面(刻划面)平行且通过望远镜旋转轴(即横轴,竖盘的圆心(刻划中心)也通过该轴且盘面与该轴垂直)。在竖直角测量过程中,竖直度盘方向值读数指针不动,竖直度盘随经纬仪望远镜的旋转而旋转,因此,经纬仪望远镜一动其竖直度盘方向值就相应发生变化。当经纬仪望远镜水平时竖直度盘方向值读数指针是指向90°(竖盘位于经纬仪望远镜目镜的左侧时(这种测量位置也称为盘左或正镜))或270°(竖盘位于经纬仪望远镜目镜的右侧时(这种测量位置也称为盘右或倒镜))的,这一点是经纬仪制造时必须保证做到的。旋转经纬仪望远镜瞄准目标点后可得到一个竖直度盘方向值(称倾斜方向值),该值与望远镜水平时的竖直度盘方向值(90°或270°)间差值的绝对值即为该方向的竖直角值(即经纬仪望远镜视准轴的倾角),仰俯角可根据该方向的倾斜方向判断(通常是根据竖盘结构及对应的计算公式直接计算得出的,见本书5.6部分)。跟水平度盘道理一样,竖直度盘也不一定必须在所测方向的铅垂面内,只要位于与其平行的铅垂面内且使刻划中心位于过空间该点并垂直于该铅垂面的直线上即可。
5.1.3 经纬仪概貌
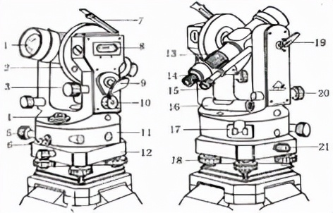
经纬仪是测量角度的仪器,它虽也兼有其它功能,但主要是用来测角的。根据经纬仪测角精度的不同,我国的经纬仪系列分为DJ07、DJ1、DJ2、DJ6 等几个等级(当然,随着中国加入WTO,这种等级划分标准也有些变化),D和J分别是大地测量和经纬仪两词汉语拼音的首字母,角码注字是它的精度指标(即水平角一测回测量平均值的最大偶然中误差)。图5-1-4是北京光学仪器厂生产的DJ6级光学经纬仪的外貌,经纬仪处于盘左位置。图5-1-5是苏州第一光学仪器厂生产的DJ2级光学经纬仪的外貌,(a)经纬仪处于盘左位置、(b)经纬仪处于盘右位置。
图5-1-4中,1为物镜、2为竖直度盘、3为竖盘指标水准管微动螺旋、4为圆水准器、5为照准部微动螺旋、6为照准部制动扳钮、7为水准管反光镜、8为竖盘指标水准管、9为度盘照明反光镜、10为测微轮、11为水平度盘、12为基座、13为望远镜调焦筒、4为目镜、15为读数显微镜目镜、16为照准部水准管、17为复测扳手、18为脚螺旋、19为望远镜制动扳钮、20为望远镜微动螺旋、21为轴座固定螺旋。

(a) (b)
图5-1-4 DJ6级光学经纬仪
图5-1-5中,1、物镜、2、望远镜调焦筒、3、目镜、4、照准部水准管、5、照准部制动螺旋、6、粗瞄准器、7、测微轮、8、读数显微镜、9、度盘换象旋钮、10、水平度盘拨盘手轮、11、望远镜制动螺旋、12、望远镜微动螺旋、13、照准部微动螺旋、14、基座、15、脚螺旋、16、基座底板、17、竖盘照明反光镜、18、竖盘指标水准器观察镜、19、竖盘指标水准器微动螺旋、20、光学对中器、21、水平度盘照明反光镜、22、轴座固定螺旋。


(a) (b)
图5-1-5 DJ2级光学经纬仪 图5-1-6 光学对中器构造
5.1.4 经纬仪的组成及读数方法
经纬仪主要由对中整平设备、照准设备、读数设备、等组成。
(1)对中整平设备
经纬仪对中整平装置包括三脚架、垂球(或光学对中器)、脚螺旋、圆水准器及管水准器、等。
(2)照准设备
经纬仪的照准装置又称照准部,它包括望远镜、横轴及支架、竖轴、控制望远镜及照准部旋转的制动和微动螺旋、等。

图5-1-7 常见经纬仪的十字丝


图5-1-8 经纬仪竖轴轴系结构示意 图5-1-9 复测扳手的工作机理
(3)读数设备
经纬仪的读数装置主要包括度盘、读数显微镜、测微器、等。不同精度、不同厂家的产品其基本结构是相似的,但测微机构及读数方法则差异很大。光学经纬仪最常见的读数方法有分微尺法、单平板玻璃测微器法和对径符合读数法。
1)分微尺法。见图5-1-10。图5-1-10中水平度盘读数为32°05.7′、竖直度盘读数为91°37.4′。

图5-1-10 分微尺法读数
2)单平板玻璃测微器法。图5-1-11为国产DJ6-1型光学经纬仪的读数窗影像。

(a) (b) (c)
图5-1-11 国产DJ6-1型光学经纬仪的读数窗影像
3)对径符合读数法。转动测微手轮使底窗横线上下的度盘刻划线对齐(图5-1-12之(a)就变成了图5-1-12之(b))方可读数,读数的要领是:
①在底窗上找度盘对径刻划线(度盘对径刻划线是指相差180°的2个度盘刻划线),图5-1-12之(b)中有2对对径刻划线,一对是139°和319°、另一对是140°和320°。
②底窗上度盘对径刻划线符合正像在左、倒像在右、相距最近标准的那对对径刻划线的正像刻划注记值就是要读的度(°),很显然,在2对对径刻划线中只有139°和319°符合标准,故度数值为139°。
③符合标准的那对对径刻划线间夹的格数就是要读的整拾分数,对径刻划线139°和319°之间夹了4个格,故整拾分数值为40′。
④从顶窗(测微窗)上读出不足拾分的值,测微窗上注记数字有2排,上边一排是分值(′)、下边一排是秒值(″),不难理解,测微窗每小格的格值是1″(可估读到0.1″),因此,顶窗读数为4′11.8″。⑤、将②、③、④值相加即为最终度盘读数(方向值),图5-1-12之(b)的正确读数为139°+40′+4′11.8″=139°44′11.8″。

(a) (b)
图5-1-12 对径符合读数的读数窗影像
4)光学半数字化读数。转动测微手轮使中间小窗横线上下的度盘刻划线对齐(图5-1-13之(a)就变成了图5-1-13之(b))方可读数,读数的要领是:
①上面小窗(T型)第一排显示完全的三位数的度盘刻划注记值就是要读的度(°),上面小窗下端扣住并显示的数字就是要读的整拾分数,图5-1-13之(b)读数为39°50′。
②从底窗(测微窗)上读出不足拾分的值,测微窗上注记数字有2排,上边一排是分值(′)、下边一排是秒值(″),不难理解,测微窗每小格的格值是1″(可估读到0.1″),因此,顶窗读数为9′19.8″。
③将①、②值相加即为最终度盘读数(方向值),图5-1-12之(b)的正确读数为39°50′+9′19.8″=39°59′19.8″。

(a) (b)
图5-1-13 “光学半数字化读数”的读数窗影像
在使用对径符合读数法和对应的光学半数字化读数法的仪器时,读数显微镜不能同时显示水平度盘及竖直度盘的读数。在经纬仪支架左侧有一个刻有直线的旋钮(称换像手轮),当直线水平时,所显示的是水平度盘读数;而直线竖直时则显示的是竖直度盘读数。此外,读数时应打开对应度盘(水平度盘或竖直度盘各有1个)的进光反光镜。
“光学半数字化读数”有很多变异形式,不仅2″级光学经纬仪有“光学半数字化读数”方式,3″级、5″级和6″级光学经纬仪也都有“光学半数字化读数”方式,限于篇幅,在此不作过多介绍,大家熟悉了上述各种读数方法后,其它的触类旁通应该是没有问题的。