编辑:橙子
来源:知产行业观察 封面图|橙子
有点甜的农夫山泉上市了,9月7日香港暗盘收盘后,农夫山泉股价涨幅接近100%,农夫山泉创始人,现年65岁的钟 睒 睒身家达到了597亿美元(4079亿元),超越马化腾、马云,成为新的中国首富。


1084个商标,303个专利的核心保护
“农夫山泉有点甜“、“大自然的搬运工“、“每一滴水,都有它的源头”等广告标语深入人心,具有很强的品牌效应。

“喝前,摇一摇”成为混合果汁饮料经典代言,“茶π,自成一派”是旗下茶饮料的标签。
在每一次的新品推出或新品迭代的过程中,农夫山泉的商标保护从未掉队,有人戏称钟睒睒这位“最能生孩子”的老板(产品多),亦是“最能注册商标”的老板。
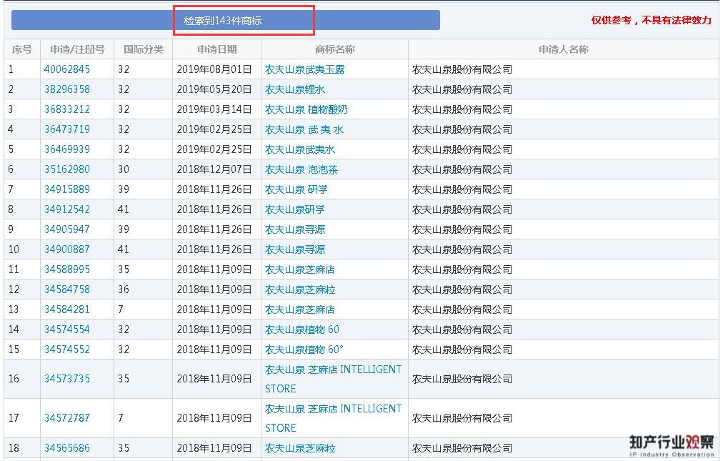
知产行业观察通过检索,发现农夫山泉股份有限公司旗下有1084个商标信息,已注册商标691件,商标注册类别中,32类啤酒饮料、30类方便食品、35类广告销售占比最大,这和其主营产品是一致的。

其商标注册布局紧紧围绕主营产品进行,侧面反映出农夫山泉对自己主业的坚持。
与核心商标“农夫山泉”有关的商标注册接近150个,“农夫山泉”、“农夫山泉植物酸奶”、“农夫山泉泡泡茶”、“农夫山泉 17.5°”、“农夫山泉武夷玉露”等等。
商标注册类别几乎覆盖了该商标的所有类型,连我们熟悉的那句广告语“农夫山泉 大自然的搬运工”也申请注册了。

此外,农夫山泉推出的每一款产品,都有非常详细的商标注册保护,如其农夫果汁便申请注册了果园老农、农夫牧场、农夫鲜果、农夫蔬果等商标;咖啡产品申请了“炭冰”、“炭冷”、“炭仌”等系列商标。
正因为申请了这么多商标,才有效保障了品牌不被山寨,有效减少了商标侵权纠纷。也让农夫山泉在市场竞争中保持主动权,增强品牌话语权,无形中大大提升了品牌价值。这可能也是农夫山泉的毛利率行业第一的根源所在。
此外,农夫山泉旗下还有303条专利信息,外观设计专利占比最多,发明公布、实用新型、发明授权都有相关专利布局

值得一提的是,农夫山泉的多款产品外观设计斩获设计大奖,其珍藏版、运动型、大瓶装矿泉水均有多项专利申请保护。
其珍藏版瓶装水颀长典雅的玻璃瓶装水在2016年期间在杭州召开的G20峰会上首次亮相,用来招待各国的贵宾。在2017年的“一带一路”峰会上再次闪亮登场,会议席上一水的农夫山泉珍藏版,代表着国家形象。
水好,瓶也好。


瓶装水的未来,依然是金矿所在
近十年来,随着我国城镇化率的提升,便捷场景的饮用水需求加大,包装饮用水行业呈现中高速发展态势,产量持续攀升的同时,市场规模也保持平稳增长。
2014-2019 年,我国包装饮用水零售额由1196 亿元增长至2017亿元,CAGR 高达11%。根据弗若斯特沙利文测算,预计未来五年瓶装水市场能够保持10.8%复合增长率,2024 市场份额有望突破3000 亿元。

知产行业观察发现,经过多年发展,饮用水行业占软饮料比重提升至20.34%(2019 年),已代替碳酸饮料成为软饮料行业最大子行业。未来支撑行业发展的两大因素量和价的驱动力将来自城镇化率和人均可支配收入的提升。
居民健康意识提升促使瓶装水销量提升,老龄化趋势在一定程度上提振高端瓶装水需求。
健康意识的提升使得消费者对高糖分、高热量饮料选择更为谨慎,而瓶装水以其“健康、天然”的特点成为了高糖类、高热量软饮料的有效替代品,促进了瓶装水销量的增长。

另一方面,中国老龄化趋势加剧也在一定程度上提振高端瓶装水需求。中国社会人口结构老龄化趋势也越来越明显。
2009 年,我国60 周岁人口占比为12.5%,到2019年,该比例达18.1%。老年人对健康的重视程度更高,也更愿意对瓶装水和健康高质的产品付费。

农夫的未来——平台化龙头
农夫山泉是国内软饮料行业龙头,通过强大的渠道网络和营销创新能力,构筑了品牌护城河。
公司在业务上形成了黄金分割现象,2017-2019 年和2020 年1-5 月公司包装水业务占比57.86%/57.53%/59.72%/61.87%,成为公司的主要收入和利润来源。通过水反哺饮料板块,推新能力持续提升,逐步形成平台化优势。

上市后,农夫山泉的资金优势更明显,有望借此加速市场的扩张,夯实在饮用水领域的护城河。而软饮料业务则给公司带来想象空间,随着产品矩阵和渠道的不断完善,农夫山泉平台化企业的特征将更加明显。
平台化公司的特征就是能够具备较强的单品运作能力,而单品能够成功取决于公司的推新能力,更取决于管理团队的综合能力。
对农夫山泉,新品研发、新概念的打造从来不是问题。旗下的养生堂药物研究所专门负责括农产品、天然资源、特色食品的功能性研究以及食品加工的工艺研究。
公司产品研发中心、行销中心等负责应用研究,开展配方、口味、包装设计及工艺研究等工作。公司管理层把控外观包装和概念打造,以保障新品推出的高质高效。

2018、2019 年公司研发投入为1.07/1.15 亿元,同比增长127.7%/7.5%,并署名4 项国家标准、3 项行业标准、1 项地方标准以及4 项团体标准。
2016 年茶π上市时,农夫山泉签约亚洲男团Bigbang 为代言人,并联合京东开展免费赏新活动,迅速打开局面,当年销售量即达16 亿元,成为近十年内上市首12 个月销量最高饮料。

知产行业观察认为,对农夫山泉来说,推新能力表面上看是产品力和营销力的表现,而其背后是管理层综合能力的考量,是农夫山泉能够成为平台化企业的核心。
可能未来10年甚至100年后,农夫山泉被大家记住的,不只是瓶装水,而是未来潜在的一个个爆款单品、爆款饮料。届时,可能有人会惊叹,农夫山泉推出的爆款已经那么多,而你也已经为农夫山泉买单了那么多。