近期公开发行优先股的非银行企业很少。选择晨鸣纸业的非公开发行优先股进行简要说明。
一、基本情况
(一)程序

(二)基本情况
1.发行数量:4500万股
2.募集资金:45亿
3.发行方式、发行对象:不超过200名合格投资者非公开发行
4.分配利润:不累积的固定股息、参与当年实现的剩余利润分配
5.票面股息率或其确定原则:附单次跳息安排的固定股息率
6.回购条款:即公司拥有赎回权、投资者不可回售
7.表决权限制:
(1)修改《公司章程》中与优先股相关的内容;
(2)公司一次或累计减少公司注册资本超过百分之十;
(3)公司的合并、分立、解散或者变更公司形式;
(4)发行优先股;
(5)法律、行政法规、部门规章及《公司章程》规定的其他情形。
8.发行期数:
(1)晨鸣优01:2250万股,票面股息率为4.36%,发行时间为2016年3月16日
(2)晨鸣优02:1000万股,票面股息率为5.17%,发行时间为2016年8月16日
(3)晨鸣优03:1250万股,票面股息率为5.17%,发行时间为2016年9月21日
9.表决权恢复:公司累计3个会计年度或连续2个会计年度未按约定支付优先股股息的
10.募集资金用途:30亿元拟用于偿还银行*款贷**及其他有息负债,其余15亿元拟用于补充流动资金
说明:
1.票面股息率或其确定原则:附单次跳息安排的固定股息率
(1)第1-5个计息年度优先股的票面股息率由股东大会授权董事会结合发行时的国家政策、市场状况、公司具体情况以及投资者要求等因素,通过询价方式或监管机构认可的其他方式经公司与保荐人(主承销商)按照有关规定协商确定并保持不变。
(2)自第6个计息年度起,如果公司不行使全部赎回权,每股票面股息率在第1-5个计息年度股息率基础上增加2个百分点,第6个计息年度股息率调整之后保持不变。
(3)股每一期发行时的票面股息率均将不高于该期优先股发行前公司最近两个会计年度的年均加权平均净资产收益率,跳息调整后的票面股息率将不高于调整前两个会计年度的年均加权平均净资产收益率。
2.分配利润
(1)首先,公司按照本次非公开发行优先股预案的安排,向优先股股东按照相应固定股息率派发股息。
(2)然后,公司当年合并报表口径归属于母公司所有者的净利润在派发归属于优先股等可计入权益的金融工具持有人相关固定收益后,形成当年实现的剩余利润。当年实现的剩余利润中的50%,由优先股股东和普通股股东共同参与分配。其中,优先股股东以获得现金分红方式参与剩余利润分配、普通股股东可以获得现金分红或以普通股股票红利的方式参与剩余利润分配。
(3)优先股股东持有的优先股股份享有剩余利润的分配权利模拟为普通股参与剩余利润分配的股数计算公式如下:N=V/Pn
其中:V为优先股股东持有的优先股票面总金额;模拟转股价格Pn为审议通过本次优先股发行方案的董事会决议公告日前20个交易日公司A股普通股股票交易均价(即5.81元/股)。优先股参与剩余利润分配模拟股数以去尾法取一的整数倍。
3.发行期
(1)分3期发行,在24个月内发行完毕。
(2)各期票面利率可以不一致(公司章程中规定优先股采用固定股息率的,可以在优先股存续期内采取相同的固定股息率,或明确每年的固定股息率,各年度的股息率可以不同)。
4.募集资金用途
上市公司发行优先股募集资金应有明确用途,与公司业务范围、经营规模相匹配,募集资金用途符合国家产业政策和有关环境保护、土地管理等法律和行政法规的规定。
除金融类企业外,本次募集资金使用项目不得为持有交易性金融资产和可供出售的金融资产、借予他人等财务性投资,不得直接或间接投资于以买卖有价证券为主要业务的公司。
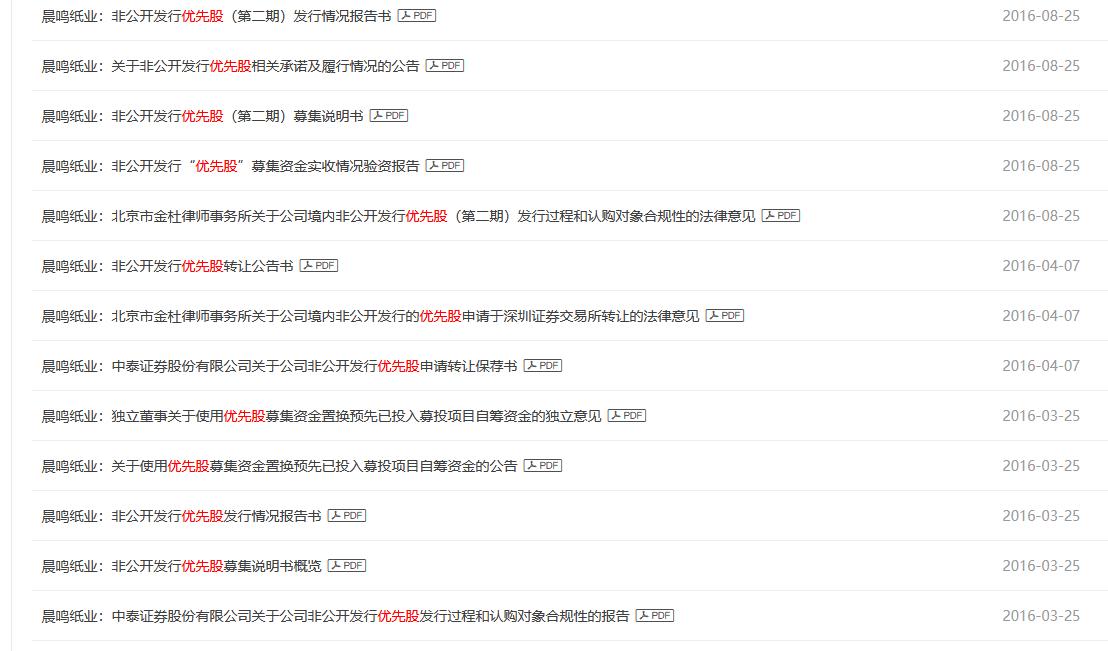
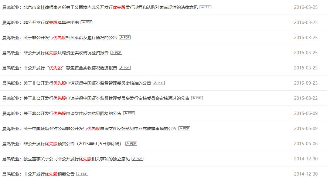
二、披露情况





说明:
1.律师事务所:法律意见
2.保荐机构:募集说明书、申请转让保荐书
3.独立董事:首次发行专项意见、募集资金置换专项意见