方向控制阀简称方向阀,其基本功能是控制液压系统中液流的通断和流向,以改变执行机构的启停、换向。方向阀的工作原理较简单,它是通过改变阀芯与阀体的相对位置来控制液流方向的。
方向控制阀可分为换向阀和单向阀两大类。

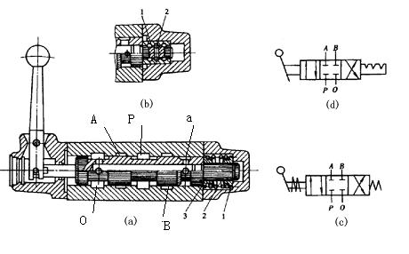
1、单向阀
单向阀是气流只能朝一个方向流动,而不能反向流动的阀。


组成:阀体、阀芯、弹簧等。
作用:只允许液流一个方向流动,反向则被截止。
工作原理:正向导通、反向截止。
应用:常被安装在泵的出口,一方面防止压力冲击影响泵的正常工作,另一方面防止泵不工作时系统油液倒流经泵回油箱。被用来分隔油路以防止高低压干扰。
(1)液控单向阀
液控单向阀是依靠控制流体压力,可以使单向阀反向流通的阀。
液控单向阀与普通单向阀不同之处是多了一个控制油路K,当控制油路未接通压力油液时,液控单向阀就像普通单向阀一样工作,压力油只从进油口流向出油口,不能反向流动。
当控制油路有控制压力输入时,活塞顶杆在压力油作用下向右移动,用顶杆顶开单向阀,使进出油口接通。若出油口大于进油口就能使油液反向流动。


作用:保持压力;可作为液压缸的“支承”,实现液压缸锁紧;组合成换向阀等。
2、换向阀
换向阀是具有两种以上流动形式和两个以上油口的方向控制阀。它利用阀芯在阀体孔内作相对运动,使油路接通或切断而改变油流方向。是实现液压油流的沟通、切断和换向,以及压力卸载和顺序动作控制的阀门。
换向阀的分类:
按结构形式可分为滑阀式、转阀式、球阀式。
按阀体连通的主油路数可分为两通、三通、四通等。
按阀芯在阀体内的工作位置可分为两位、三位、四位等。
按操作阀芯运动的方式可分为手动、机动、电磁动、液动、电液动等。
按阀的工作位置分类 阀的工作位置称为“位”,有几个切换工作位置的阀就称为“几位”阀。经常使用的有“二位”阀和“三位”阀。阀在未加控制信号或被操作时所处的位置称为零位。
按阀的接口数目分类阀的接口(包括排气口)称为“通”,阀的接口包括入口、出口和排气口,但不包括控制口。常见的阀有两通、三通、四通、五通。

三位换向阀,当阀芯处于中间位置时,阀的通道内部可根据使用的需要有各种各样的连通,称为三位换向阀的中位机能,图中P为压力油口,A、B为工作油口,O为回油口。
O型:由于液压缸内充满油液,从静止到启动较平衡,但换向时冲击较大
H型:由于回油口通油箱,在停车时,执行元件中的油流回油箱,再次启动时,易产生冲击。由于油口全通,换向时比“O”型平稳,但冲击量较大,换向精度较低。当用于单出杆液压缸时,中位机能不能使液压缸在任意位置停止。
M型:液压泵卸荷,液压缸可在任意位置停止,启动平稳,换向时有冲击现象。

(1)手动换向阀
手动换向阀是手动杠杆操作的方向控制阀,在液压系统中起换向(改变液流方向)和开关(接通或切断液流)作用。


(2)机动换向阀
机动换向阀又称行程阀,主要用来控制机械运动部件的行程,借助于安装在工作台上的档铁或凸轮迫使阀芯运动,从而控制液流方向。


(3)电磁换向阀
电磁换向阀是利用电磁铁推动阀芯移动来控制油流方向的阀类。电磁铁是由按钮开关、限位开关、行程开关或其他电器元件的电讯号来控制的。采用电磁换向阀可使操作轻便,实现远距离自动控制,应用广泛。
电磁换向阀按使用的电源不同有交流(D型)和直流(E型)两种。交流电磁阀电源电压为220V(也有38V或36V的),直流电磁阀电源电压为24V或110V。
电磁吸力有限,电磁换向阀最大通流量小于100L/min。

(4)二位二通换向阀
原理: 它是一种直动和先导式相结合的原理,当入口与出口没有压差时,通电后,电磁力直接把先导小阀和主阀关闭件依次向上提起,阀门打开。
当入口与出口达到启动压差时,通电后,电磁力先导小阀,主阀下腔压力上升,上腔压力下降,从而利用压差把主阀向上推开;断电时,先导阀利用弹簧力或介质压力推动关闭件,向下移动,使阀门关闭。

(5)三位四通换向阀
三位四通换向阀:是指阀有三个工作位状态,有四个油口(一般两进两出),分别用P、T、A、B表示,P为进油口,T为回油口、A\B分别接执行元件的上下两腔,阀自然位置时在中位。


(6)电液换向阀
电液换向阀是电磁滑阀和液动滑阀的组合。电磁滑阀起先导作用,它可以改变控制液流的流向,以改变液动滑阀的阀芯位置。电液换向阀既能实现换向缓冲,又能用较小的电磁铁控制大流量的液流,从而方便地实现自动控制,故在大流量液压系统中宜采用电液换向阀换向。

当先导电磁阀的2个电磁铁均不通电而处于图a所示位置时,先导电磁阀阀芯在其对中弹簧的作用下处于中位,此时来自主阀P口(或外接油口)的控制压力油不能进入主阀芯左、右两端的控制腔,主阀芯左右两腔的油液通过先导阀中间位置经先导阀的T口流回油箱。
主阀芯在两端对中弹簧的作用下,依靠阀体定位,准确地处在中间位置,此时主阀的P、A、B、T油口均不相通。当先导阀左边的电磁铁通电后,使其阀芯向右移动,处于图b所示右端位置时,来自主阀P口(或外接油口)的控制压力油经先导阀进入主阀右端的控制腔,推动主阀阀芯向左移动,这时主阀芯左端控制腔中的油液经先导阀流回油箱,使主阀的油口P与A、B与T的油路相通;反之,当先导阀右边的电磁铁通电时,可使油口P与B、A与T的油路相通。

