点击上方“小丸子非标机械设计”关注我们,每天学习一个机械设计相关知识点
电磁阀介绍
电磁阀的工作原理,电磁阀里有密闭的腔,在的不同位置开有通孔,每个孔都通向不同的油管,腔中间是阀,两面是两块电磁铁,哪面的磁铁线圈通电阀体就会被吸引到哪边,通过控制阀体的移动来档住或漏出不同的排油的孔,而进油孔是常开的,液压油就会进入不同的排油管,然后通过油的压力来推动油刚的活塞,活塞又带动活塞杆,活塞竿带动机械装置动。这样通过控制电磁铁的电流就控制了机械运动。
分类:
国内外的电磁阀从原理上分为三大类(即:直动式、分步直动式、先导式),而从阀瓣结构和材料上的不同与原理上的区别又分为六个分支小类(直动膜片结构、分步重片结构、先导膜式结构、直动活塞结构、分步直动活塞结构、先导活塞结构),按照气路数分为2位2通,2位3通,2位4通,2位5通。
电磁阀分为单电控和双电控,指的是电磁线圈的个数,单线圈的称为单电控,双线圈的称为双电控,2位2通,2位3通一般时是单电控(单线圈),2位4通,2位5通可以是单电控(单线圈),也可以是双电控(双线圈)。
一、按被控制管路内的介质及使用工况的不同可将电磁阀分为:液用电磁阀、气用电磁阀、蒸汽电磁阀、燃气电磁阀、油用电磁阀、消防专用电磁阀、制冷电磁阀、防腐电磁阀、高温电磁阀、高压电磁阀、无压差电磁阀、超低温电磁阀(深冷电磁阀)、真空电磁阀等。
二、按电磁阀内部结构不同可分为先导式、直动式、复合式、反冲式、自保持式、脉冲式、双稳态、双向型等。
三、按电磁阀的使用材质不同可分为:铸铁体(灰口铸铁、球墨铸铁)、铜体(铸铜、锻铜)、铸钢体、全不锈钢体(304、316)、非金属材料(ABS、聚四氟乙烯)。
四、按管道中介质的压力不同可分为:真空型(-0.1~0Mpa)、低压型(0~0.8Mpa)、中压型(1.0~2.5Mpa)、高压型(4.0~6.4Mpa)、超高压型(10~21Mpa)
五、按介质温度不同可分为:常温型(~)、中温型(~)、高温型(~)、超高温型(~)、低温型(~)、超低温型()。
六、按工作电压不同分为:交流电压:AC220V 380V 110V 24V;直流电压:DC24V 12V 6V 220V;一般常用电压为AC220V DC24V,推荐用户尽量选用常用电压、特殊电压供货周期较长。
七、按电磁阀的防护等级可分为:防爆型、防水型、户外型等。
从原理上分:
直动式电磁阀:
原理:通电时,电磁线圈产生电磁力把关闭件从阀座上提起,阀门打开;断电时,电磁力消失,弹簧把关闭件压在阀座上,阀门关闭。
特点:在真空、负压、零压时能正常工作,但通径一般不超过25mm。


分布直动式电磁阀:
原理:它是一种直动和先导式相结合的原理,当入口与出口没有压差时,通电后,电磁力直接把先导小阀和主阀关闭件依次向上提起,阀门打开。当入口与出口达到启动压差时,通电后,电磁力先导小阀,主阀下腔压力上升,上腔压力下降,从而利用压差把主阀向上推开;断电时,先导阀利用弹簧力或介质压力推动关闭件,向下移动,使阀门关闭。
特点:在零压差或真空、高压时亦能可*动作,但功率较大,要求必须水平安装。
先导式电磁阀:
原理:通电时,电磁力把先导孔打开,上腔室压力迅速下降,在关闭件周围形成上低下高的压差,流体压力推动关闭件向上移动,阀门打开;断电时,弹簧力把先导孔关闭,入口压力通过旁通孔迅速腔室在关阀件周围形成下低上高的压差,流体压力推动关闭件向下移动,关闭阀门。


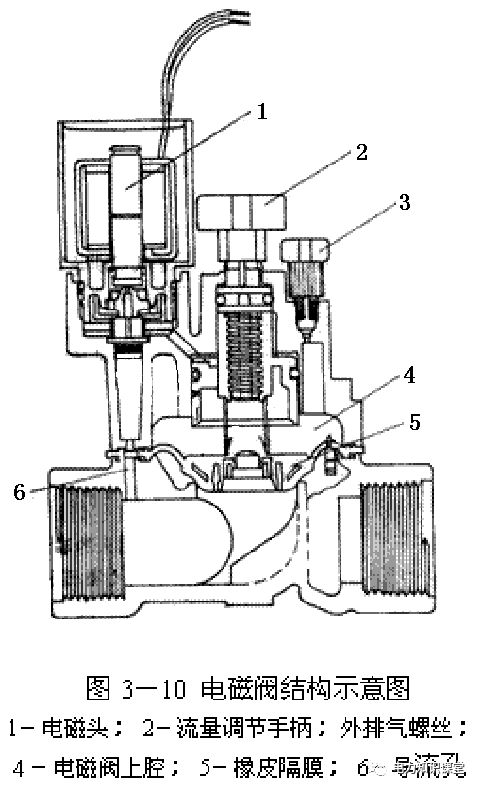
电磁阀在液路系统中用来实现液路的通断或液流方向的改变,它一般具有一个可以在线圈电磁力驱动下滑动的阀芯,阀芯在不同的位置时,电磁阀的通路也就不同。阀芯的工作位置有几个,该电磁阀就叫几位电磁阀:阀体上的接口,也就是电磁阀的通路数,有几个通路口,该电磁阀就叫几通电磁阀。
按照气路数分:
“X位Y通”电磁阀的“X位”代表的就是阀门一共有几种状态:
“2位”表示“通”和“断”2种状态——P→A,P→B,A→R,B→S等状态,断开的气路均处于排气状态;
“3位”包括上面2种状态,还包括第3种状态——对于第1路排气/不排气,对于第2路排气/不排气的状态,有多种组合。
“Y通”指的是电磁阀一共有几个孔,对于气体电磁阀,因为存在排气的问题,可能有2个孔(1个进气、1个出气),3个孔(1个进气、1个出气、1个排气),4个孔(1个进气、2个出气、1个排气),5个孔(1个进气、2个出气、2个排气);对于液体电磁阀,就不存在排气问题,因为液体一般不能排空。
P——POWER,进气孔;
A——出气孔1(接气缸);
R——与出气孔1相通的排气孔(B侧线圈已经通过电或手动控制过,A侧线圈不通电时这两个孔相通);
B——出气孔2(接气缸);
S——与出气孔2相通的排气孔(A侧线圈已经通过电或手动控制过,B侧线圈不通电时这两个孔相通);
两位两通(1个进气、1个出气)
断电时,压力口连到气缸口----通电时,压力口、气缸口关闭;
两(三)位三通(1个进气、1个出气、1个排气)
常开:断电时,压力口连到气缸口而排气口关闭----通电时,压力口关闭而气缸口连到排气口;
常闭:断电时,压力口关闭而气缸口连到排气口----通电时,压力口连到气缸口而排气口关闭;
通常结构:允许阀连接成常闭或常开的位置其中之一,或选择两种流体之一,或由一个口转换流到另一个口

两位四通(1个进气、2个出气、1个排气)
一般用于操作双动气缸,在一位置,压力口连到A气缸口,而另一个B气缸口连接到排气口,在二位置,压力口连到B气缸口,而另一个A气缸口连接到排气口;
