近日,美国大型床垫制造商席梦思称:计划在2023年1月提交破产申请。#席梦思申请破产保护# 很快就冲上了微博热搜。
从1870年走来,席梦思经历了一个多世纪,一度成为床垫的代名词。不少消费者感叹,“记得小时候就对这个品牌特别熟悉,竟然要破产了”、“他们家的质量很好,破产挺遗憾的”……
虽然口碑不错,但是席梦思的生意却越来越差,近20年来已经破产重组了7次,目前负债高达10亿美元。
成为弹簧床垫的代名词
1870年,席梦思诞生于美国,扎尔蒙·席梦思先生创立了它,并用自己的姓氏命名。1895年,席梦思便成为世界上最大的弹簧床垫制造商。
当时,由于床板比较硬,扎尔蒙在其中塞了厚厚的棉花作为支撑,使得床垫的舒适性大大提高,由此改变了人们的睡眠习惯。美国曾经的第一夫人埃莉诺‧罗斯褔女士、发明家爱迪生、文学家萧伯纳都曾是席梦思的粉丝。
名人效应加上创新,席梦思成为弹簧床垫的代名词,甚至时至今日,还有不少人认为所有的弹簧床垫都叫席梦思。
中国人对席梦思的推崇,则可以追溯到清朝,甚至连慈禧太后,也睡过席梦思。1902年,慈禧太后坐火车返京时,打造了一节专属车厢。传统的木制雕花床不易搬运,便换成西洋铁床,上面铺的就是进口席梦思。还有著名作家冰心,一家去重庆避难时,都不忘带上睡惯的席梦思。
1933年,《申报》上刊登了席梦思的广告,这让席梦思迅速打开了中国的市场,席梦思床垫成为了身份的象征。

席梦思不仅在其他国家风靡一时,在中国亦是如此,而其成功的背后,离不开创意广告营销。
1950年,它请来马戏团,让以吨计算体重的大猩猩和大象上去狂踩,结果毫发无损。哪怕大猩猩在上面打滚,床垫依旧保持着弹性,这次广告让席梦思一战成名。
席梦思还用保龄球测试做过宣传。沉重的保龄球从高处落下后,旁边10个球瓶却纹丝不动,验证了床垫独立筒弹簧不受干扰的特性。

席梦思还创新了自己的销售模式,客户可以在线下店铺体验产品并订购,之后席梦思会从全国的 64 个仓库中将床送货上门。
在产品上,席梦思设计了可以根据人体轮廓提供支撑的独立筒弹簧床,结合折叠式弹簧和床垫的沙发床等。目前仅在美国,席梦思就有拥有超过2100个经销商、13500个销售点。
不影响中国市场销售?
破产新闻发酵后,席梦思为了挽救中国市场,在12月15日特意发布声明:相关消息不会影响北京席梦思床褥家具有限公司、上海席梦思床褥家具销售有限公司、深圳席梦思床褥家具有限公司、席梦思床褥家具(苏州)有限公司等中国大陆地区四家公司的正常运营。
此外,席梦思强调,在供应链方面,Simmons®席梦思中国早已实现自主化和全球化,产品来自美洲、欧洲、亚洲等地。中国在市场营销、销售网络和财务管理等方面都是独立运作的。

然而根据天眼查的信息,席梦思中国区的发展恐怕也不容乐观。
中国市场独家授权的4家企业,均由诗雅有限公司全资持股。除上海席梦思床褥家具销售有限公司成立于2005年外,其余3家均成立于2014年。
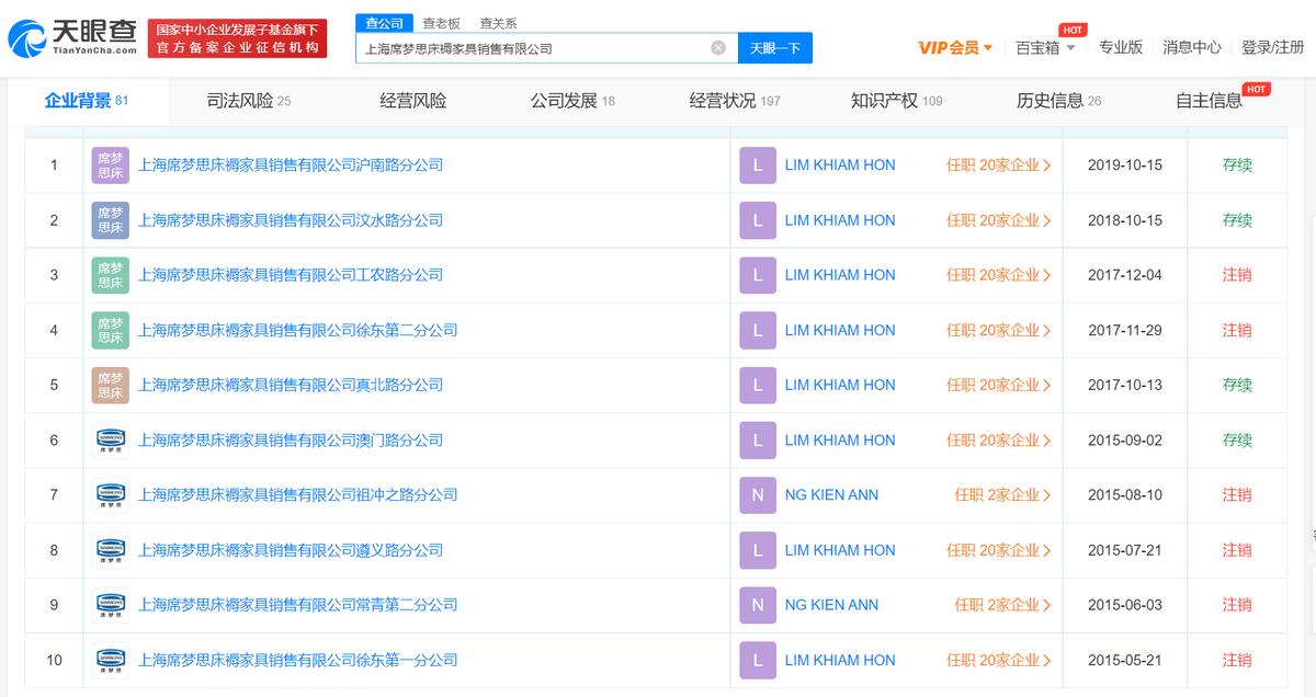
上海席梦思床褥家具销售有限公司旗下拥有19家分公司,除在深圳、北京各设有1家分公司外,其余均注册于上海本地。目前,19家分公司中已有11家注销。此外,深圳席梦思床褥家具有限公司旗下拥有5家分公司,其中1家已注销;北京席梦思床褥家具有限公司旗下仅1家分公司,目前也已注销。

线下门店方面,根据席梦思官网公布的门店数据,其在中国的专卖店数量为353家,几乎每个省份均有开设。但从线上电商的销量来看,席梦思的销量较为惨淡。根据席梦思天猫旗舰店的数据,其目前粉丝数为16.2万,销量排名第一的为售价6616元的床垫,月销100+。销量排名第二的为售价16060元的床垫,月销仅48。
与之形成对比的是,其他“后辈”床垫品牌的市场份额正在不断壮大。今年双十一,平价热销款床垫价格集中在2000元左右,销量前三分别为喜临门、雅兰和蓝盒子;而轻奢热销款床垫价格集中在6000元左右,与席梦思的定价差不多,销量前二为丝涟和金可儿。这5家的双十一成交金额同比增速均大于50%。
都是资本惹的祸?
背负盛名的席梦思,又有名人背书,靠着硬核的产品本应发展得顺遂,为何会走向破产呢?
据公开报道,席梦思已经破产7次,重组7次,目前负债高达10亿美元。而席梦思屡次破产,并不是因为产品问题抑或经营不善,而是资本运作的结果。
早在2012年,全球私募股权公司安宏资本收购了席梦思的母公司 AOT Bedding Super Holdings,当年高达30亿美元的杠杆收购,让席梦思母公司背上了23亿美元的负债,还有6.7亿美元的债务股利。之后席梦思仿佛陷入了破产怪圈,历任东家无一例外都是将之视为套利工具。
截至2022年第二季度,虽然席梦思还有3.45亿美元的现金,但欠债已高达10亿美元,资金严重缺乏,这艘百年巨轮漏洞不断扩大,而债务就像堵不住的灌进船舱里的水,越积越多。
业内人士透露,席梦思为了偿还债务,与债权人就重组计划进行秘密谈判,承诺给予部分债权人优先留置权。
除了债务问题,席梦思在产品的经营上也存在过度单一的问题。《2022年睡眠消费报告》显示,截至5月,天猫、淘宝的智能床垫销售额同比增长721.4%。乳胶床垫、记忆棉、棕垫等等新品的出现,对传统弹簧床市场产生了冲击。
而根据席梦思官网的产品介绍,其产品主要分为床垫、床架、枕头、四件套和舒适椅。在智能科技的发展下,对于现在用户的需求来说,这几个品类显然是不够的。

除了产品缺乏创新,众多的山寨产品也败坏了席梦思的品牌声誉,不少商家打着席梦思的名号,卖假货或劣质品。在天眼查搜索“席梦思”,用于企业名称的就超过6000余个。
“席梦思”商标已被多方抢注,申请人包括多名自然人、家居公司、智能睡眠公司、科技公司、策划公司等,相关商标最早申请于2005年5月。其中,已有百余个“席梦思”商标注册成功。
另一方面,消费降级,也导致了席梦思床垫的销量下滑。经济学上有个词叫“床垫指数”,当大环境衰退时,口红这些低价产品会卖得更好,床垫、汽车这些高价产品,销量往往会下滑。席梦思的市场以美国为主,美国调研机构Piper Sandler的11月床垫零售商调查显示,今年十一月床垫总销售额下降了14%,销售量下降了19%。
而对比其他床垫品牌,席梦思在定位和营销上均有不足的地方。席梦思的床垫对用户来说,只是一张很好睡的床垫,但是没有不可替代性,也没有太多的附属价值。在长达一百多年的岁月里,席梦思也没有培养出一批忠诚用户。
反观最近闹得沸沸扬扬的海思腾床垫,同为18世纪创立的品牌,如今依然能卖出200万一张的价格。在定位上,海丝腾走的是“床垫中的爱马仕”路线,这让海丝腾成为高贵身份的象征。目前,这款床垫全球每年的产量只有80张左右,饥饿营销也让海丝腾至今仍炙手可热。

而在营销上,相比起低调经营的席梦思,海丝腾更加主动出击。当床垫高价门不断发酵,前脚听闻汪小菲要烧床垫,后脚官方就硬翻出来13年前拍的一支床垫阻燃测试视频。
在国内,以慕思为代表的国产品牌床垫也是极其重“营销”的代表,甚至研发费用都只有营销费用的十分之一左右。
但归根结底,无论是席梦思还是海丝腾,都不能本末倒置,产品的质量一定要跟得上,而海丝腾、慕思等床垫品牌能长远发展,其产品的硬实力是基础。
参考资料:
1、《从小睡到大的席梦思,竟然要申请破产了?!席梦思中国公司发声》零售信息
2、《火了100多年的席梦思,也走到破产边缘》 外滩TheBund
3、《席梦思第8 次申请破产,火了100 多年的床垫代名词怎么不行了?》爱范儿