齐鲁大地内共有985、211高校3所,小菁实已经跟大家啰嗦了很多。今天来跟大家聊一所山东省属高校,它在山东省内当属师范类院校的龙头大哥,虽没有211的帽子,但却在山东省内就业时,占有重要的一席之位。如今它已迅速发展成为山东乃至全国实力显赫的综合性大学,它就是——山东师范大学。

历史延承
学校办学文脉可追溯到1902年山东大学堂内设师范馆。1950年10月,在原华东大学教育学院和山东省行政干校的基础上组建山东师范学院,系新中国成立后山东省成立最早的本科高校。1952年原齐鲁大学物理、化学、生物三系并入。1970年9月,学校机关及部分系部迁到聊城办学。1974年4月,迁回济南。1981年3月,学校被确定为省属重点高等学校;同年8月,更名为山东师范大学。

教学实力
学校现有10名双聘院士。27人次入选国家“万人计划”,973首席科学家,长江学者,国家杰青,全国“四个一批”人才(理论界)和国家百千万人才工程人选;22人获全国优秀教师等国家级荣誉称号,91人享受国务院政府特殊津贴,5人入选教育部“新世纪优秀人才支持计划”;1个教师团队获评“全国高校黄大年式教师团队”。6人6次当选全国*党**代会代表,5人12次当选全国人大代表,5人10次当选全国政协委员。学校领导连续五届当选山东省委委员。3人次入选山东省“泰山学者”攀登计划,2人入选山东省“泰山学者”优势学科领军人才支持计划,18人入选山东省“泰山学者”特聘教授,16人入选山东省“泰山学者”青年专家。1人入选国家优青。31人获山东省有突出贡献的中青年专家称号。

学科实力
学校建有13个博士后科研流动站,14个博士学位授权一级学科、33个硕士学位授权一级学科、17个专业学位授权类别,覆盖十大学科门类,学科、专业学位数量居省属高校前列。其中,一级学科博士点数量位居山东省属高校第一。
有1个国家重点学科:中国现当代文学、1个国家重点(培育)学科:教育学原理 。3个学科进入基本科学指标数据库(ESI)学科排名前1%。6个学科进入山东省一流学科建设行列。在全国第四轮学科评估(最新)中,其中有13个学科进入B及以上等次,B+等次和B等次数量均居山东省属高校首位。

数据来源:全国第四轮学科评估(最新)
科研实力
“十二五”以来,主持承担国家“863”、“973”、国家重点研发计划、国家社会科学基金、国家自然科学基金等项目712项。2012年,成为“973”项目首席科学家单位;2019年,成为首个以第一单位获得国家自然科学奖的山东省省属高校。获得山东省社科重大成果奖4项、全国教育科学优秀成果一等奖2项、鲁迅文学奖1项,以及“十佳全国优秀科技工作者”提名奖、山东省自然科学最高奖等国家级、省部级科研奖励近300项。
4月30日,自然指数网站更新了2020自然指数年度榜单(Nature Index 2020 annual tables),展示了不同国家和科研机构在自然科学领域高质量科研产出的情况。它是评价科研机构高水平学术成果产出的重要指标。自然指数主要对前一年各科研机构在Nature系列、Science、Cell等82种自然科学类期刊上发表的研究型论文数量进行计算和统计。82种来源期刊分为化学、地球与环境科学、生命科学和物理学四类。山东师范大学在自然指数排名TOP200中挤进前四十,紧跟北师大、华师大其后,科研实力显而易见。

就业走向
2019届毕业生9581人。博士研究生66人,硕士1902人,本科7613人,男女比例1;2.87,山东生源83.19%。其中,师范生3162人,占比41.53%;非师范生4451人,占比58.47%,就业率92.13%。
其中博士就业率100%,硕士90.75%,本科92.41%。

从本科生深造情况来看,本科毕业生国内升学率26.84%;其中普通师范生的升学率为34.38%,非师范生的升学率为21.48%。
国内升学共计2043人。主要流向了本校(500人),此外流向山东大学 (154人)、中国海洋大学(82人)、中国科学院大学(66人)和南京师范大学(50人)人数较多。
普通师范生升学院校主要为本校(291人)、山东大学(96人)、北京师范大学(37人)、中国海洋大学(36人)、东北师范大学(35人);
非师范生升学院校主要为本校 (209人)、山东大学(58人)、中国海洋大学(46人)、中国科学院大学(39人)。

其中,2019届推免名单共计338人,其中包含支教团12人。保研率:4.4%
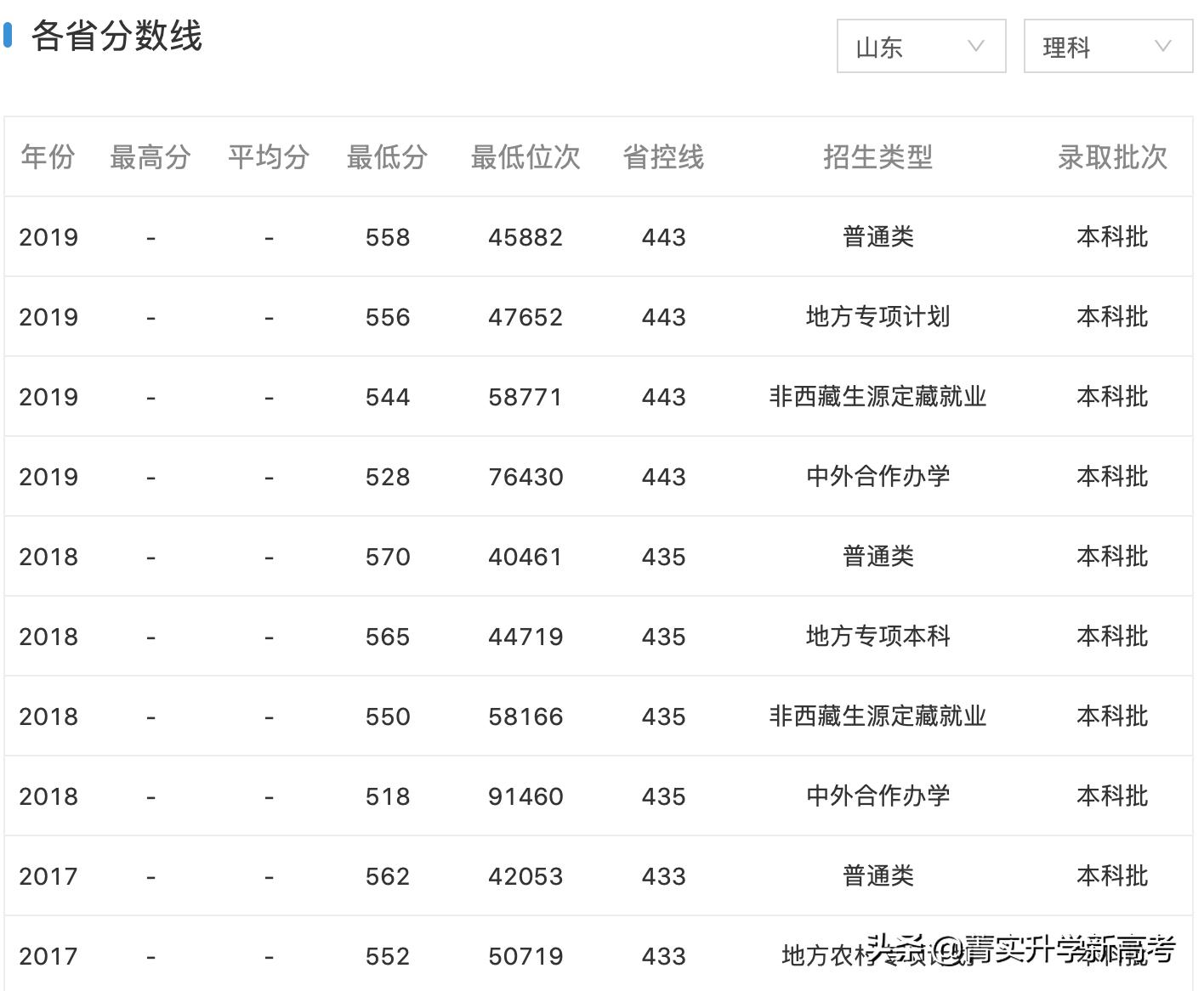
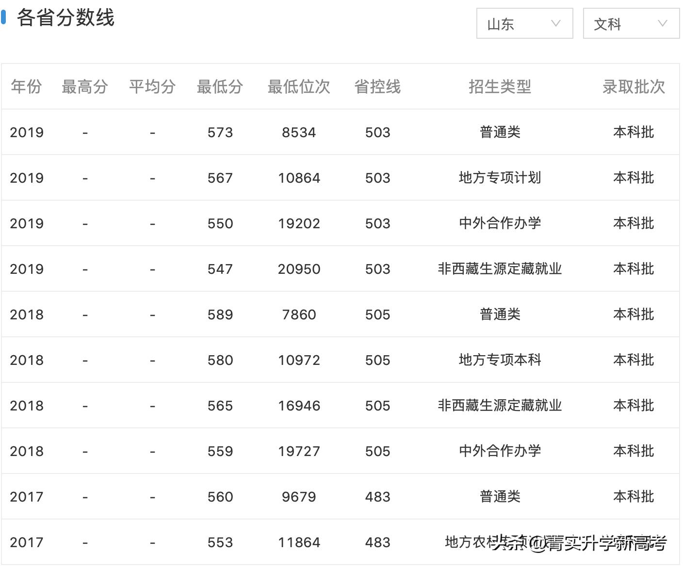
近三年在鲁录取分数线




总体来说,对于一所双非大学来说,能够获评3个B+学科已然是非常不错的成绩,实际上部分弱势211大学在学科评估中,连B+学科都没有。山师只是缺少了211的光环,实力当属省内最强师范大学。如果你的就业目标是在山东省做一名中学老师,考入华东师范大学,与进入山东师范大学,最后就业时可能是进入了同一所中学。但是录取分数相差了多少?从这个角度来讲,山东师范大学的性价比极高。