1 中国现行法律规定每人每年有5w美金的自由换汇额度(包括小孩).
2 不能蚂蚁搬家,一个账户收款人不能超过5人(4人为佳),汇款人与收款人需有亲属关系.
3 常规操作 夫妻二人开海外账户, 你的孩子 你 和你的父母(共4人)自由换汇,去银行汇款(提交亲属证明)给你,你的配偶,你配后的父母(共3人)去银行汇款(提交亲属证明)给你的配偶.
5*7=35w美金 正常情况下一般家庭够用.
换汇行选择
1 汇率 每家银行的汇率是不一样的,对比几十家银行 最后结论 工行,平安最合适.
2 手续费 目前只有中国银行汇到加拿大的中行是免手续费和电报费 .
3 速度 汇丰银行 理财及以上账户(日均50w存款或月服务费300)可以用速汇(秒到)汇到加拿大汇丰同名账户下.
一、银行购汇
首先要在银行柜台进行购汇(部分银行可app直接购汇),即用人民币购买加拿大币。譬如你希望汇到加拿大1万元加币,你告诉中国银行(国内大多数银行都提供购汇业务)工作人员后,他们会让你先填写《外币购汇单》,填好后银行会从你的中国银行账户中兑换等值的人民币到加币。或者你也可以带着人民币现金,直接去柜台兑换成加拿大元。
银行挂出的外汇牌价因汇率的随时波动而每天不同,因此,紧盯市场择机兑换很重要。另外,不同银行之间会出现一定的汇率差别,建议购汇时,可在不同银行间作一比较,选择最省钱的汇率。
你可以将所购外汇直接汇出境外,也可持汇票、旅行支票、信用卡等携带出境,当然,还可以存入本人外汇账户。 一般来讲,出国留学携带汇票比较方便,而且成本低廉;如果金额较大或急于用款时,采取电汇方式不仅速度快而且安全;如果是去海外旅游、商务活动,那么,携带旅行支票或者使用信用卡都是方便安全的选择。
【购汇条件】
境内居民出境旅游、探亲、考察、就医、留学、培训、劳务、定居等,都可以到银行申请购汇。最新政策规定,每人(包括儿童)每年有5万美元等值的购汇额度,在年度额度内可以一次或分次购汇。市民只需口头申报购汇用途,凭本人的真实身份证明就可以直接办理。如果要办理超额度的购汇,超出部分则需要提供相关的真实性证明材料,并且所购外汇的总额不得超过证明材料上标注的金额。
【办理地点】
大多数商业银行都可提供因私购汇服务,但并非每家银行的所有网点都可办理,可以通过各家银行的客户服务热线咨询。要特别提醒的是,切勿在“黄牛”手中兑换,一来*市黑**兑换属违法,二来私下兑换往往兑进*币假**,安全没有保障。购买币种各家银行可供购买的外汇币种不尽相同,就工商银行上海市分行来说,有些银行还提供泰铢、菲律宾比索、瑞典克朗、丹麦克朗和挪威克朗等币种。
现在有些银行还提供网上购汇服务,具体在各自银行APP里面去查看。
二、银行电汇
电汇业务是传统的汇款方法,金额较大的汇款比如买房的首付款一般都用电汇的方式汇入加拿大。电汇这种方式比较快捷,两天可以到账。
电汇的费用通常包括汇出行收取的千分之一的手续费和电报费,以及中间行扣费。由于汇款手续费一般都有最高限额,所以每次汇的金额越多越划算,因此在条件允许的情况下,建议一次多汇一些,不要分的次数太多。
在加拿大有购房置业的朋友,很多人都用过银行电汇,从中国汇入买房的首付款。这里特别指出一点是买房首付款的要求可以说是赠与。
举一个例子:小玲是加拿大永久居民,最近购买一套自住房,首付来自于父母给她的汇款。小玲担心税务局会不会把这笔海外汇款当作她的收入。一般来自父母的馈赠作为买房首付款的一部分,是一个常见的现象。海外汇款如果次数不很频繁,数目不是很大,被税局挑中查税的几率相对较小。但是注意:虽然来自父母亲友的馈赠不需要申报和缴税,但务必保留证据,一旦税局要求补充资料的时候可以马上提供。
国内银行为境内客户的一般国际汇款是先换成外汇,再用swift(环球同业银行金融电讯协会)汇出。因为中国政府对每个人一年汇款不能超过5万美元的限制,所以对于投资客、移民人士、或是留学生,有时通过国际汇款无法满足大额境外资金的需求。这时候可以请亲友帮忙,借用他们的身份证/外汇额度以不同人的名义汇款。通过银行电汇是可以这样操作的。
【办理流程】
办理电汇需填写电汇申请书,必须以英文填写,在办理业务前,你需要准确提供取得如下汇款信息:
1.汇款货币及金额;
2.收款人姓名及地址;
3.收款人在开户银行的账号;
4.收款人开户银行名称、SWIFT代码(SWIFTCODE)或地址。
另外,为了保证收款人及时收到款项,需要你提供准确的汇款信息,同时,还需要留下你的联系方式,并保存好你的汇款回单,以便在汇款出现问题时,银行能够及时与你联络。
【费用详请】
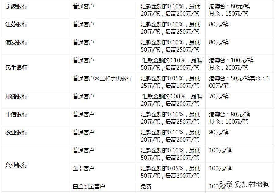
通过国内银行汇款到境外,需要交的费用除了手续费之外还有电报费(或称电讯费),具体的收费,可以参考以下表格:



三、银行票汇
办理票汇手续后,你可以将汇票自行邮寄给您的亲友,或自行携带出境。如果你或你的亲友在汇票指定的付款行开有账户,或急需用钱,可持汇票和本人有效身份证件直接前往该银行办理取款手续;否则,可将汇票交到自己的开户银行,由其向付款行办理托收,托收后还要10个工作日钱才能到账,因此时间充裕的人可以选择这种方式。
以加拿大的情况而言,需要票汇的朋友一般是在国内的中国银行或者中国工商银行开汇票,然后到温哥华或多伦多的对应银行网点办理相关手续。
票汇的优点就是安全,即使票丢了,钱也可找回。而且汇票有一年的有效期,过了有效期就会退回到原来的*票开**行。虽然票汇的费用相对便宜一些,但是票汇的限制很多,速度慢,而且需要到*票开**行的国外网点或*票开**行的指定托收行办理解付手续。
另外*票开**并不是当天就能拿到票,汇票一旦遗失,挂失等手续相对麻烦。在挂失数个月以后才能将钱退回。
如果选择票汇的话,建议用票汇最好是选择国内的大银行,因为,大银行在国外的代理机构较多,例如中银/工行在加拿大温哥华、多伦多等都设有网点。
如果汇款人在中银/工行用票汇的方式办理汇款,取款时可以直接到中银/工行的国外营业点办理付手续。如果所在地没有汇出行的营业点,则要到汇出行指定的托付行办理,相对来讲,在托付行办理没有在直接营业点办理快捷方便。另外大银行的网络铺设要广,相对小银行,中间周转的环节要少一些,汇款的安全性更高。
【办理流程】
办理票汇需填写汇票申请书,以英文填写(汇往港澳台地区可以中文填写),你需要准确提供如下信息:
1.汇款货币及金额;
2.收款人姓名及地址。
办理完票汇手续,银行会将汇票交给你,你可邮寄或自行携带出境。
温馨提示:在你办理票汇时,请向银行经办人员问清汇票的付款行是否是收款人所在地银行。当你向美国以外的地区票汇美元时,付款行可能是中国银行的纽约分行,此时收款人只能通过当地银行办理托收后才能收到汇款。
【费用详请】
如你以外币现钞办理汇款,需支付相应的汇钞差价费。
四、银行速汇
速汇的方法适用于小额汇款,一般汇款额度不能超过1万美元。比较常用的有国内银行,它的最大特点在于快速和便捷。
汇款人和收款人都不需要开设银行账号,汇款人到国内银行网点,告知收款人的姓名,并设定密码,然后通知收款人到境外的网点凭身份证件、汇款业务参考号和密码就可以收款,通常10分钟左右资金就会到账,手续费相对低廉,由汇款人在汇款时另外支付。
五、国际速汇公司
除了通过银行速汇外,还可以找专门的国际速汇公司,比如速汇金Moneygram和西联汇款Western Union)合作开设的国际速汇业务,几分钟内就能到账。关于西联汇款Westunion汇款指南,可参考下面文章:
点击这里查https://www.moneygram.com/intl/ 看速汇金Moneygram代理点
点击这里查https://www.moneygram.com/intl/ 看西联汇款Western Union代理点
六、旅行支票
旅行支票的优点是面额较小,使用方便,其功能与国内的个人支票类似,只是需要用外币购买。在国内银行购买旅行支票使用起来比较灵活方便,兼有现金和汇票的特点,有固定的面值,并有多种面额可以选择。
购买旅行支票时,一般银行会在面额上帮助购票者进行搭配,一张支票可以是20元、30元,也没有确定的使用地点和使用期限,在境外既可直接缴纳学费又可用于日常消费。
在使用之前,持票者先要在支票上签上自己的名字。用的时候,再签一次名字,如果两个名字的写法完全一致,此次支付行为就有效。
另外,旅行支票也可以兑换成现金。国外也有一些旅行支票免费兑换点。如果不是在免费兑换点换的话,可能就要交一定的费用。需要注意的是办理国际旅行支票手续费相对较高,手续费要交1%且上不封顶。
七、信用卡
国内的家长们经常办理双币种信用卡以方便孩子在国外的生活和消费。一般父母持有一张主卡,孩子持有一张配套的附属卡,附属卡透支消费额度由父母在信用卡授信额度内指定。
孩子在境外用附属信用卡到有银联标识的机具上刷卡消费,这与国内刷卡消费一样。国外消费使用的透支额度可以在国内还款,还款币种可以用外币,也可以用人民币。但如果币种不同,还款时自动进行币种间的转换,银行会扣除这部分手续费。
由此可见,信用卡刷卡方便,取钱不划算,适用于留学生消费。
八、直接到现金
当然去加拿大,也可以选择带一些现金过去。这样是肯定不会产生任何手续费的,最为划算的一种方式。但问题是没那么安全,毕竟带这么多现金在身上总归觉得不保险,另外旅客进入或离开加拿大,加拿大边境服务局CBSA对携带的金额现金和货币工具(支票、汇票等)没有设定上限。 携带等值10000加元以内的现金和货币工具(支票、汇票等),无需申报;等值超过10000加元(含)的,必须在出或入境时主动向加拿大边境服务局CBSA申报。 如果未申报,CBSA有权扣押所有货币及货币工具。
CBSA可能会在支付罚款后退回货币,罚款范围从250加元到5000加元不等。 如果CBSA怀疑是犯罪所得或资助恐怖活动的资金,将不会退还资金。