关于大牌山寨的风波从来没有停过,但比大牌山寨更可怕的是“合法假货”,许多公司钻了法律的漏洞,抢在正版品牌之前注册商标,以正版的名号明目张胆地贩售山寨产品,许多正版品牌不得已只能改名,甚至还会被误会为山寨品,这年头,正版品牌的维权之路实在太难走了。
根据中国商标局5月6日的公告,美国潮牌Supreme成功在华注册商标“SUPREME NEW YORK”,这也意味着这个全球最具知名度和人气的潮牌可以从各路高仿山寨品牌手中夺回中国市场的名誉和合法权益。该品牌从去年11月起便陆陆续续在中国获批了如“SUP”、“SUPREME”在内的一系列商标。

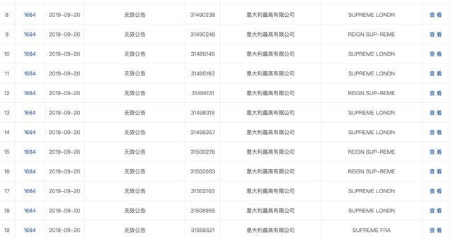
在Supreme获批商标的同时,曾经在中国高调开店宣传的“山寨”品牌Supreme Italia曾经注册过的如“SUP GO!”、“SUPREME FRA”从去年9月开始便陆续被中国商标局判为无效。

Supreme Italia于去年3月高调开设的上海门店也正面临停电歇业。曾被其整得晕头转向的正版Supreme也终于得以出一口气。要说这个山寨品牌的“战绩”,那可真的是数不胜数,两个品牌数次闹上法庭,Supreme Italia还曾在其中一场官司当中翻盘,摇身一变成为“合法假货”。
意大利*手党黑**创建的潮牌了解一下
多数人提到Supreme第一个想到的都是创立于美国纽约的潮牌,该品牌在1994年以纽约刚刚兴起的滑板运动为主轴,并结合了Hip-Hop等文化,起初吸引了许多滑板爱好者和街头艺术家光顾。但在意大利人看来,“Supreme”是意大利的民族品牌,Supreme Italia是一家背靠意大利Camorra集团的英国International Brand Firm(IBF)的旗下品牌,于2014年注册成立。这个Camorra集团与那不勒斯*手党黑**有着千丝万缕的联系,他们从事*品毒**交易,垃圾贸易,甚至时尚造假行业,通过制造各种高仿设计,面料与工艺的产品,缝上正品商标,进行公然销售。
在Supreme红遍美国之时,IBF发现Supreme竟然还没在意大利注册过商标,这是妥妥的看不上意大利市场啊!于是便抢在正版之前注册了Supreme Italia和Supreme Spain,堂而皇之地卖起与正版相似度极高的山寨货来,甚至还在巴塞罗那、福门特拉等地开了实体店,率先抢占了意大利和西班牙市场。

除了在品牌名称和logo上混淆视听,其产品和设计也与正版Supreme相似度极高,他们的标志性Supreme logo和红框比正品大上一圈。且它与其他打擦边球的山寨品牌不同的是,Supreme Italia大摇大摆地扩张市场,在全球抢注商标。面对如此高调的山寨,纽约Supreme也坐不住了,2016年Supreme 曾将山寨品牌告上米兰法庭,并打赢了官司,法院在终审判决中判定Supreme Italia为不正当竞争。但之后在西班牙的诉讼中,法院以Supreme Italia比Supreme NYC更早在西班牙注册商标为由,判定Supreme NYC败诉,山寨版可以继续在西班牙经营,这下好了,假货成了“合法假货”,正版也拿它没办法。越战越勇的山寨品牌开始从意大利冲向世界,就连NBA球星韦德也曾为其“带货”,上身标志性logo比正版更大的白色卫衣,山寨品牌怒刷了一波存在感,看到这里,不知道Supreme NYC是什么心情呢?

史上被打脸最快的联名合作

而真正让这个山寨品牌进入中国网民视线的是其与三星的联名合作,这是一次数码圈与潮流圈的“破次元”合作。2018年年底,三星在其新品发布会上宣布与Supreme达成合作,并称之为“双S”的合作,一个自称是Supreme品牌CEO的人更是穿了一件带有Supreme logo的冲锋衣上台畅想Supreme进入中国市场的宏大蓝图:在北京三里屯开一间7层的旗舰店、进驻天猫、在上海梅赛德斯-奔驰文化中心举行中国首秀等等。发布会结束后却被网友发现,品牌高管上身的那款黑色冲锋衣根本不是Supreme的产品,上面硕大的logo也暴露了山寨的事实。关于此的讨论在网上愈演愈烈,得知自己“被合作”的正版Supreme也在网上辟谣,顺便提醒三星被山寨骗了。就在发布会的第二天,三星通过微博发布了一则声明,称其将重新评估与Supreme Italia的合作。措辞虽委婉,却也宣告此次合作的结束,这次联名可以说是史上最快被打脸的联名合作,也给三星带来了一定的负面影响,甚至被网友“群嘲”。

“寨”心不死,上海开店

然而山寨Supreme进军中国市场的决心还没被熄灭,去年年初,其在上海淮海中路和吴中路均设立了门店,从远处便可看到门店外侧的“Supreme”字样,开业当天门口大排长龙,吸引了许多人前来光顾。店内的滑板设计、标志、字体都与正版Supreme相差不远,更有消费者称,山寨品牌的价格比正版更亲民,甚至质量也比正版好。但随着正版Supreme成功注册商标,这两家“高仿店”也不得不歇业。
Supreme进军深圳市场?
除了在上海开店的Supreme Italia外,深圳也出现过山寨Supreme,开设在深圳天利名城的Supreme NYC专卖店为了避免和正版“撞车”,在logo设计上保留了supreme 红底白字的设计,却在右上角加了一个小圆圈,构成NYC的标志,这种组合被巧妙打包进行了工商注册。有国外知名博主Unknow Vlogs暗中探店,店员也明确表示:“我们卖的是Supreme NYC而不是Supreme。”这种打擦边球欺骗消费者的品牌已经屡见不鲜。
进入门店内,卫衣,帽子,短袖等款式和美国潮牌Supreme有着极高的相似度,价格也相差无几,一件卫衣价格980元。在一线城市的繁华购物中心,相对较高的价格,也让不明真相的群众把它当做是正版的Supreme门店。

中国潮牌OXN与Supreme NYC联名,在广东东莞举办“官方”联名签约仪式。著名Superme打假博主supreme_leaks_news发布的视频中,发布会现场Supreme NYC派出的主理人是黑人,而真正的美国老板是名叫James Jebbia的白人。双方品牌自导自演的演出,通过品牌合作骗取价值百万美金的联名合作。

在欧美被视为高端潮牌的Supreme,在世界假货搜索率排名首位,近年来上升了500%。在电商平台,某宝网站上可以搜索到大量粗仿,精仿,1:1复刻的版本。Supreme的商标被印在各种家居,服装,手机壳上。销量前几的Supreme box logo 月销量5.6千件,这些“吸血虫”在俄罗斯,美国更为猖獗。
纽约Supreme之所以会屡屡陷入山寨风波,与其缺乏保护知识产权的意识息息相关,据悉,该公司在成立十年后才在纽约注册了商标,直到2017年才聘请法律顾问,与之相反的是Supreme Italia,该公司创始人称,他雇佣的律师比高管人数都多。
不仅仅是Supreme,还有许多品牌吃了没有及时注册商标的亏,这其中最典型的例子便是韩妆品牌Etude House爱丽小屋,因其低廉的价格和多样化的产品深受中国人喜爱,但如果现在在淘宝、天猫等平台上搜索“爱丽小屋”,出来的第一家店铺可不是“正版”爱丽小屋,原来,早在Etude House进驻天猫之前,便被其他品牌抢先注册了这个名字,还入驻了天猫成为旗舰店,里面的所有产品都与正版很相似,这也逼得正版迫不得已将名字改成“伊蒂之屋”。
同样的情况还发生在许多国外的热门品牌身上,主打防晒产品的Anessa也因为其中文名“安耐晒”被抢先注册而被迫改成“安热沙”,至今还有许多消费者称其为“安耐晒”,更过分的是,这个山寨品牌还曾在淘宝公然投诉买正品的消费者。但后来这个山寨天猫店铺已被下架,消费者们也不用担心买错了。

冷眼奢华观察站| iLuxureport
唯物质主义精神家园
在微信上搜索iLuxureport,与主页君一起冷眼奢华