
当外行听说某物的价格暴涨、创造“神话”的时候,它可能已经“见顶”
来源 :每日财报(ID:meiricaibao)
作者 :郜融莲
似乎是为了标榜自己品牌与“童真”密切相关,“盲盒”玩具公司泡泡玛特选在六一儿童节这天,向港交所提交了招股书。
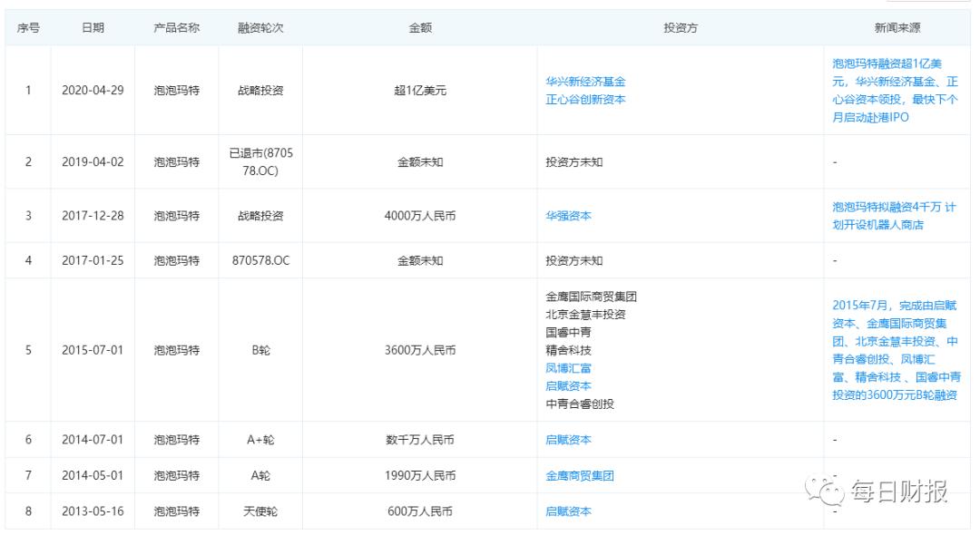
值得注意的是,这次是已经融资8轮的泡泡玛特第二次向资本市场发起冲锋。
在过去的几年里,依靠“盲盒”,泡泡玛特不仅扭亏为盈,还实现了利润增长百倍的奇迹,赚钱速度堪比印钞机。
然而,就在泡泡玛特加速狂奔的同时,盲盒所带来的新奇感也在部分爱好者之间逐渐消退,不少盲盒玩家开始“退坑”。泡泡玛特自身也因“产品质量”、“被控抄袭”等问题频频“翻车”。
利润暴增,融资8轮,泡泡玛特应该“并不缺钱”,那么为何急着投入资本市场“怀抱”呢?在爱好者开始“退坑”的背景下,其盲盒故事还能讲多久?
从亏损到盈利,已完成8轮融资
尽管现在的泡泡玛特看起来是“金光闪闪”,有各种光环加身,但就在几年前泡泡玛特还在为盈利发愁。
《每日财报》注意到,泡泡玛特成立于2010年,成立之初只是一家类似于名创优品的店铺,卖掉东西也是各种创意小百货,虽然说什么都卖一点,但的确也啥都卖不好。
2017年之前,泡泡玛特曾经连亏三年。2014年、2015年、2016年,泡泡玛特营收分别为1703万元、4538万元和8812万元;净利润分别为-277.29万元、-1598万元和-3003万元。
神奇的是,2017年,泡泡玛特在新三板上市,业绩一改往日颓势,扭亏为盈。
招股书显示,报告期内,泡泡玛特实现营收1.58亿元、5.14亿元和16.83亿元,后两年增幅为225.32%和227.43%,净利润分别达到156万元、9952万元和4.51亿元,2018年和2019年的同比增幅高达6279.49%和353.16%,毛利率也从2017年的47.60%增长到了64.80%。

2019年4月,泡泡玛特在新三板终止挂牌。《每日财报》发现,从新三板退市后,泡泡玛特便发生了一系列的工商变更,所有企业股东及自然人股东全部退出,由PopMart(HongKong)HoldingLimited出任唯一投资人,王宁仍继续担任公司法定代表人,企业类型也由台港澳与境内合资企业变为台港澳法人独资企业。
现在回头再看,泡泡玛特当时的迷惑*行为性**,便是为如今的港交所上市而做准备。
二次进军资本市场的泡泡玛特显然准备充足,企查查数据显示,截至目前为止,泡泡玛特已经拿到了8轮融资。就在今年4月,泡泡玛特刚完成了上市前最后一轮战略融资,金额超过1亿美元。

讲起“盲盒故事”,成也IP困也IP
如果要问泡泡玛特是如何在一年之内扭亏为盈的,那就要从公司的热门产品“盲盒”说起了。
所谓盲盒,里面通常装的是动漫、影视作品的周边,或者设计师单独设计出来的玩偶。与一般玩具相比,盲盒最关键的商业模式在于“盲”。就像《阿甘正传》中说过,“生活就像一盒巧克力,你永远不知道下一颗是什么味道。”
盲盒也一样,没买下并拆开它之前,你永远不知道里面装的是什么款式。这种由不确定性带来的心理情感,就像赌博和游戏一样,往往让*欲人**罢不能。
同时,盲盒还戳中了人们的“收藏癖”。就像很多人小时候都玩过集卡游戏,为了凑齐108个水浒人物卡,小朋友们天天光顾校门口的小卖部,不知道吃掉了多少袋小浣熊干脆面。

泡泡玛特的招牌IP是一个噘着嘴大眼睛名为Molly的小女孩,Molly为香港艺术家王信明。
2006年以来,王信明基于Molly形象开发了多个定制系列和潮流玩具,但是由于制造成本限制和有限的商业机遇,Molly玩具的销量和经销一直维持在规模较小的水平。
直到2016年,泡泡玛特发现商机,推出了首个“Molly Zodiac”盲盒系列,Molly才打开了市场,成为了国内的“盲盒女王”。招股书显示,目前,泡泡玛特运营的IP共计85个,其中自有IP有12个、独家IP有22个及非独家IP有51个。

但泡泡玛特其他的84个IP加起来,也不如一个Molly受欢迎。
Molly有多受欢迎?在闲鱼上交易最热门的十大盲盒产品中,Molly排名第一。2018年,原价59元到79元不等的Molly娃娃,在闲鱼上的交易超过23万单,均价270元,价格最高的一款涨价39倍。

尽管是做盲盒生意的,但泡泡玛特并没有把盲盒定位为公司的核心竞争力,而是把自己定位为IP的挖掘者、孵化者和经营者。
但成也萧何,败也萧何,受益于IP的泡泡玛特,现在也经历着IP带来的困境。为了推广IP,泡泡玛特广告及市场推广开支迅速攀升,报告期各期,分别投入260万元、1070万元和4680万元。
尽管花费着巨额的推广费用,但公司招牌IP Molly的销售额占总收益比重已经略有下滑。
泡泡玛特在招股书中也坦言,公司并无法确保Molly的受欢迎程度能一直保持在其现有水平,如果Molly受损害或未能保持其目前对消费者的吸引力,则将面临没有替代品的困境。
此外,IP授权协议的期限亦可能构成风险,因部分产品根据授权协议开发,授权期限通常在1-4年,其中有的不会自动续期,届时不再有权出售产品,可能对业绩造成不利影响。
质量问题频出,产品品控待强化
根据弗若斯特沙利文报告,中国潮玩零售的市场规模由2015年的63亿元增加至2019年的207亿元,复合年增长率为34.6%。同时,受中国潮玩的受欢迎程度不断上升所推动,这一市场规模预期将于2024年达到763亿元。

看中了盲盒市场的潜力,越来越多的大佬开始入局,使得盲盒市场的竞争愈发激烈。入局者有独角兽、L.O.L、sonyangle、毕奇、littleamber、吾皇万睡、actoys猫铃铛、lego迷你人仔、sml盲盒等。
尽管泡泡玛特暂时处于领先位置,但其身后的选手和其差距并不大,只要泡泡玛特稍不注意,便会被赶超。

想要在吸粉的基础上固粉,那必须能拿出颜值能打、质量过关的产品。虽然,泡泡玛特旗下产品颜值不错,但其质量一直被消费者诟病。
据第三方投诉平台黑猫投诉显示,截至6月3日,关于泡泡玛特的投诉量已达1338条,投诉原因主要集中在“质量差”“退货退款进程慢”两大问题。
此外,今年1月,泡泡玛特还因平台投诉解决率为0,而登上了“315消费保”的黑榜。
除此之外,泡泡玛特还多次被指涉嫌抄袭。《每日财报》注意到,今年2月,泡泡玛特新品AYLA动物时装系列对外发售,但随后就被指出,疑似抄袭知名娃社“DollChatueau”2017年的产品。之后的2月18日,泡泡玛承认了设计存在问题,并承诺下架及退款召回。
最终在2月18日,泡泡玛特官方发布致歉微博,承认AYLA动物时装秀系列个别款式设计过程存在问题,与“DollChateau”产品设计相似,全渠道下架该系列产品,已售出的则退款并召回。
踩中人性弱点,能否延续成功
有人说,盲盒从其本身来讲,就是一种软赌博行为。
一个59元的盲盒并不算贵,大多数消费者本着“花钱买快乐”的思想,先来一个,试试能不能抽到自己喜欢的。抽到重复的,想要其他的;抽到普通的,想要稀有的;抽到喜欢的,想要全套的。
可以说,泡泡玛特摸透了消费者心理,踩中了人性的弱点,打开了市场,然而,但这样的成功能延续下去吗?
据招股书显示,泡泡玛特将近一半的营收来自于公司的线下门店,零售店和机器人商店(自动贩卖机)占公司总营收的比重将近60%。

对于这样一个依赖于线下的行业来说,新冠疫情造成的影响显而易见。不仅线下销售受到重创,就连近年来公司战略中极为重要的玩具展,也无限期地延期。
值得注意的是,过去三年,盲盒经济一片繁荣,但疫情之下,如今的消费者正在变得冷静和理性。

不少盲盒玩家已开始“退坑”,在闲鱼低价批量售卖自己曾经的收藏。一些“退坑”卖家将盲盒普遍标价在50元以下,部分非热门IP标价低至10-20元。

盲盒抓的是人性的弱点,卖的是5到10分钟的多巴胺,但当人的基本生存问题受到冲击时,盲盒经济的热潮也将消退。另外盲盒经济极其依赖线下场景,受疫情影响,人们减少外出,这也在给盲盒经济不断降温。
再从产品端去看,商家如今也正面临新IP的开发困境。盲盒经济的商业逻辑固然相当巧妙,但对于消费者而言,激发购买欲的核心还是精美的新产品。
虽然泡泡玛特有80多个IP,但是真正能带来大量营收的IP却不超过5个,其中爆款IP“Molly”就占了3成收入。
任何量产的东西,只要厂家想做,就可以大量供给,“绝版”只是传说。有人想买,放着钱不赚,商人怎么会犯傻?只是为了赚更多的钱罢了。
只要是炒作,难免滋生泡沫,在泡沫没破之前,它会变得越来越大,诱使一些人加入“膨胀大军”,当“接盘侠”。可是,物极必反,泡沫一旦炸裂,则会灰飞烟灭。当外行听说某物的价格暴涨、创造“神话”的时候,它可能已经“见顶”。
对于公司价值,亦是如此。
