1 割管器
割管器是专门用于切断铜管、铝管等金属管的工具

割管器的割管直径一般为3~35mm其结构如图所示,由割刀1、支撑滚轮2和调整旋钮3组成,通过旋动调整旋钮,可以调整割刀和支撑滚轮间的距离,以适应不同管径的管子。

割管器的使用方法
●将管子放置在滚轮与割刀之间,管子的侧壁要贴紧两个滚轮的中间位置,调整旋钮使割刀的刀口与管子垂直夹紧,然后旋动调整旋钮,使割刀的刀刃切入管壁;
●随即均匀地将割管器环绕管子旋转,环绕一圈后再旋动调整旋钮,使割刀进一步切入管壁,每次进刀量不宜过多,只需拧进调整旋钮的1/4圈即可,
●然后继续转动割管器,此后边紧边转,直至将管子切断。
●切断后的管口要整齐光滑,无毛刺和缩口现象。有些割管器带有去毛刺的修整刀,以便在铜管割断后对管口进行修整。修整时注意不要让金属屑掉进管内。
●毛细管的切断要用专门的毛细管钳,或用锐利的剪刀夹住毛细管来回转动划出痕迹,然后用手轻轻地折断。
2 倒角器
倒角器是将三把均匀分布且成一定角度的刮刀装在一段塑料管子里。这三把刮刀在一端互成钝角,在另一端互成锐角,如图所示

由割管器割断的管口,往往存在管口端部收缩、有毛刺等缺陷,一般虽然用锉刀可以修正,但效率低,锉刀造成的金属屑不易去除
把倒角器一端的刮刀尖伸进管日的端部,左右旋转数次,再把另一端刮刀尖伸进管口的端部,同样左右旋转数次,就能把毛刺去掉,修整好收缩的地方。
使用倒角器时应注意:
●①管口尽量朝下,以避免金属屑进人管道
●②如有金属屑进入管道内,需将其清除干净
●③不要用硬物敲击倒角器
●④使用后除去倒角器上的金属屑,并在刀刃处加上防锈油
3 扩胀管器
扩胀管器是用来制作铜管的喇叭口和杯形口(又称圆柱形口)的专用工具
喇叭口的管口形状用于螺纹接头或不适于对插接口时的连接,目的是保证对接口部位的密封性和强度;杯形口是用于两根相同管径铜管连接时,一根管子插入另一根管子的管径内使用。喇叭口与杯形口的形状如图。

喇叭口与杯形口
■扩管器
下图所示为既能扩喇叭口,又能扩杯形口的扩管器;主要由夹具、弓形架和扩胀头组成。

夹具分成对称的两半,一端使用销子连接,另一端使用紧固螺母和螺栓紧固。两半对合后形成的圆孔按不同的管径制成螺纹状,目的是便于更紧地夹紧铜管。孔的上口制成60。的倒角,以利于扩出适宜的喇叭口。


扩管器的使用方法:
●扩管时首先将铜管扩口端退火并用锉刀锉修平整,然后把铜管放置在相应管径的夹具中,拧紧夹具上的紧固螺母,将铜管牢牢夹住。
●扩喇叭口时管口必须高于夹具的表面,其高度略大于夹孔倒角的斜边长度,然后将锥头旋紧在弓形架的顶压螺杆上,把弓形架固定在夹具上,使锥头与铜管的中心在同一直线上;
然后顺时针转动顶压螺杆上的手柄,使锥头顶住管口,均匀缓慢地旋紧螺杆,把锥头向下旋转3/4圈,再倒转1/4圈。
●如此反复进行,逐步把管口扩成喇叭口。
旋紧螺杆时应注意不要过分用力,以免胀裂铜管侧壁。扩喇叭口时.可在锥头上抹少许冷冻油,便于扩口润滑。
●最后扩成的喇叭口要圆整、光滑、没有裂纹。
■杯形口胀管器
杯形口专用胀管器:它由手动杠杆和胀头两部分组成

(左)手动杠杆 (右)胀头
●胀杯形口时根据铜管管径选定所需的胀头,将其旋到杠杆上
●将杠杆松开,把扩口端已经过退火处理的铜管套至装好的胀头上
●收紧杠杆,胀头自动张开,铜管形成杯形口
●杯形口胀好后,松开杠杆,取下铜管,观察杯口是否符合要求

胀管器胀杯形口
4 弯管器
弯管器是用来弯制直径小于20mm的铜管的专用工具,结构如图,弯曲半径应
不小于管径的5倍

弯管器根据导轮及导槽的大小可对不同管径铜管进行加工,弯管器与铜管相对应也有米制和英制之分,
其常见的规格有
●米制:6 mm ,8 mm,10mm ,12 mm,16 mm ,19 mm
●英制:1/4 in ,3/8 in、1/2 in ,5/8 in ,3/4 in

●弯管时把退过火的铜管放入固定轮导槽内,用固定杆拨住铜管,然后用活动杆的导槽套住铜管。
●两手分别握住固定杆和活动杆手柄,使活动杆顺时针方向平稳转动,铜管便在导槽内被弯曲成需要的形状,弯曲的角度应与固定轮显示刻度相对应。
●弯管时要注意用力均匀。避免出现凹瘪和裂纹。为保证弯管质量,也可将铜管内充满细沙,铜管两头夹死。
●对于管子直径小于8mm的铜管。也可用弹簧弯管器进行弯曲。使用弹簧弯管器可把铜管弯成任何形状。
弯管时,用大拇指按住铜管部分,弯曲半径尽可能大,避免因半径过小而压扁变形,甚至破裂而报废。
5 封口钳
封口钳主要用于电冰箱、空调器封闭修理管口时使用。
外形结构如图所示,其中左图所示的是封夹币φ4mm左右的铜管的封口钳,直径较大或压力较高时,多使用图右所示的封口钳。




●封口钳在使用前要根据管壁的厚度调整钳柄尾部的螺钉,使钳口的间隙小于铜管壁厚的2倍,过大时封闭不严,过小时易将铜管夹断。
●调整适宜后将铜管夹于钳口的头部,合掌用力紧握封口钳的两个手柄,钳口便把铜管夹扁而铜管的内孔也随即被侧壁挤死,起到封闭的作用。
●铜管封口后,拨开钳口的开启手柄,钳口在开启弹簧的作用下,自动打开。
●在有压力的管道,例如冰箱、空调等制冷系统充灌制冷剂后,进行封口时在管道上钳上两次。先在距离割断位置20~30 mm处钳上一道,松开钳子,再在距离割断位置50~60mm处钳上,这时封口钳不要松开,把管道割断,钳扁,试漏后焊死,最后才松开,取下封口钳。如有泄漏是绝不能进行焊接的
6 接头修整器
接头修整器是一把特殊的刮刀,一般用于钢管接头的修复,其结构如图所示
对管接头进行修复时,将修整器套人管接头螺母内,压在螺母接头的斜面上,然后转动修整器,直到磨损的斜面修整平为止。
当然,对磨损严重和修复有困难的管接头,则应换用新件

接头修整器
1-修熟器 2-管接头
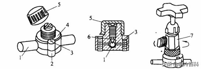
7 方榫扳手
方榫扳手又称棘轮扳手,是专门用于快速旋动制冷装置各类阀门杆的工具,结构如图。
方榫扳手的一端是活动的方榫孔,其外圆为棘轮,旁边有一个撑牙由弹簧支撑,使扳孔只能单向旋动。
使用时,只需将方榫孔套入阀杆端部的方榫杆内,将方榫扳手一顺一反地连续摆动,就能将阀杆旋动而开足阀门。
若要关闭阀门,需将扳手拔出,翻一面再套上阀杆作一顺一反地摆动。旋转时,可听到扳手有“格啦格啦”的声响。扳手的另一端有一大一小的固定方榫孔,
可用来调节膨胀阀的阀杆。

1-棘轮; 2-活动方榫孔;3-固定方榫孔;4-撑牙
方榫扳手
力矩扳手
制冷与空调设备维修中常用的力矩扳手如图所示
力矩扳手在使用时应注意:
●①手应握在握把的中央位置
●②在使用力矩扳手紧固螺母时,力矩扳手要与螺母轴线保持垂直状态
●③在紧固螺母时,应按力矩扳手上的箭头方向转动扳手,直至力矩扳手发出“咔嗒”声为止

力矩扳手
9 抽真空、定量充灌制冷剂设备
■真空泵
真空泵的外形如图,主要用于制冷系统安装与维修时抽真空


(1)制冷系统抽取真空的目的
●①将系统内部残存的气体抽出,排出内部的水分和不凝性气体,保持干燥
●②对制冷系统进行检漏,若在抽真空时系统一直达不到所要求的真空度,即系
统内绝对压力不低于133 Pa,表明系统有泄漏,应进行检漏
●③在充灌制冷剂之前必须对整个系统抽真空
(2)真空泵使用注意事项
●放置真空泵的环境要干燥、通风、清洁
●真空泵与系统连接的耐压管要短
●启动真空泵前要仔细检查各连接处是否紧密及焊口处是否完好,泵的排气口胶塞是否打开
●停止抽真空时要首先关闭直通阀的开关,使制冷系统与真空泵分离
●不使用真空泵时要用胶塞封闭进口、排气口,以避免灰尘和污物进入泵内影响●真空泵的正常工作。要保持真空泵整洁,随时观察真空泵油窗上的油位高低标志,过低时应及时注人真空泵油
■定量充灌器
又称计量加液器
它是制冷系统充灌制冷剂并能准确控制加液量的专用器具,其外形结构如图

在充灌制冷剂时,先按照压力表值和制冷剂的种类将对应的刻度线调节到液量观察管的位置,然后通过三通换向阀和加液管向制冷系统充灌制冷剂。
■抽真空充灌器
抽真空充灌器是一种检漏、抽真空和充灌制冷剂的专用组合设备,主要由真空泵、定量充灌器、高压压力表、低压压力表、真空表和组合阀等组成,其外形结构如图。

它只要通过连接管就能完成包括检漏、抽真空和充灌制冷剂的工作。
10 复式修理阀
复式修理阀是检测制冷系统压力、抽真空、充灌制冷剂的专用工具,分单表修理阀和双表修理阀两种。
■单表修理阀是在直通阀上加装一只压力真空表而成的,如图所示
阀体上共有三个接口,一个接压力真空表,接口4与制冷系统相连接,接口3与真空泵或制冷剂钢瓶相连接。

单表修理阀
1.压力真空表;2.阀开关;
3.4.接曰
阀门关闭时,接口4与压力真空表仍是相通的,即压力真空表仍指示系统内的压力。
这种修理阀结构简单,携带方便,但连接真空泵与制冷剂钢瓶的接口在使用时需分别操作,即先接真空泵,抽真空操作结束后,则旋下抽真空软管,再接制冷剂钢瓶软管,进行充灌制冷剂,操作比较麻烦。
■双表修理阀又称专用组合阀,其结构如图所示


双表修理阀
1.压力表;2.压力真空表;3、7.阀开关;4.低压接口;
5.中间接口;6.高压接口
阀体上装有两只表
●压力表:用来监测制冷系统内的压力
●压力真空表:用来监测抽真空时的真空度,也可用来监测制冷系统内的压力。
阀体上还设有两个阀门开关和三个接口,若中间接口5接制冷系统,低压接口4接真空泵,高压接口接制冷剂钢瓶,打开阀门3和7(制冷剂钢瓶上的阀门关闭)可进行抽真空;
关闭阀门3,打开制冷剂钢瓶的阀门可进行充灌制冷剂。这就使抽真空、充灌制冷剂连续进,使用起来较方便。
11 顶针式开关阀
顶针式开关阀是一种用于制冷系统抽真空、充灌及回收制冷剂的专用阀门,其结构如图。

顶针式开关阀
1.制冷剂管道;2.下瓣;3.螺钉;
4.上瓣;5.阀帽;6.顶针;7.专用检修阀;
●回收制冷剂时,卸下连接上下瓣的紧固螺钉,将上下瓣扣合在将要接阀的管道上,然后拧紧紧固螺钉。
●打开顶针开关的阀帽,装上专用检修阀,使专用检修阀的阀杆刀口插在开关阀上部的槽口内,然后将专用检修阀的阀身拧紧。
●顺时针旋转专用检修阀阀柄,开关阀的阀尖(顶针)随即也被旋进管道内,使管道的管壁顶压出一个锥形圆孔;
●逆时针旋转专用检修阀阀柄.开关阀的阀尖退出管壁圆孔,制冷剂随即喷出,沿着专用检修阀的接口流人制冷剂容器中。
在现场维修时使用这种阀门十分方便,省掉了焊接操作
需要注意的是:操作完毕后逆时针旋转一专用检修阀阀柄,使开关阀的阀尖关闭所开之圆孔,然后卸下专用检修阀,拧紧开关阀阀帽,整个顶针式开关阀便永久保留在系统的管道上。
12 快速接头
快速接头是一种用于检漏、充灌制冷剂等操作的快速连接工具,其结构如图。快速接头分凸头和凹头两部分,并各有自封针阀。

快速接头
1.压缩机工艺管;2.手轮;3.垫套;4.胶套;5.凸头;6、12.自封针阀;
7.护套;8.滑套;9.锁固球;10.密封圈;11.滑套弹簧;13.连接软管
在使用中,当凸头插人凹头时,两阀针对顶开启,使管路接通;当凸凹两部分脱离时,两阀针靠各自的弹簧作用自动封闭管路。
使用时,推动滑套向凸头方向,使锁固球将凸凹两部分锁紧。脱离时,将滑套向凹头方向推动,使锁固球脱离槽,凸凹头两部分脱离。
13 翅片梳
风冷式的换热器如窗式空调、分体式空调的冷凝器和蒸发器,它们的翅片是用铝质薄片胀接套在铜管上的。
由于运输、维修等原因,在受到较小的外力作用时,翅片就会发生变形。要保持翅片的平直,才能让空气正常流通。变形的翅片使换热效率大大降低。
翅片梳是整理变形翅片的专用工具,由紧固螺母、梳叶和手柄三部分组成,如图所示。

梳叶用塑料制成,形状类似一个扁平的六角螺母,每一边开有距离相等的沟槽,各边的槽距各不相同。
这就是说,一把翅片梳可以梳理6种不同距离的翅片。使用时,先选好与要梳理的翅片间距相同的沟槽边,从没有变形处把梳子小心插人,顺槽移到变形处,轻轻把梳子从里往外拉出,让变形的翅片复原。
使用翅片梳时应注意:如大面积发生变形,应用铜片、竹片作初步整理;每次梳理变形的翅片数不能多于3片。
14 清洗喷壶
使用清洗喷壶,可以清洗风冷式换热器的污垢。

如空调机的冷凝器,由于各种原因,其翅片上布满了油污和尘埃,形成热阻,阻碍冷凝器的热量排放,用清水洗、空气吹、机械刮都不能有效地去除油污和灰尘。
使用清洗喷壶,将清洗液均匀地喷射到翅片的油污部位,等候3-5min,让清洗液充分和油污产生化学反应,直到油污表面发泡、发热,出现白雾等现象时,及时用清水冲洗,就能把油污清除。·
清洗喷壶由气泵、壶盖把手、开关、喷头、混合室、出液管、壶身等部件组成,如图所示。
使用时,先往壶内注入清洗液,旋上上盖,用手上下推压气泵,塑料壶身内就形成一定的压力,轻轻按下开关,气流就从喷头处高速喷出。高速流动的气体会形成真空,将清洗液从壶身中吸到混合室里与气体形成雾状混合物从喷头喷出。
使用清洗喷壶时应注意:
●①推压气泵次数不要太多,以6~8次为宜,以免壶内压力过高,以至损坏气泵
●②操作时要戴好眼镜,穿好雨鞋、工作服,戴上口罩、塑料手套等。若不慎沾上清洗液要及时用清水清洗
●③工作时应处于上风位置
●④清洗喷壶用后需用清水冲洗干净
●⑤被清洗表面喷上清洗液的时间不宜过长,否则会腐蚀金属表面,影响使用寿命
15 冲击钻
冲击钻是用来冲打砖墙、混凝土等建筑物的墙孔,供膨胀螺栓或空调器的管道、导线、排水管穿墙孔使用。

▲
旋转用电钻
适用材料:木材、石板、铁板、灰浆和气泡混凝土等
旋转转速400~600r/min最为合适

▲
振动用电钻
砖、瓦、石板、灰浆和气泡混凝土等
旋转转速400~500 r/min ,振动数10 000~14 000次/min左右的最为合适
