爱美是女人的天性,很多小仙女们被日韩欧美大牌化妆品“种草”后开始疯狂买买买。
奈何不少国外大牌在国内被人抢先注册了商标,小仙女们在各大线上平台真的是一不留神就买错,入坑简直防不胜防啊。

小优掰手指数了数,商标被抢注的知名品牌还真不在少数。看来“不怕被模仿,只怕被超越”真的要反过来说了。
知名品牌商家苦不堪言,我们消费者又何尝不是呢?避免入坑第一步,还是要从了解商标被抢注这些事儿开始。

先来说说深受大家喜爱的3CE,3CE(全称:“3 Concept Eyes”)是韩国STYLENANDA公司2009年创立的彩妆品牌。
2013年该品牌凭借韩剧《Miss You》植入而风靡全亚洲,后来在2018年被欧莱雅收购,再后来2019年开设天猫旗舰店,正式进入中国。

然而早在2012年,3 Concept Eyes这个商标就被武汉一家公司给抢先注册了,这家公司也是卖彩妆,还开设了好几百家线下柜台。
3CE再无奈也没辙,谁叫早起的鸟儿有虫吃呢?后来果断更换了品牌logo,品牌名也改为3CE STYLENANDA。
各位仙女们注意了,3CE这个品牌线下专柜比较少,在北京有一家和丝芙兰里面有,其他的专柜都是假的。

3CE老logo和新logo
想必大家对韩国HERA品牌再熟悉不过了吧。但是,我们口中一直说的“赫拉”这个商标也猝不及防地被人抢先注册了。
现在的赫拉是立白集团旗下广州澳希亚实业有限公司收购的HOLA品牌,韩国HERA在中国的名字叫赫妍。
大家网购时直接搜赫妍就好,别再搜错店铺了,小可爱们记住了吗?

这是广州HOLA,不是韩国HERA

这才是韩国HERA本尊
还有个韩妆品牌ETUDE HOUSE,这个品牌一度火遍大江南北,不仅便宜好用还好看。
在进入中国市场之前,我们一直管ETUDE HOUSE叫爱丽小屋。做梦也想不到的是,爱丽小屋商标早已被国内企业抢注,后来只能改名叫伊蒂之屋。

ETUDE HOUSE伊蒂之屋
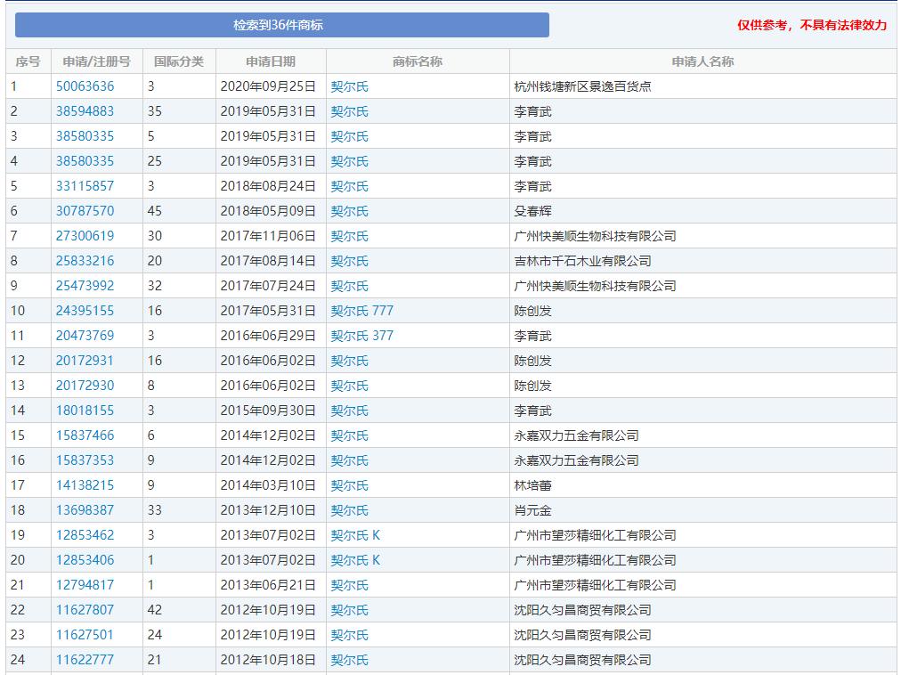
KIEHL'S是欧莱雅集团旗下化妆品品牌,直译过来是契尔氏,但不巧的是,这个商标也被抢注了。
无奈之下,只能改名叫科颜氏。好在现在大家都习惯叫科颜氏了。小优倒觉得,科颜氏反而比契尔氏好听呢。

就连人手一瓶的日本ANESSA安耐晒小*瓶金**也没能逃脱商标被抢注的命运,安耐晒被广州一家公司赶在前面注册了,最后资生堂只好将安耐晒,改名为安热沙。
这波操作搞得很多人还误认为安热沙是山寨假货,其实人家才是本尊。真的屈尊了屈尊了!
教大家一个秘诀,找这些大牌的时候可以看一下代言人,只有正主的店铺才能放代言人照片的。

图片来源官方旗舰店
美国Coppertone可是第一个提出SPF指数的专业防晒品牌,Water BABIES 系列当时在中国可受欢迎了,“水宝宝”还曾一度广为流传。
结局却悲剧了,当Coppertone想起要去注册“水宝宝”商标时,恍然发现不管是“水宝宝Coppertone”还是“水宝宝WATER BABY”都被人抢注了。
后来Coppertone的中文名字只好叫确美同。就这么错失了水宝宝,太可惜。

知名品牌商标被抢注案例,远远不止小优以上列举的这些。大牌商家们,这些可都是泪的教训,商标注册宜早不宜迟,市场未动,商标就应该要先行了,一旦被抢注,真的会让你一个头十个大。

对于这些大牌化妆品,很多老司机基本上能分分钟辨出真假,可小白就很难说了。总而言之,大家在购买化妆品尤其是国外大牌时,一定要擦亮眼睛。
小优建议大家网购化妆品时,多上商标网、药品监督管理局查查,是骡子是马就一目了然。