【室内设计胶囊】
洗漱台是我们每天都要用的地方,也是最容易忽略的地方。很多家庭卫生间的洗漱台就是一个洗手盆+方方的镜子,平时没觉得有多丑,但是看完别人家的洗漱台,才发现原来还可以这么美!

一般来说,洗漱区不仅要满足洗脸、刷牙的基本需求,还要增加一定的收纳功能,让卫生间时刻保持干净、美观,不显杂乱,才能大大提升它的设计格调,使用起来也更加方便随心。


那么,一个兼具美观与实用的洗漱台,到底应该如何设计呢?下面这些比较时髦的设计方式分享给你,希望可以获得灵感。
01.壁挂式洗漱台
与带有落地浴室柜的传统设计相比,壁挂式洗漱台拥有更高的颜值和轻盈感。它的底部是悬空的,没有卫生死角,清理起来非常方便,并且少了一丝笨重的感觉,看上去非常时尚、美观。



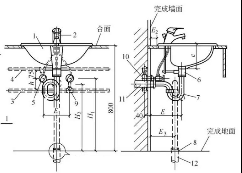
壁挂式洗漱台一般选择墙排,将排水管完美地隐藏在墙体之内,以免那根“丑陋”的管子直触地面,影响视觉美观。所以,在安装洗漱台之前,必须要做好排水处理,就不会给后期维修带来太大的麻烦。


另外,洗漱台的底部可以依照自己的喜好来选择,做成开放式隔板或者封闭式的柜子,或者干脆进行混搭设计,都能满足毛巾及一部分洗漱用品的收纳需求。



而台盆的选择有台上盆和台下盆这两种,前者比较适合“颜控”又勤快的人,而后者的盆体完全嵌入到台面之下,颜值一般,但更易清洁一些。



还有一种台盆与台面无缝对接的一体式设计,就非常适合洗脸都要“干个水仗”的任性宝宝了!



02.落地式洗漱台
在现代卫生间设计中,落地式洗漱台也受到了当下很多年轻人的欢迎。不过,它的底部不完全贴近地面,看起来就没有以往那么敦实、笨重,基本都做了留空设计,采用细脚的造型加以支撑,安装起来也很便利。


当然,除了追求颜值在线以外,如果你没有做好干湿分离设计,就可能导致水渍渗透或侵蚀柜腿,久而久之,缩短了洗漱台的使用寿命。





落地式洗漱台对于排水方式,也没有固定的选择。
即使你为了贪图省力,将下水管道隐藏在柜体之中,也能保证美观实用的视觉效果,将空间全部利用起来,所有物件都整齐划一地摆放其中,保证强迫症也挑不出任何毛病。



总之,在这个追求颜值至上的时代,连洗漱台都开始告别“脏乱差”,不知不觉变得洋气起来了!如果你也不想让自己家的洗漱台看起来那么平庸,不妨去做一些大胆的尝试,用最 in 的设计去提升生活质量吧!




03.台上盆是如何安装的?

台上盆
施工流程:施工准备→设计交底→图纸会审→技术交底→材料检验→放线定位→卫生器具及配件、管道安装→通、满水试验→交工验收。
1、施工前准备
台盆在安装之前要检查外观洁净无损坏,还有配套连接管无凸凹弯扁等缺陷。

检查软管
根据在咱们的设计要求确认是:台上盆、台下盆、立盆,以免造安装不上的错误。现场检查外观质量和配件。钻孔,安装台架。
2、放线定位

管道位置
核对安装尺寸、台面开孔尺寸、位置、龙头位置是否和咱们的设计图纸一致,台盆管道位置应左热右冷立盆两管间距100mm。

定位
把台盆的开孔图剪下并仔细与台盆核对,如果稍有误差就会导致,台盆装不上,或者有缝隙不美观。

描线
将开孔图复制在大理石台面上,并用笔在要切割的大理石台面上描好开孔线。
注意:要在大理石台下面留出龙头安装供水管、排水件、进水角阀等的安装空间。
3、开孔

开孔
画好大理石开孔线后,在切割口内钻一个孔,然后沿着所画切割线内侧切开台面,并将切割边修磨光滑。

开孔示意
4、安装台盆
安装好大理石台面板后,将台盆放入大理石台面板的切割孔内,校正位置,并用铅笔沿台盆外边缘在台面上画出轮廓线。

取下台盆,按照要求先安装好水龙头和下水器。将玻璃胶均匀地抹在台盆边缘线与切割边之间的台面上。将台盆安装在台面上,并检查其位置是否准确,然后将台盆压平,将台盆边沿多余的玻璃胶擦去。

台上盆安装节点
5、通、满水试验
待玻璃胶干后,连接进水管件与排水管件,在连接进水件时,应先将管道内的水排出3~5分钟,以清洗管道,防止管道内的砂粒等杂物堵塞角阀和龙头出水口。
04.台下盆安装工艺

台下盆
1、根据设计图纸,弹出基准线,确认无误后用角铁或者钢管焊接出框架,并通过膨胀螺栓固定在墙壁上。

骨架安装、结构图
2、钢架上覆盖安装6-8mm厚水泥板,用螺丝固定,水泥板事预先开好台盆及龙头需要的洞口。

安装水泥板
3、加工好的石材台面,用结构胶粘在水泥板上。

石材台面施工
4、从下方将台盆顶在石材台面上,用Z字形卡件或其它固定件固定台盆,在台盆与石材交界处,用硅胶密封(防水)。

固定台盆
这里需要注意:不建议直接用结构胶将台盆直接固定在石材台面上,因为不可避免会有台盆碎裂需要检修,粘在一起维修的时候会拆除台面,没有必要。而用卡件则可以单独拆卸安装台。

台下盆安装节点
5、石质柜体直接粘贴基层板上,木质柜体也可以直接粘贴在基层板上。

安装柜体
6、最后就是安装龙头,做通、满水试验,安装完成。
05.活动台面洗手盆安装工艺

检查软管
现在也有一些家庭用的不是固定式的台盆,而是选择活动洗手台,那对于活动式的台盆是如何制作的呢?

台盆柜SU模型
对于活动式台盆,有些设计师是直接在洁具店内购买,只要尺寸合适就可以。而有要求的设计师都选择了定制,厂家可以根据自己的设计要求来制作台盆柜。咱们看看都有哪些需要对接的:
1、木饰面厂家会按台盆柜下单图下单生产,并开好相应的孔洞。

下单图

台盆平面图
2、台面一般是用石材来做的,所以还要与石材厂家对接台面的定制,人造石下单生产,可以看到台面和柜体主要是有4个小石块固定。

柜体示意
3、安装时,需要注意洗手盆边缘底面,贴上一软质材料用来保护,防止洗手盆釉面与台盆柜直接硬碰,破损洗手盆面。
4、尺寸核对,要注意洗手盆的中心在设定的中心上。将已经加工好的4块小石块放到台盆柜开好的4个孔洞中,保证小石块的高度与台盆柜的上表面在同一平面。

节点大样
5、台面石材进行试装,调整台面石材的位置,确保台面洗手盆洞口与洗手盆的内侧边缘相吻合,确定最后的位置。
6、按照确定的位置,将一盆石材与4块小石块用AB胶粘接到一起。组装台盆石材与台盆柜,洗手盆与石材收口、打胶处理。