被天价购买的商标 (天价商标40万)

近几年出现的天价商标真不少,最为人津津乐道的当属当初苹果花6000万美元从深圳唯冠科技公司手中购买“Ipad”商标了。其后还陆续出现了一些天价商标,比如“芈月”商标,还有我们此前谈到过的 荷平 饭店”商标等等。

近日,又出现了一枚天价商标,已有有人想要出价1000万来购买这枚商标,它就是“微商”商标。

微商是随着微信用户数的大量增加,在近几年才逐渐兴起的网络新群体。微商由于进入门槛低,且不须经过严格的注册,深受年轻群体的青睐。近几年,越来越多的人加入微商大军,微商的发展势头逐渐超越了传统电商,成为目前话题量最高的销售模式。

从全国微商行业规范认证办公室发布的数据来看,自2014年微商发展以来,发展速度倍增,微商从业人员在5000万人左右,微商行业市场规模2018年将达到7000亿元人民币,预计今年2019全年市场需求规模将达到1万亿元人民币。

而据中国信息经济学会发布的《微信社会经济影响力研究报告》称,微信已带动了超过 1007万人就业,一部分人甚至月入过万。微商目前主要通过微信公众号以及朋友圈进行产品的宣传,销售的产品以面膜、海外代购护肤品等快销品为主。

微商发展的如火如荼,也让一些人看到了其中的商机,开始抢注“微商”相关的商标。

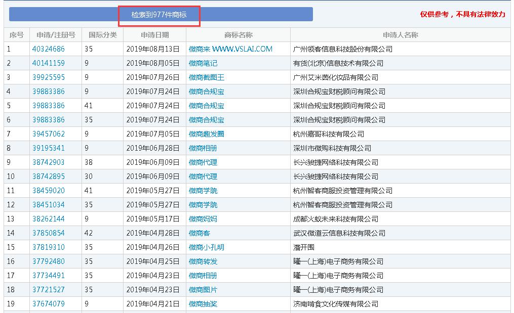
通过检索“微商”二字,可得到977件商标结果,商标名称包含“微商笔记”、“微商抽奖”、“微商资讯”、“微商大讲堂”等各种与微商相关的内容。

微商著名商标,被天价购买的商标

而最最重要的“微商”商标,却被山东天信电子商务有限公司拿下了。

通过商标查询可发现,山东天信电子商务有限公司在2014年12月25日提交了30件“微商”商标注册申请,截止目前,19件被驳回无效了,9件还处于实质审查阶段,有2件已经成功注册,分别是第30类方便食品和第34类*草烟**烟具,这两枚商标都是于2016年8月28日核准注册的。

微商著名商标,被天价购买的商标

微商著名商标,被天价购买的商标

微商著名商标,被天价购买的商标

据该公司法人介绍,他本人就是做微商的,就想给自己正一下名,当时正好圣诞节就想买个礼物,就注册了“微商”商标。

微商如此火爆,腾讯不可能不关注到这一情况,而他们也非常想到得到“微商”商标。

商标检索结果显示,2015年4月1日腾讯向商标局提交了7件“微商”商标注册申请,其中包括第9类、35类、36类、38类、41类、42类、45类,服务项目涵盖了科学仪器、广告销售、金融物管、通讯服务、教育娱乐、网站服务、社会服务,根据审查结果来看,7个“微商”商标均被驳回。

微商著名商标,被天价购买的商标

而山东天信电子商务有限公司手中的“微商”商标则成了众人趋之若鹜的香饽饽,截止目前,已有不下10人与山东天信电子商务有限公司联系,均提出有意向收购“微商”商标,更有人将收购金额提到千万级别。

我们知道,注册一枚商标只需要几百元,而有的商标却能卖到天价,为何商标价格有高有低,影响商标价值的因素都有哪些呢?

总体来看,商标价值影响因素有如下几点:

①本身价值:商标的所有人,对商标的投入和花费都凝结于商标上,所以商标自注册,就拥有价值;

②市场价值:使用商标的商品在市场上越受欢迎,其商标的价值就越高。这也关系到商品的质量、宣传等;

③类别因素:我国轻工业比较发达,那么商标类一共45类中,只有一些类别是热门类别,其申请的难度较高,则价值也会较高;

④期限因素:一般来说,每个商标的专用权为10年,10年将到期在通过续展继续拥有商标,如果商标使用期限较长,则价格较高;

⑤流程因素:这需要专业人才审查,如果商标在注册的过程中,多次复审等问题,则代表商标的稳定性差。

商标是一种无形资产,这话不是说假的。可口可乐公司的总裁曾经说过:即使一把火把可口可乐公司烧的分文不剩,公司仅凭“可口可乐”这一驰名商标,就可以在几个月之内重新建厂投资,获得新发展。

但是商标的价值在于使用。商标获准注册之后,企业应正确、规范使用其注册商标,才能保证商标在法律上受到应有的保护,在市场上发挥出应有的价值。

随着企业的发展壮大,它的价值也跟着水涨船高,成为一个企业强大的无形资产,甚至变成天价商标。当然也不用对商标盲目估价,天价商标买卖也不是任何商标都可以的,最好跟进根据公司的发展等各个方面对商标进行解读分析再进行商标的定价。