8月27日晚间,大智慧(601519.SH)公布了2019年上半年的业绩。公告显示,该公司报告期内的营收同比增长了4.49%,归母净利润却同比下降了173.63%。
值得一提的是,该公司曾与东方财富(300059.SZ)、同花顺(300033.SZ)被称为炒股软件“三剑客”。然而,其他两家上市公司如今的业绩早已远远甩开了大智慧。
诉讼增加致中期净利下滑
资料显示,大智慧上市于2011年1月,其主要业务聚焦在证券信息服务平台、大数据及数据工程服务和境外业务三大板块。
截至2019年7月4日,该公司的控股股东、实际控制人是张长虹,持股比例为35.46%。
(图片来源:Wind)
具体来看此次的半年报,大智慧期内实现营业收入2.9亿元,同比增长4.49%;同期归属于上市公司股东的净利润亏损7798.94万元,同比下降173.63%;扣非净利润为307.94万元,同比下降14.11%。
公告显示,归母净利润同比大幅下降主要是因为本报告期内诉讼数量增加,预计负债估计金额上升。
该公司在半年报中称,公司根据相关涉诉事项的判断结果确认应赔偿金额9455.87万元(其中已支付赔偿金额合计9051.32万元),对尚在审理中的剩余诉讼计提预计负债金额合计为2.56亿元。虽现诉讼时效已届满,但该公司预计本报告批准报出日后仍会有新增诉讼,后续新增诉讼案无法合理估计和可靠计量,公司无法预计后续新增诉讼事项对本期利润或期后利润的影响。
(图片来源:Wind)
大肆并购转型却被超越
实际上,上市以来,大智慧的业绩便不算好,净利润出现亏损更是司空见惯的事情。
数据显示,该公司的营业收入在2016年达到了巅峰11.31亿元后持续处于下滑状态,到2018年仅为5.94亿元。
与此同时,大智慧的归母净利润在2015年至2016年期间分别亏损4.46亿元、17.6亿元。此后两年虽然有所好转,却在今年上半年再度陷入亏损。
另外,该公司的扣非净利润从2012年算起至2018年连续7年为负。

(图片来源:Wind)
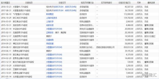
事实上,大智慧本身的业务还是很有前途的,公司只要深耕主业或许完全不需要转型。但实际上,该公司在上市后却通过大肆并购探索了很多方向,却没有取得什么效果。
例如,该公司在2014年2月先以1.44亿元的对价收购了从事贵金属交易及电子商务的无锡君泰贵金属合约交易中心有限公司60%股权。此后又在2014年12月、2015年2月准备以1.45亿元、2.03亿元的价格出售给黄顺宁、正晖资本。
除了君泰贵金属外,2013年5月14日至2014年3月19日期间,大智慧还陆续收购了主营软件系统服务的北京慧远保银,从事贵金属经营的民泰贵金属,主营互联网彩票销售的*彩大**网,主营贵金属交易及进出口的狮王黄金等多家公司的股权。

(图片来源:Wind)
结果大智慧的大肆并购,扩张过于激进不仅未能改善公司的业绩,反而导致了业绩的进一步下滑。此后的几年时间里,大智慧也陆续出售了上述收购的资产。
值得注意的是,在大智慧转型不顺的时候,同花顺、东方财富两家公司的营收在2015年一举超越了曾经的“大哥”。
数据显示,2011年上市之初,大智慧的营业收入为5.71亿元,同期的同花顺和东方财富的营收分别为2.15亿元和2.8亿元,前者的营收分别是后两者的2.66倍和2.04倍。
此后几年间,大智慧在营收方面牢牢地压制住了同花顺和东方财富这两家同类型的上市公司。
2015年4月,大智慧因公司信息披露涉嫌违反证券法律规定被证监会立案调查,收购湘财证券的计划以失败告终,并陆续陷入一系列诉讼风波。
而在同一时期,东方财富成功收购*藏西**同信证券有限公司后,成功转型为一家互联网金融公司,成为国内首屈一指的互联网券商;专注互联网金融服务主业的同花顺也取得了不错的业绩。
这一年,大智慧的营收为6.5亿元,同期同花顺、东方财富的营收则分别为14.42亿元、29.26亿元,后两者的营收分别是前者的2.22倍、4.5倍。
仅从营收数据上来说,同花顺、东方财富正式在2015年完成了对大智慧的超越。
此外,从最新的净利润表现来看,大智慧在今年上半年亏损了7798.94万元,而同花顺、东方财富同期的净利润为2.65亿元、8.71亿元。可以说,三者已经拉开了不小的差距。
而从大智慧上市以来前复权的股价表现来看,该公司整体下跌了21.13%,而同花顺同期的涨幅达到了2064.87%,东方财富同期的涨幅为1219.82%。
从目前的情况来看,大智慧这么多年的转型探索很难说是成功的,该公司如今的营收、净利润等各项指标也与同花顺、东方财富相去甚远。