突如其来的河南水灾和台风「烟花」,都让我们感受到了在各种意料之外的自然灾害面前,生命是多么的渺小。
尽管如今基础通信设施不断完善,社交媒体所触达的人群越来越多,我们在危难时刻也能通过手机发出、接收甚至是直接跟进各类求救信息。但在一些连不上数据和网络服务的情况下,我们还是得靠紧急求助电话。
从小学开始,老师就用耳熟能详的儿歌教导我们,火警电话 119、报警电话 110 …… 而如今各大手机品牌系统中都内置了「紧急呼叫」的功能,方便我们在第一时间发出求救讯号。
在今天这篇文章中,我们就挑选了目前市面上较常见的手机系统,为大家总结它们的设置及使用方法——尽管文中介绍的功能我们希望你永远用不上,但我们还是建议你花几分钟时间了解、设置。有备也是无患的前提,说不定这些功能就能在某个时刻救你于危难之中。

iOS
在 3 年前的 iOS 11 系统中,「SOS 紧急联络」就已经被提高到系统设置的一级列表之下,和「面容 ID 与密码」位于同一层级。进入 SOS 紧急联络的设置界面之后,你会发现它并不像大多数系统功能一样提供打开或关闭的选项,页面上方则配有示意动画,引导你了解、使用这个功能。Apple 对这一功能的重视可见一斑。

工作逻辑
当我们通过「SOS 紧急联络」拨打求救电话时,iPhone 会瞬间跳转到紧急求助拨号界面,停用所有生物解锁方式并自动拨打本地急救号码。
需要注意的是,在国内我们需要选取对应的电话号码,例如警察 110、火警 119 或救护车 120,而在美国这种只有一个求救电话的地区则无需选择、直接拨通。
同时,如果我们在「SOS 紧急联络」中添加了紧急联系人的话,报警电话呼叫结束后,iPhone 还会用短信向他们发送当前的定位信息(可手动取消)。这一位置信息的共享并不是单次的,iPhone 会在进入 SOS 模式后的一段时间里,持续根据位置的变化,不断向紧急联系人更新(由于测试这一功能需要实际拨打报警电话之后才能实现,为了避免占用报警资源,因此暂未测试)。

进入 SOS 模式时,所有的手势操作都将被禁用,且无法截图,但你仍然可以呼出 Siri 来帮你处理一些事情。如果要退出 SOS 模式,点击下方的停止或取消即可。

设置及使用
在「SOS 紧急联络」的设置页面中,我们建议你按照以下的方式进行设定:
- 打开「使用侧边按钮呼叫」
- 打开「自动呼叫」
- 关闭「倒计时警示音」
打开「使用侧边按钮呼叫」之后,在 iPhone 8 或更新的机型上,我们不仅可以通过长按侧边按键和任意一个音量键进入 SOS 模式,还可以通过快速连按 5 次侧边按键开启;而「自动呼叫」功能则可以减去一次滑动的操作,在进入 SOS 模式 3 秒钟之后自动拨打电话(中国大陆等地区需要手动点击选择对应的号码)。
「倒计时警示音」我们认为还是要关闭的,不仅是因为打开的时候容易误操作社死,更重要的是,如果在某些特殊情况下我们希望静默报警的时候,这个「倒计时警示音」很可能就会给我们招来不可想象的危险。
需要注意的是,开启「自动呼叫」或「倒计时警示音」功能必须要插入 SIM 卡 。
最后,我们还强烈建议你设置紧急联系人,这样才能使用到上面所说的发动定位等功能。而创建紧急联系人也很简单,点击「在『健康』中设置紧急联系人」按钮,根据系统提示填写即可。

HarmonyOS / EMUI 11(可能也适用于荣耀)
在华为手机中,无论是 HarmonyOS 还是 EMUI 11,SOS 急救功能的设置页面被放在了「设置 - 安全」的页面中,与 iOS 类似的是,HarmonyOS / EMUI 11 也不提供打开或关闭这一功能选项,同时也有动画引导。

工作逻辑
HarmonyOS / EMUI 11 的 SOS 工作逻辑模式上与 iOS 大致相同:当 SOS 模式被激活时,手机会被立刻锁定并停用所有生物解锁方式和手势操作,且无法截图,接着在倒计时 3 秒后跳转到 SOS 紧急求助界面,直到退出。
而与 iOS 不同的是,HarmonyOS / EMUI 11 的逻辑是将报警电话和求助电话分开。进入 SOS 模式之后,默认会在紧急呼叫界面提供报警电话和紧急联系人的电话。我们可以只向紧急联系人寻求帮助,而不是亲自报警:可以手动拨打,也可以打开「自动拨打求助电话」选项 —— 手机则会自动按顺序依次拨打紧急联系人的联系电话,并自动*放播**系统已经预设好的求助录音,而不是与 iOS 一样拨打报警电话。
此外,如果打开自动发送求助信息,则会以短信的形式给紧急联系人发送定位信息,直到发送次数超过 30 次或退出 SOS 模式为止。
值得一提的是,HarmonyOS / EMUI 11 还有一个独家功能 —— 畅连视频报警 。开启了畅连服务之后,这一功能便被激活,可以直接通过华为的畅连服务与接警中心视频通话,并将报警手机的实时位置信息直接加密上传至报警中心,以便警方准确地掌握现场情况,快速出警,大大提高了求助者的求救成功率和沟通效率。

设置及使用
在「设置 - 安全」下进入「SOS 紧急求助」功能的设置页面,添加紧急联系人后,我们建议你按照以下的方式进行设定:
- 打开「自动发送求助信息」;
- 打开「自动拨打求助电话」。
开启上面的功能后,在所有的 HarmonyOS / EMUI 11 机型上连续按 5 次电源键,手机会在伴随震动的 3 秒倒计时立即进入 SOS 模式,不会发出任何提示音。设备处于 SOS 模式时,屏幕上会显示报警电话和设定好的紧急联系人电话。在依次联系完紧急联系人后,手机会停留在 SOS 模式的界面,可以继续手动拨打报警电话。

由于涉及隐私,HarmonyOS / EMUI 11 禁止在一些界面进行截图
若要退出 SOS 模式,点击下方的「×」按钮即可。
MIUI
MIUI 12.5 中的 SOS 紧急求助功能,我认为体验的维度上是比 iOS 和 HarmonyOS / EMUI 11 高一个层次的。在 MIUI 12.5 中,SOS 紧急求助的功能被放在了「设置 - 密码与安全」的页面下,可以手动打开或关闭。

工作逻辑
在设置前,手机会提示我们必须至少设置一位紧急联系人。当手机进入 SOS 模式后,手机会立刻向已添加的紧急联系人发送包含求助者实时位置(每 60 秒采集一次地理位置)链接的短信,打开后就可以看到求助者的位置。
当求助者位置发生移动时,手机还将记录求助者的运动轨迹显示在链接的地图中。紧急联系人打开上面发送的链接,还可看到求助人手机当前的电量和信号强度。

随后,如果打开了「自动拨打求助电话功能」,小米会和华为一样,依次拨打紧急联系人的联系电话并自动*放播**系统求助录音。如果开启了「发送最近通话记录」,MIUI 还将会以短信形式发送本机最近一小时的通话记录给已添加的紧急联系人。
与其他手机不同的是,MIUI 进入 SOS 模式后,手机各项功能依然可以正常使用。因此基于以上功能,MIUI 在使用 SOS 模式时必须要插入 SIM 卡且打开网络和定位才能使用(发送求助短信除外),否则会提示求助使用失败。

设置及使用
在「设置 - 密码与安全」下进入「SOS 紧急求助」功能的设置页面,打开「启用 SOS 紧急求助功能」的总开关,添加紧急联系人后,我们建议你按照以下的方式进行设定:
- 打开「自动拨打求助电话」
- 打开「发送通话记录」

开启上面的功能后,在所有的 MIUI 12 机型上连续按 5 次电源键,即可进入 SOS 模式,手机会在伴随震动的 3 秒倒计时后,立即进入 SOS 模式,不会发出任何提示音。开启后,上述提到的功能将全部在手机后台静默运行,不会发出任何提示音。
若要退出,则需要在状态栏或通知中心点击 SOS 模式图标,根据提示操作才会退出紧急求助模式。

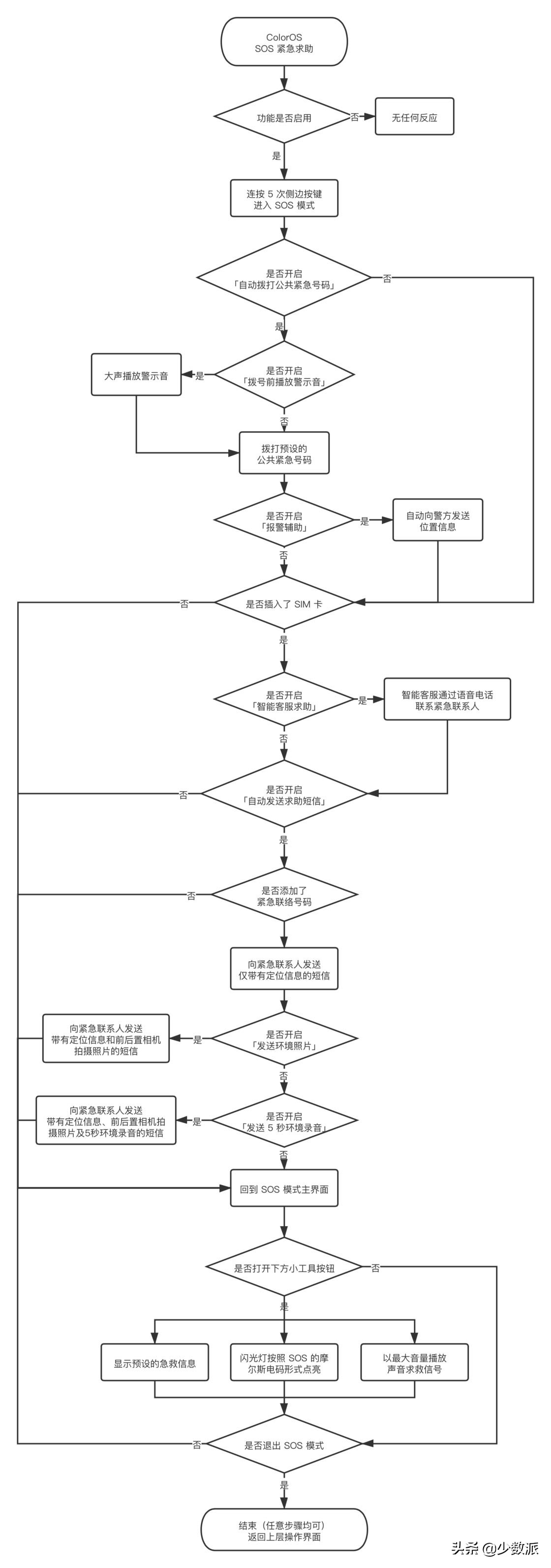
ColorOS
ColorOS 11(由于 realme UI、ColorOS for OnePlus 几乎一致,因此全部归入到 ColorOS)中的 SOS 紧急求助功能,是我认为目前体验最佳、功能最丰富且考虑最为周全的。
在 ColorOS 11 中,SOS 紧急联络的功能被放在了「设置 - 安全」的页面下,可以手动打开或关闭;此外,ColorOS 11 的 SOS 紧急联络模式下,还提供了自然灾害预警和大使馆领事保护功能,能够实现地震预警,以及查询、拨打中国驻海外使领馆 24 小时全球热线。

工作逻辑
由于 ColorOS 11 中的 SOS 紧急联络功能丰富,这里只针对「紧急呼叫」功能进行详解。
ColorOS 11 的紧急呼叫功能,与 MIUI 12.5 的工作逻辑大致相同。连按 5 次电源键之后,如果没有开启「自动拨打公共紧急号码」,手机会立即进入 SOS 模式,没有任何倒计时和报警声。在 SOS 紧急联络界面中,手机会除了提供公共紧急号码、紧急联系人外,下方还提供了急救信息、闪光信号、蜂鸣呼救等求助工具。
若开启了「自动拨打公共紧急号码」,手机会要求提前选择好默认的公共报警电话。进入 SOS 模式时,同样会有伴随震动的 3 秒倒计时,接着便会自动拨打对应的公共报警电话,无需再经过任何点击。
同样,ColorOS 11 也提供了「自动发送求助短信」的功能,在呼叫结束后(公共报警电话或紧急联系人),无论是否已开启定位服务和移动数据,系统都将自动开启,将当前位置信息发送给紧急联系人。而且比 MIUI 更进一步的是,ColorOS 11 甚至还可以选择「发送环境照片」和「发送 5 秒环境录音」。如果在 1 分钟内移动距离超过 200 米,ColorOS 11 会重新向紧急联系人发送最新位置信息,直到选择关闭 SOS 模式为止。但要注意,以上功能依然需要插入 SIM 卡才能实现。
更贴心的是,ColorOS 11 还提供了「智能客服求助」和「报警辅助」功能。前者可以让我们在发起紧急呼叫时,让智能客服通过语音电话联系我们设定好的紧急联系人,这在我们昏迷或不方便语音的情况下,大大提高我们的获救几率;而后者则会在拨打公共紧急号码时,自动给警方发送位置信息。

当然,少不了的「急救信息」设定,ColorOS 11 自然不会漏掉。它会展示在紧急呼叫等页面,在紧急情况下为施救者的工作提供支持。

设置及使用
在「设置 - 安全 - 紧急呼叫」下进入功能的设置页面,打开「启用 SOS 紧急求助功能」的总开关,添加紧急联系人后,我们建议你按照以下的方式进行设定:
- 打开「自动拨打公共紧急号码」,并选择「报警求助电话 110」;
- 关闭「拨号前*放播**警示音」;
- 打开「自动发送求助短信」、「发送环境照片」和「发送 5 秒环境录音」;
- 打开「报警辅助」;
- 「智能客服求助」可根据实际情况自行选择开启或关闭。

开启上述功能后,在所有的 ColorOS 11 机型上连续按 5 次电源键,手机会在伴随震动的 3 秒倒计时后,立即进入 SOS 模式,不会发出任何提示音。接着,手机自动拨打 110 报警电话,通话结束后还将给紧急联系人自动发送求助短信、环境照片和 5 秒环境录音。同时,我们还可以根据自身的需求,在下方打开急救信息、闪光信号或蜂鸣呼救。
在 SOS 模式下,ColorOS 11 系统中所有的手势操作和硬件按钮都会被禁用。若要退出,能且只能点击左上角的「×」。
OriginOS
OriginOS 的 SOS 紧急求助功能位于「设置 - 安全与隐私」的页面下,可以手动打开或关闭。

工作逻辑
从界面上就不难看出,vivo 的 OriginOS 和 OPPO 的 ColorOS 几乎「师出同门」,因此二者的工作逻辑几乎一致,这里就不再进行赘述,只写出一些我们所发现的不同点:
- 在添加应急联系人页面下,有一个「应急呼叫 110」的选项。开启后,如果没有设置紧急联系人或紧急联系人无法接听,那么将自动拨打 110;
- 没有 ColorOS 11 中的「智能客服求助」;
- 进入 SOS 模式后,手机依然和 MIUI 一样,可以正常使用所有功能。

设置及使用
在「设置 - 安全与隐私」下进入功能的设置页面,打开「启用 SOS 紧急呼叫」的总开关,添加紧急联系人后,我们建议你按照以下的方式进行设定:
- 在「紧急联系人」页面下,打开「应急呼叫 110」
- 打开「自动拨打求助电话」
- 打开「自动发送求助短信」、「发送环境照片」和「发送 5 秒环境录音」
- 打开「报警辅助」

Flyme
Flyme 9 系统中的「SOS 紧急求助」与 iOS 系统一样,位于设置的一级列表之下,同时都没有关闭的选项,且页面上方也有动画引导你如何使用这个功能。不同的是,Flyme 的「SOS 紧急求助」在右上角添加了「说明」按钮,可以详细告诉你如何使用这一功能。
工作逻辑
当手机进入 SOS 模式后,如果开启了自动报警,手机会在伴随震动的 5 秒后自动拨打 110 公共报警电话,通话结束后才会进入 SOS 模式的界面。若没有开启自动报警,则会立即进入 SOS 模式界面。
如果此时你开启了「自动求助紧急联系人」,手机会在伴随震动 8 秒后,向已添加的紧急联系人拨打智能语音求助电话,同时发送带有定位的短信。此后每隔 5 分钟,手机都会通过短信,更新一次位置信息。
此外,Flyme 中还添加了一个直接接入公安系统的「报警辅助」功能。功能开启后,当我们拨打报警电话时,无论当前是否已启用定位服务,系统将自动获取用户当前定位,并向警方提供报警用户的当前位置信息,以便警方快速出警保障用户的安全。这一功能不仅仅只在 SOS 紧急求助状态下可用,在电话 app 中拨打报警电话报警也同样可用。但在使用前,你需要注意这项功能是否支持你所在的地区,可通过 这条链接 查询。
和其他系统一样,如果要开启自动求助和报警辅助功能,需要手机插入 SIM 卡。如果在未插入 SIM 卡状态使用 SOS 紧急求助,手机将只能拨打公共报警电话。但非常值得表扬的是,在所有的 SOS 紧急求助功能中,只有魅族明确写明了「智能语音电话不收取任何费用」。
不过 Flyme 9 在操作逻辑上,有一个令人比较难以捉摸的点:在进入了 SOS 模式后,虽然会停用生物识别解锁,但手势操作依然可用,若不小心退出了,则需要重新按 5 次电源按键再次返回。
如何设置及使用
在「SOS 紧急联络」的设置页面中,我们建议你添加好紧急联系人之后,按照以下的方式进行设定:
- 打开「自动报警」;
- 打开「自动求助紧急联系人」;
- 打开「报警辅助」。
开启上述功能后,在所有的 Flyme 9 机型上连续按 5 次电源键,即可进入 SOS 模式,并按照上部分所描述的内容进行紧急求助。若要退出,点击下方的红色关闭按钮即可。
OneUI
三星 OneUI 的「发送 SOS 信息」功能位于「设置 - 高级功能」的页面下,可以手动打开或关闭。工作逻辑与上文所描述的几大操作系统类似,这里亦不再展开赘述。
与其他系统不同的是, OneUI 的「发送 SOS 信息」支持自定义进入 SOS 模式时按下侧面按键的次数 。
后记
需要承认的是,在一开始写这个选题的时候,我并没有想过一个 SOS 紧急求助能够有这么多的贴心功能。在这一次的撰文过程,让我对说了这么多年的「科技以人为本」这个概念,有了更加深刻的认知。
尽管各家在做这个功能的时候,有着逻辑上的根本不同。例如 iPhone 作为全球性设备,侧重向当地的公共资源进行求助;而几大国产厂家则深耕本地化的 SOS 功能,甚至还借助人工或 AI 的外力,提高在危急情况下我们获救的几率。显然,从功能的使用体验性来说,国内厂商还是要比国际厂商做得更适用一些。
时至今日,河南地区的水灾依然没有结束,下一次的灾难也不知道会在什么时候到来。只希望在下一次灾难来临的时候,我们都能平安度过。