特斯拉进口model x多少钱 (特斯拉新款model x零首付)

随着越来越多的车企进军新能源汽车,现在很多人也是倾向于购买新能源汽车了。但是现在新能源汽车普遍存在的问题,除了续航问题外,其次就是新能源汽车不保值,没有多少人愿意购买二手新能源汽车的,因为新能源汽车最值钱的是电池,但是电池用久了,其续航能力就大大的下降了。所以,二手新能源汽车普遍便宜,可能新车开了三两年,半价买都没人要了。而燃油车的保值率比较高,有的燃油车即使开了超过10万公里,依然可以卖到好价钱,特别是那种高端燃油汽车。

而像特斯拉这种新能源汽车的领导者,其新能源汽车保值率依旧不高,这不,最近,一辆进口的特斯拉新能源汽车被拍卖,其起拍价就是超低,到底有多低,我们来看看。

这次被拍卖的汽车是进口的特斯拉Model X,特斯拉Model X属于中大型SUV新车指导价是87.99-103.99万,这次被拍卖的特斯拉Model X,目前停放在 眉山市,车属于2017款,首次登记时间为2019-1-10,也就是四年多时间,不过从图片来看,应该是已经好久没有开过了。目前 行驶里程约49962公里,也不算太高,车子看上去还是非常新的。不过这辆汽车属于刑事案件涉财产处置,车辆有多起交通违规还没有处理,主要是一些罚款。

特斯拉进口modelx二手车,特斯拉新款modelx凭什么卖一百万

特斯拉进口modelx二手车,特斯拉新款modelx凭什么卖一百万

特斯拉进口modelx二手车,特斯拉新款modelx凭什么卖一百万

这辆特斯拉Model X起拍价非常低,只有12.362万元,评估价也不高,只有17.76万元,才四年多车龄,评估价就不到原来新车加价的三分之一了,这贬值也太快了。

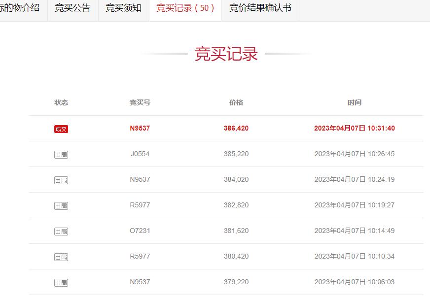
不知道是不是起拍价太低的原因,这辆特斯拉Model X拍卖,一共吸引了多达42人报名竞拍,同时还有25375人次围观。看来大家都想捡漏,确实,如果镇12万元买下这辆车,还是比买目前国产不少电动车值的,现在的电动车新车,车子不怎样都要十几二十万了。

虽然人多竞拍,但是整个竞拍过程,并没有出现太多次的加价,只进行了50次的加价就结束了拍卖,最终以38.642万元的价格成交。成交价比起拍价高出了26.28万元。看来评估公司给出的评估价,不代表实际上的价值。

特斯拉进口modelx二手车,特斯拉新款modelx凭什么卖一百万

特斯拉进口modelx二手车,特斯拉新款modelx凭什么卖一百万

而从成交价来看,成交价格还不到新车价格的一半,不知道大家觉得,这个成交价到底值不值呢?