终于回来了!苏打绿历经2年多商标大战去年十月夺回团名,2月18日,苏打绿aka鱼丁糸《池堂影夜》台北小巨蛋上正式官宣回归。
“全宇宙的朋友们大家好,我們是蘇打綠!”
即使面对再多艰难,他们也依然坚持向前。 恭喜苏打绿,他们终于拿回本就属于他们的东西。春日将近,希望接下来都是好消息,新专辑,演唱会全都搞起来!

谁的青春记忆里,还没有几首苏打绿的歌呢,《小情歌》《歌颂者》《我好想你》《当我们一起走过》《下雨的夜晚》《无与伦比的美丽》…
不少网友表示:
“苏打绿也好,鱼丁糸也罢,永远都是你们”、“鱼丁糸苏打绿都是他们,没有改名,鱼丁糸是他们的小号分身”、“仿佛青春又回来了,苏打绿加油鸭”等等。

曾风靡华语乐坛10余年
苏打绿是中国台湾地区知名乐团,2004年正式出道,在80、90后年轻群体中具有广泛号召力。自2006年到2015年间,出道10余年的苏打绿创作力不减,推出了许多极具传唱度的歌曲,风格清新温暖,特色显著,粉丝数量众多,几年间狂揽大奖无数。

苏打绿的不少歌曲相信大家耳熟能详。
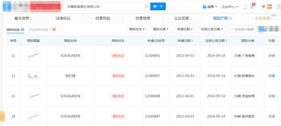
2018年,苏打绿和前经纪人林暐哲决裂。据悉2018年底,在律师的见证下,双方签署合约终止协议。而吴青峰却因唱了自己写的歌,在2019年被昔日恩师林暐哲以违反《著作权法》告上法庭。
系列纠纷导致“苏打绿”这个团名无法继续使用。2020年7月3日,苏打绿发布微博宣布乐团改名叫“魚丁糸”,魚丁糸作为苏打绿的分身正式官宣。
据了解,新团名是“苏打绿”的拆解,是从繁体蘇打綠中各取一部分组成:蘇的魚,打的丁,綠的糸。除此之外,团员也取了新的艺名:阿福改名可田,家凯改名豕豆,小威改名八女,阿龚改名金八,馨仪改名香我,青峰改名日出。
“苏打绿”团体更名“魚丁糸”并要求林暐哲将苏打绿的商标权归还相关纠纷一直持续。
双方商标官司纠缠已久
据了解,自决裂以来,吴青峰等人始终坚持状告林暐哲音乐社公司占有“苏打绿Sodagreen”注册商标,要求返还“苏打绿”商标。但经过2次法院审理,都判决吴青峰等人败诉,商标权仍归林暐哲。

2021年5月该官司二度开庭时,林暐哲曾控诉吴青峰“设局”陷害,吴青峰则坦言,2017年休团时,大家明面上都以“吴青峰要休假”为理由宣传,实际则为林暐哲逼迫。

面对二审仍然败诉的结局,吴青峰和团员们曾表示:“判决越偏颇,我们取回团名的信念就越坚定。商标法不能继续忽视艺人与创作者权益,我们将上诉到底,拿回我们的团名‘苏打绿’。”
谁也没有料到,距离才传出败诉的消息未过多久,本次商标争夺战以前经纪人林暐哲宣布放弃商标权迎来转机。
林暐哲表示:“我知道该做一个决定,放下过去,不管好的坏的都一样。所以决定放弃商标的所有权。并祝福这个名字有更好的未来。”
这场纠纷,终于宣告落幕。同年10月1日,据公告显示,“苏打绿”名字商标权自2022年10月1日起由苏打绿有限公司取得,期限为10年,6名成员确定取回本来的团名。
为什么要抓住“苏打绿”商标不放?
“苏打绿”作为一个商标,除了它的名气外,往往还有预估不了的价值所在!
1、商标是标志
一个企业或是团体的文化可以同商标表现出来,商标代表的形象会跟随着一辈子,加强商标的保护可以让企业的信誉和形象得到全面保护。
2、商标让企业能有效地运用社交媒体
当听众想听苏打绿歌曲的时候,肯定第一时间会搜索“苏打绿”这个名词。消费者有购买需求,并欲透过搜索引擎或社交平台进行查询时,毫无疑问的,商标/品牌将是首要印象。而较高的被搜索率不仅将对搜索引擎或社交平台的排名有所助益,更将增长品牌价值。
3、商标是有价的资产
每个著名品牌的确立,商标都同时成了一个升值的商品。当你的公司成为大公司的时候,你的商标同时也是升值的。苏打绿的成名让不少歌迷去“买单”。这是商标的预期价值。
来源:细软知识产权综合新浪微博、网易新闻、成都商报、封面新闻、政研室等