说到当下汽车圈、科技圈的“顶级流量IP”,“特斯拉”这个品牌可谓是当仁不让。尽管近两年由于各种新闻,导致这家企业一直处于舆论的风口浪尖,但不可否认,在中国这片巨大的市场,特斯拉依靠强大的技术能力与交付能力,已经吸引了大批量的拥趸,具有极高的知名度。
“特斯拉啤酒”“特斯拉苏打酒”……或许你脑海中已经将其和知名汽车品牌“特斯拉”联系在了一起,不过这两者真的毫无瓜葛。
蜜宝儿注意到,近日特斯拉(上海)有限公司(以下简称“特斯拉公司”)诉中饮食品有限公司(以下简称“中饮食品”)、广东中饮食品有限公司(以下简称“广东中饮”)、糖玖网络科技(上海)有限公司等侵害商标权纠纷,6月23日在上海知识产权法院开庭。
据此前披露的一份该案件民事裁定书显示,特斯拉公司认为广东中饮以及中饮食品在啤酒及苏打酒产品上使用标识“TESILA”构成商标侵权。中饮食品则认为,这是对注册商标的合法使用。
公司宝企业服务,赞3

(图片来源于网络)
事件起因
此次事件的起因还有追溯到三年前,最先注意到特斯拉苏打酒的,是一名上海特斯拉车主Jay。他在推特拥有1.8万粉丝,专门分享特斯拉在中国的新动向。
2019年9月15日,Jay发布了一张特斯拉苏打酒的户外广告图片,评论道“没想到特斯拉还卖酒!仅仅是在中国”。
这幅广告中,酒瓶上有一个突出的logo“T”,与特斯拉车标极为相似,中文是“特斯拉”,只是英文写的是“Tesla motors”。有人在评论区@马斯克,询问是否是官方行为。

(图片来源于网络)
市场一直等着特斯拉卖酒。2018年愚人节,马斯克曾在推特上发了一张自己醉倒在特斯拉Model 3汽车旁边的照片,身上盖了一张写着“破产”的纸板,配文是:“马斯克被发现醉倒在一堆 ‘Teslaquilla’(特斯拉龙舌兰) 酒瓶中,脸上的泪痕还隐约可见……”
“Teslaquilla”引发了公众对于特斯拉卖酒的遐想。2018年,特斯拉尝试在墨西哥注册“Teslaquilla”的商标,被墨西哥政府驳回,最终注册为“Tesla Tequila”
2020年11月5日,特斯拉龙舌兰正式上市,当天销售一空。在eBay上,连空瓶子都炒到了1000美元。后来,中国特斯拉官方网站专门上线了这款空酒瓶子,售价779元曾一度引发争议。
“碰瓷式”抢注商标
广东然自然公司名下大量商标都与知名品牌雷同,例如vivo、乳の良品、元気太郎、倍加健、叼嘴巴、汁兀、果矿力、益奶多等,至今已注册了434件商标。
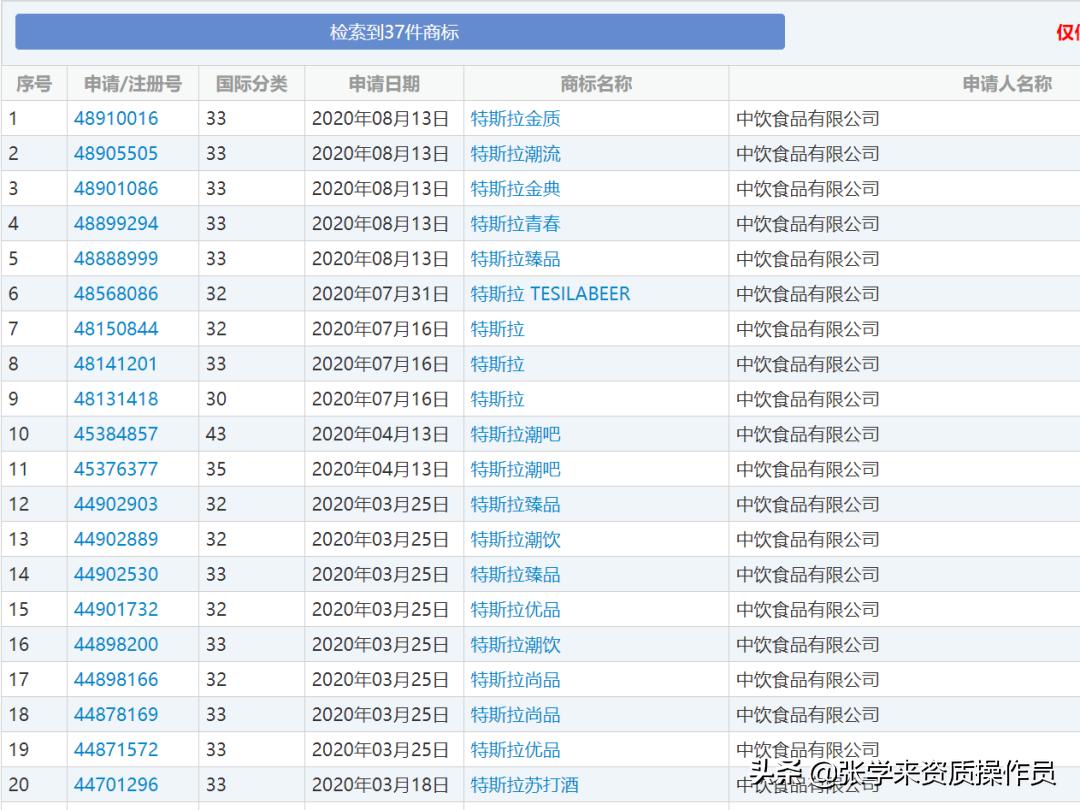
与广东然自然公司类似,中饮公司名下也申请了大量与知名商标雷同的商标,例如武小帅、奔得利、高卡士等。国家知识产权局下辖的商标网显示,中饮公司在一年半时间里申请了223件商标,与特斯拉相关的商标共有47个,例如特斯拉臻品、特斯拉青春、金特斯拉、钻石特斯拉、特丝拉等。
这位广东茂名卖化州橘红起家的小老板,实在想不明白特斯拉为什么会起诉他。“他们公司也不缺罚款的金额啊”。”
庄钧勇在2019年拿下了“特斯拉 Tesla motors”的商标,以此为名生产了两款酒,命名为“特斯拉苏打酒”“特斯拉啤酒”。
据工商登记信息显示,庄钧勇此前一直运营饮料品牌,分别有“能量牛”能量饮料和“地球壹号”苹果醋,“能量牛”的包装与红牛相似,“地球壹号”则与天地壹号类似。

(图片来源于网络)
抢注事件层出不穷
随着国内互联网的发展,热点事件、新闻事件但凡是上了热搜的有流量的都会被不法之人申请商标,之前蜜宝儿写过相关的文章,这里就不再重复了,我们罗列几个比较热门的及社会反响比较高的案例。
“退退退”梗全网爆火!退退退被抢注商标
近日,“退,退,退”被潮州市一食品公司申请注册为商标,国际分类为食品,商标流程状态为申请收文。
据悉,该梗源于一则吵架视频,视频中男子要求摆摊大妈让出占用的停车位,质疑对方没有营业执照,大妈一边用击剑的姿势向前迈步,一边大喊“退退退”。

(图片来源于网络)
三星堆火锅
四川广汉三星堆遗址最新考古成果引发世界瞩目,也招来了一群蹭热度的不速之客。多个与“三星堆”相关的商标被申请注册,让三星堆博物馆方十分头痛。
注册公司业务包含餐饮住宿、电子商务、电线电缆等等;注册品类涉及金属材料、运输工具、教育娱乐等等;“三星堆文明使者”“三星堆火锅”等申请名称更是无比荒唐……如此堂而皇之碰瓷,真能得逞吗?
“潘飘飞丝”花样碰瓷,1个商标侵权3家品牌
据中国商标网查询显示,隆琪儿公司共提交商标申请33条,其中“潘飘飞丝”是其于2018年2月份向商标局提交的商标申请,“潘飘飞丝”国际分类为第3类,申请号为29110323,目前该商标状态显示为“异议中”。此条商标更是“脚踏三条船”,同时搭上潘婷、飘柔、海飞丝三趟快车,不过与此同时,侵权的品牌也相应变多,三方若是追究起来,唯恐赔偿也得加码了。
类似的案件数不胜数,看下图↓↓↓

(图片来源于网络)
往期相关阅读:
刘畊宏跳毽子操火了后,侵权现象日趋严重,未获得周杰伦歌曲版权
“北大数学学神”韦东奕,竞被抢注商标……盘点名人被抢注商标的那点事儿
你以为《梦华录》只是一部三个女人的创业剧?那你就大错特错了!
“特斯拉”案件分析
2019年5月17日,庄钧勇注册了中饮公司。此前,庄钧勇已经注册了两家公司,分别是广东然自然食品饮料有限责任公司和广东中饮食品有限责任公司
蹊跷的是,成立仅四个月后,中饮公司就变更了工商登记,庄钧勇不再担任公司法定代表人,广东然自然公司也不再是中饮公司的股东。
从工商登记来看,庄钧勇与中饮公司似乎不再有法律关系。可南方周末记者在多个特斯拉苏打酒的招商广告中看到,招商公司则是庄钧勇的另一家公司——广东中饮食品有限责任公司。庄钧勇的微信昵称也是“特斯拉苏打酒”。
广东三环汇华律师事务所律师曾贇对南方周末记者分析, “如果涉及恶意注册的话,可以追究法定代表人的个人责任。如果法定代表人有多次恶意抢注记录,甚至商标侵权的记录,那将会进入商标局的黑名单,影响他运营新的品牌。可是在没有实缴资本的情况下,即便商标认定侵权,原告也很难获得赔偿 ”。
尽管中饮公司的特斯拉苏打酒早在2019年10月已经参加了天津秋季糖酒会,但直到2020年3月18日,“特斯拉苏打酒”的商标才注册成功。
此前,中饮公司对外招商一直使用的是“特斯拉Tesla motors”和“TESLA”。按照庄钧勇的说法,这两个商标都是从别的公司转让来的,“成本不低”。
“特斯拉Tesla motors”最早是在2013年,由福建一家公司申请注册。2019年11月8日,这个商标转让给一个叫做陈娟的人。2020年3月25日,陈娟又把商标转让给中饮食品有限公司。
陈娟的身份是广东陈老橘健康产业有限公司粤西总部总经理。她向南方周末记者表示,不清楚特斯拉和庄钧勇之间的商标纠纷。
广东陈老橘健康产业有限公司的法定代表人名叫陈汉林,这家公司工商登记中的联系电话名下有8家公司,其中4家公司的法定代表人是陈汉林,还有2家公司的法定代表人是庄钧勇,其中就包括广东中饮公司。
本案中的另一个涉案商标“TESLA”也与陈汉林有关。这个商标是由法国巴黎水有限公司在2019年7月3日申请注册,于2021年6月6日转让给中饮食品有限公司。
巧合的是,法国巴黎水公司是一家香港公司,成立于2016年5月,公司董事也叫陈汉林。这家公司与广东然自然公司、中饮公司极为相似的是,名下也申请了大量与大牌雷同的商标,例如海王星辰、燕之窝、椰卡士等。
截至目前,法国巴黎水公司名下共有106件商标,包括 tsla liqueur、tsla两个与特斯拉相关的商标。
2020年,中饮公司给特斯拉苏打酒申请了一项外观专利,这项专利的发明人也叫陈汉林。广东然自然公司名下也有7个外观专利,均是饮料瓶。凭借着这些专利,广东然自然公司2020年一度被认定为中小科技企业,可以享受研发费用税前加计扣除的优惠政策。巧合的是,这7个外观专利的发明人均是陈汉林。
中饮公司与法国巴黎水公司“心有灵犀”,还同时申请了大量涉疫商标。2020年2月,中饮申请了包括新冠、新冠清、抗新冠、防新冠、新冠良茶在内的33个涉疫商标。几乎同时,法国巴黎水也申请了包括“冠必清”“冠灭”在内的五个商标,这些商标最终均因为涉嫌恶意抢注被国家知识产权局商标局判定无效。
同样是做化州橘红起家的陈汉林,此前已经有商标侵权的记录。裁决书显示,正参公司曾使用“大参林”商标卖饮料,遭到大参林医药集团股份有限公司异议,“大参林”是广东最知名的连锁药店之一。
特斯拉的两个涉案商标,都是通过陈娟以及法国巴黎水有限公司转手后再使用。在曾贇律师看来,表面看, 商标多转手一次,拖延了时间,增加了费用,得不偿失,但可能起到洗白的效果,“让后面使用的公司看起来是善意的,而不是恶意抢注 ”。
特斯拉方面向南方周末记者表示,该案正在司法程序中,不便出面回应,而庄钧勇则表示结果不理想,就会上诉。
对于该案的判决结果,曾贇律师认为,“ 它名下注册大量与知名品牌类似的商标,已经远远超过了一家公司的合理需求范围,特别是针对特斯拉这种全球驰名商标,申请了47个相关的商标 ”。特斯拉公司若以侵权驰名商标为由申请这类商标无效,存在成功的可能。

对于中饮公司的异常注册行为,国家知识产权局商标局已经有所注意。在中饮食品公司最近的两份商标驳回复审决定书中,驳回理由是:“申请人注册了大量特斯拉及涉疫商标,其申请注册商标的行为明显具有不以使用为目的的恶意,违反了《商标法》第四条的规定”。
“特斯拉”维权之路还很长
早在2013年8月份的时候,特斯拉就被曝出商标被中国商人占宝生抢注了,特斯拉曾专程派团队来中国进行协商调解,出价200万元人民币购买Tesla商标,但商标持有者占宝生却狮子大开口,要价3000多万美元高出特斯拉的心理价位100倍,接近2亿人民币,最后双方因为价格问题不能妥协,所以首次谈判不欢而散。
中国商标网信息还显示,特斯拉(上海)汽车有限公司目前共申请了18个商标,包含“特斯拉超级充电”“特斯拉超充”“TESLA SUPERCHARGE”等,商标分类均为科学仪器类,商标状态均为“等待资质审查”。而大众熟悉的特斯拉汽车上的T形商标、“TESLA”字母商标、“特斯拉”汉字商标等,持有人均为特斯拉有限公司。天眼查显示,特斯拉有限公司注册地为中国台湾,目前暂未发现该公司与特斯拉(上海)有限公司有何关系。
其实特斯拉在国内的商标布局开始得并不算晚,从2008年第一批量产车交付,2009年特斯拉就在中国着手布局电动车辆、高性能运动型汽车、汽车等类别上的“TESLA”商标。
但在中国,比起英文商标,人们对“特斯拉”三个字更为熟悉。通过查询特斯拉公司的商标布局情况,发现其重点对“TESLA”英文及图形商标进行了布局,涉及类别广泛,而对“特斯拉”三个字的布局较少,这就给其他主体以可乘之机,纷纷抢注“特斯拉”相关商标。
一次次的商标纠纷,不仅没有让特斯拉这家企业提高警惕,反而吸引了更多投机者对这只“肥羊”进行掠夺。
在这次酒类商标纠纷前,特斯拉其实也曾推出过酒类产品。早在2020年,特斯拉就推出一款闪电形状酒瓶的龙舌兰酒,售价250美元,约合人民币1658元,发售当日,就被抢购一空。

(图片来源于网络)
此外,2021年10月,马斯克透露,特斯拉柏林超级工厂将生产一款名为“GigaBier”的专属啤酒。而2014年,被人在酒类商品上抢注“TESLA”商标后,依旧没有唤起特斯拉公司的警觉!
我们常说“产品未动,商标先行”,特斯拉一次次和布局商标的时机擦肩而过,还让一部分人看到了“商机”,为企业长期发展和品牌塑造埋下诸多隐患,最终不得不诉诸法律进行维权。
特斯拉这回连告三个公司,可见他们对商标的重视和保护程度。虽说特斯拉是一个人名,但是在中国消费者心目中,还是这个电动车品牌更深入人心,在中国市场耕耘了那么久,要是被一个莫名其妙出现的啤酒产品混淆了消费者的选择,那么对特斯拉的影响还是比较大的。
商标作为企业的无形资产,不管是您的企业是大还是小,蜜宝儿的建议都是:一定要重视自己产品的商标。