【壹】引发本轮武汉疫情

网传的武汉培训会合照
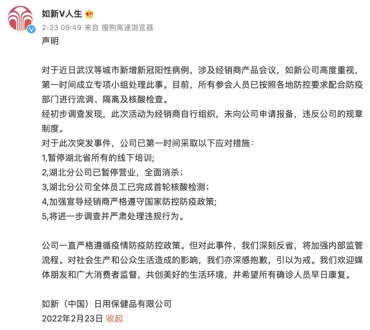
虎年农历春节 刚刚结束的,2月19日-20日这三天,在武汉市武藏区凯莱熙酒店和江岸区华清园小区内进行了如新的产品的培训会,正当舆论把如新推上了风口浪尖之际,2月23日,如新(中国)日用保健品有限公司{以下简称“如新公司”或“如新(中国)”}通过官方微博(@如新V人生)发布声明称(如下图):此次活动为经销商自行组织,未向公司申请报备,违反公司的规章制度。而如新公司口中的“经销商”,组织本次培训的经销商法定代表人顾某称:“其实不是那种正规的培训,周五他们(在小区里)做了一个准备会,准备会就是看看怎么能分享得更好,比如说分享梦想,分享卓越团队文化,分享一些产品知识。”

如新公司官方声明
【贰】“高手”如新
如新(中国)日用保健品有限公司,是1993年3月28日成立的,注册资本3007万(美元),但根据其宣传,是2003年正式进入中国大陆市场。但老李可以肯定的是,早于2003年,其实如新公司已经在我国开展业务,因为那时候20出头的老李,一位好友代理如新公司的产品,拿老李作为对象展示如新的产品功能,并向老李介绍如新公司的分润规则。

“红星资本局”发布的关于如新公司提成制度的课件
为什么老李用“高手”去评价如新公司?(先上评价,后文会仔细分析)
- 以结果为导向,割了国人29年的韭菜,仍然屹立不倒,可见其经营模式、律师团队和风控部门是顶级的。
- 直销:当时哪有什么互联网经济,全球化妆品巨头都是以疯狂开铺、电视广告的方式来抢占市场,如新公司采用的是“类传销”(直销)的模式,零广告投入来抢占余下市场份额。
- *脑洗**、拉人头:如新公司的产品销售,主要是通过经销商拉人头的人海战术完成的。
- 经销商充当“背锅侠”:也正是由于其经销商策略,经销商一直存在夸大宣传的行为,每次出了“事”,如新公司便拿“经销商违规宣传”来挡了,因此如新中国29年毫发无伤。
- 榨取剩余价值:也正是因为其“人海战术”,所有参与销售的“人头”都不是如新公司的员工,只是经销商的员工,而经销商拉头人根本不是以聘用的合法形式进行,而是利用“成*学功**”,组织“家人们”进行一次又一次的分享会,让大家相信做如新就是创业,做如新就能迅速致富。
【叁】详解如新如何收取“智商税”
智商税(1)经销商承担全部风险
- 经营费用风险:经销商一切开展经营的费用(不限于办公场地租赁、员工薪水等一切经营所产生的开支)。
- 法律责任风险:夸大宣传是直销行业的“通病”,如新公司的官方店里面,对产品的介绍少之又少,在某宝上,如新也没有官方店,都是经销商开的店铺,而经销商的某宝店铺在产品宣传上也是合规的,那么经销商到底通过什么方式去夸大宣传?A.像本次武汉培训会的,以成*学功**为管理模式的,线下培训会。B.新媒体平台。而表面上看都是经销商的责任,其实这正是如新公司放任造成的。在商业社会里面,大部分的上规模的品牌和企业,都存在经销商模式,就比如奔驰汽车,我们广州的经销商就有龙星行、中升等;比如劳力士,大家熟知的香港富豪刘銮雄就是香港区经销商;再比如运动品牌阿迪达斯,经销商就有滔博、盛世等。问题来了,为什么那些品牌我们没见过像直销行业这么大比例、这么多人数的夸大宣传?也很少出现夸大宣传?答案是:管理和监督。1993年中国还是实缴注册资本的年代,那时候3000个w的美金可以用“巨头”来形容了,这样的巨头如果真的要监管代理商行为,难吗?我相信懂管理的朋友都会说:太容易了!那为什么一直存在夸大宣传呢?您品,您细品。
智商税(2)夸大宣传 :老李以下就截取了一个涉嫌夸大宣传其“TR90”产品的公众号内容供大家参考:

某公众号截屏
夸大宣传疑点一(上图):肌肉转化为热量???人体的热量是从外部摄入的,肌肉是不会转化为热量的!

夸大宣传疑点二(下图):直达基因层面?/不反弹?不复胖?

某公众号截屏
还能通过吃你家产品影响基因呢?不反弹,不复胖?有点常识的人都能分辨出来吧?人长“胖”的原因,就是热量差,只要今天摄入的热量高于输出的热量(消耗的),今天马上就长胖,只是一天的热量差很小,肉眼是看不出来的。
夸大宣传一点三(下图):调控肌肉比例?减脂不减肌?

某公众号截屏
当人体当日存在热量差,肌肉和脂肪就会同时分解为人体所需消耗的能量,所以,减脂的话,肌肉和脂肪是必定同时减的!草民老李作为多年的健身爱好者(想看图的请扣1),以自己的身体作为直接试验对象,对这些最基础的入门知识还是懂的。
看下面这截屏内容,搭配如新的TR90产品,原来还需要一系列的附加条件。老李可以告诉大家,如果普通人坚持做到以下条件,即使不吃他们家的产品,也可以瘦下来!多少而已!不行的话来找我,老李我负责!

某公众号内容
如新让代理商的夸大宣传内容满天飞,出事了就完美甩锅,这一套组合拳下来,代理商和消费者都同时交了智商税。
智商税(3)“类传销”的直销模式,压榨剩余劳动力

某百科上的关于如新公司的描述
某百科既然把“涉及传销”的描述加入了词条,且《人民日报》加以揭露,就足以证明如新公司设计的销售模式,与传销模式非常相似,但作为“高手”,如新公司已经有一套成熟模式。

关于“传销罪”的词条
传销罪认定的其中一个标准是:“组织内部参与传销活动人员在30人以上且层级在三级以上的”,如新公司设计的游戏规则,就是把发展壮大起来的拉人头超过3级的分枝团队,以经销商(企业)的形式存在。这样一来,符合经销商拉人头时所说“创业”的目的,让大家都奔着创业去为如新做分销,做宣传,没底薪,没社保。如新公司只有在产品成功售出的时候,才从利润里面把提成抽出来,这就是典型的“空手套白狼”。但是怎样才能让民众甘愿“创业”呢?回到本文之处,看看那场“家人们”的“分享会”,到这,大家懂了吧?靠的是成*学功**管理模式的“*脑洗**”。
智商税(4)整个“如新(中国)”仅拥有3个专利
在企查查上查询如新(中国)日用保健品有限公司的知识产权,其中显示专利及国际专利数为0,在此我为如新公司找了个理由:作为一家"智商税巨头",堂堂母公司没有专利是正常的!

如新公司企业信息
我们进一步看到如新(中国)在国内有三家全资子公司,上图

如新(中国)全资子公司
其中“广东星创日用品保健有限公司”与“上海如新创星日用保健品有限公司”都是0专利。

广东星创日用品保健有限公司

上海如新创星日用保健品有限公司
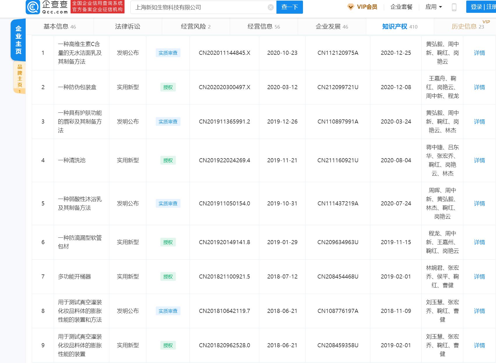
而如新(中国)的三家子公司里,只有“上海新如生物科技有限公司”拥有专利。

上海新如生物科技有限公司

上海新如生物科技有限公司专利
从上图看出,“上海新如生物科技有限公司”只有序号1、3、5属于护肤品专利,其余都是外包装专利,还有什么“开桶器”,也就是说,整个如新(中国),就只有三款产品有专利,更看出来,整个如新(中国),拥有的国际专利为0!而!且!拥有化妆品专利,不代表这东西能对皮肤和身体有好处!
2022年2月26日,如新集团公布财报,公司2021年全年营收26.96亿美元,归于五公司利润为1.47亿美元,销售毛利率为74.95%,销售净利润率为5.46% ,大家交了多少智商税,自己琢磨。
【肆】以科学的眼光看事物,不要再交智商税

网络搜索截屏
其实,我们生活中不止一个“如新”在收大家的智商税,而是千千万万个“如新”,在我们对新事物产生消费前,最好做好充分的调研,如果嫌麻烦,那老李在此教大家一个最简单的辨别方法:“空穴来风,事必有因。”现在网络如此发达,随便上网搜搜,只要很多人都吐糟、投诉,那多数跑不掉是有问题的,何况本次主角“如新”,连人民日报都发声,那就是司马昭之心- 路人皆知!
老李之后会另起文章,深入揭露现今阶段大多收智商税的公司,是怎么利用“成*学功**”一步一步给“家人们”*脑洗**,以达到蒙骗大众钱财的目的。大家阅读后,就可以避坑,保护自己的利益。想听的话,关注我,我是老李,用您听得懂的话说事儿。