
老赖还在蹭热度
撰文 / 星 晚
编辑 / 文 婕
近段时间,ChatGPT技术堪称红到发紫,不少企业都计划对其进行深度研究并应用至相关服务中。
奢侈品电商平台寺库也是其中一员,2月6日,寺库宣布将探索将AIGC和ChatGPT技术应用于奢侈品相关业务。当天,寺库每股股价上涨124.4%,至3.77美元收盘,这是近三年时间以来,寺库的最高股价。
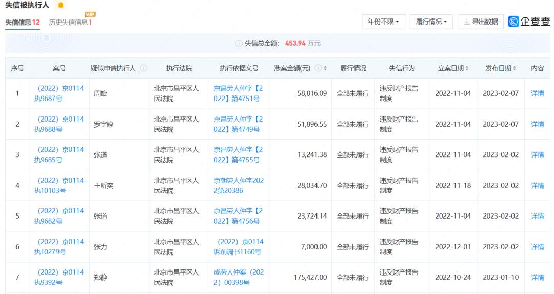
但就在不久前,北京寺库商贸有限公司因违反财产报告制度,被北京市昌平市人民法院列为失信被执行人。不过,寺库在此之前曾多次因有履行能力而拒不履行生效法律文书确定义务,被列为失信被执行人。
在多个平台上,消费者投诉寺库不发货、不退款的情况也屡见不鲜。蹭上ChatGPT之后的短暂热度,恐怕也难救寺库。
寺库还活着,但消费者以为它“死了”
“寺库还在运营吗?”看到寺库股票大涨消息的安茹,脑海里第一时间蹦出了这样的想法。
去年11月底,安茹被寺库“扣下”超过五个月的款项才终于退回,这其中艰辛也只有安茹才知道。2022年初,安茹开始筹备自己的婚礼,由于疫情原因,原本打算通过去香港或澳门购买婚戒的想法被暂时搁置,大金额的商品找代购又不放心,于是安茹把目光投向了奢侈品电商平台。
本以为寺库是专业平台,所以安茹很快就下单了尚美巴黎“约瑟芬”系列的一款售价52000元的钻戒。在官网上这款戒指售价为69600元,将近两万元的差价,让安茹心动了。
当时界面显示这款戒指需要预售1-2周,于是在付款后,安茹就开始耐心等待,但令她没想到的是,这场等待其实远远不止1、2周。眼看着时间一天天过去,订单却丝毫没有发货的迹象,安茹决心申请退款,直接到实体店购买。
“从来没经历过这么难的退款流程,虽然每次客服都说给我登记了,会在近期安排打款,但事实就是一直没有动静,怎么催都没用。”百般无奈之下,安茹从8月开始四处投诉,从北京12345寺库专班、昌平区市场监督管理局寺库专班到北京市长热线,安茹一一投诉了个遍。
终于在10月底,安茹收到寺库工作人员的回复,“先退还五分之一货款,剩余货款在两周内退还。”11月,安茹总算是拿回了全部货款,尽管过程曲折,但她仍然算走运,还有更多的人至今仍然陷在与寺库的斗智斗勇中。
锌刻度在小红书上搜索发现,输入寺库词条后,几乎都是消费者吐槽寺库不发货、不退款的笔记。还有不少消费者在维权成功后整理出了一套“保姆级教程”以便其他人解决问题,更甚者直接附上了自己的起诉状,从格式到内容均可直接参考。

寺库在多个平台都有数条投诉
另外在黑猫投诉上,与寺库相关的投诉有20374条,绝大多数都是与平台不发货、不退款的行为有关。从处理结果来看,尽管寺库方回复了98%以上的投诉,但真正解决问题的却很少,因此消费者满意度仅有2颗星。
“去年4月在寺库上下单的普拉达女包,因为长时间没有发货,所以申请了退款,客服回复说系统正在升级中,需要3-7个工作日审核,但事实是退款审核流程超过了6个月。再后来,客服将订单改为取消订单状态,说已通过审核,但仍然未退款。”该消费者在今年1月仍然没能拿回被寺库扣留的货款。
由于寺库专营奢侈品类商品,因此价格偏高,消费者从一开始能够选择该平台就代表着足够的信任。但后续不发货、不退款的情况发生后,信任感的粉碎加上高昂的商品金额,就会使得消费者对寺库产生加倍的反感。
“中国奢侈品电商第一股”早已习惯当老赖?
寺库成为“老赖”,早已不是一天两天的事了。
锌刻度从企查查上发现,北京寺库商贸有限公司和上海寺库电子商务有限公司都被列为“失信被执行人”和“被执行人”。其中,北京寺库商贸有限公司的行政处罚有11条,包括“宣传非特殊用途化妆品具备特殊用途化妆品功效”“虚假宣传”“不正当价格行为”等。
上海寺库电子商务有限公司涉及的司法案件有139起,案由多数为买卖合同纠纷,也就是与前文所提及的消费者追款事件有关。

北京寺库商贸有限公司多次被列为失信被执行人
就在这样信任崩盘的情况之下,寺库在最近却蹭上了ChatGPT的热度,宣布将对AIGC和ChatGPT技术进行深度研究和拓展,并且将应用至相关服务中。消息一出,寺库当日股价上涨124.4%,至3.77美元收盘,这是寺库自2020年3月以来出现的最高股价。
寺库方表示,引入ChatGPT技术可以实现类似于真人的互动对话,进一步丰富奢侈品相关文字视频内容、产品卖点描述等内容的相关度,寺库认为智能内容生成的应用将引发数字内容领域的一场革命,成为奢侈品电商的内容生产基础设施。
但寺库或许没有想明白,眼下的困局似乎并不在此,从一步步决策的失误到面对消费者的失信,寺库已经越来越没有站稳脚跟的能力了。2022年12月30日,寺库发布了2022年上半年的财报。财报显示,2022年上半年,寺库GMV为33亿元,同比下滑34.4%;订单数为88万单,同比下滑38.9%;活跃用户数为40.9万,同比下滑28.1%;2022年上半年净亏损为8.17亿元,2021年同期亏损为3980万元。
曾经风头无两的“中国奢侈品电商第一股”,如今也只剩下一则虚名。除了一年到头偶尔出现的负面新闻之外,寺库已经很难带给消费者新的形象了。
有媒体曾前往寺库的背景总部大楼,寺库虽仍有员工在正常办公,但总会有一波接一波的供应商前来讨要欠款,还有消费者上门要求退款。在这样“摆烂”的状态下,引入ChatGPT技术,可以是锦上添花,但很难是雪中送炭,想要逃离经营危机的泥潭,还要从根本上找原因。
ChatGPT也救不了寺库与用户间崩塌的信任感
寺库也曾经辉煌过,2016年,寺库的GMV在亚洲在线奢侈品一体化产品和服务市场排名第一。在在线纯奢侈品电商平台中,寺库在中国和亚洲的份额分别为25.3%和15.4%。
与此同时,2016年中国电商市场交易规模超过10万亿元,列世界第一,消费金额也远高于其他任何国家,中国奢侈品电商市场呈现出巨大的爆发潜力。2017年赴美上市后,寺库的股价超过13美元/股,但截至发稿,寺库的股价仅为3.65美元/股,此前甚至走到了退市边缘。
纵观国内的奢侈品电商市场,假货滥行、货源鱼龙混杂等情况屡见不鲜,寺库也曾遭到不少消费者的质疑,其平台的鉴定功能并不完善,出现过将假货鉴定成真、正品鉴定为假的情况。如此一来,消费者更是难以信任平台上的商品真伪,而寺库定位的奢侈品单价不低,在没有足够高的可信度的情况下,很难留住消费者。
随后几年,国外奢侈品牌也意识到了中国奢侈品电商市场的潜力,因此接连在头部综合电商平台成立官方旗舰店,也开设了其他平台的小程序,甚至与部分明星合作试水直播模式。对于消费者来说,官方渠道显然是更有优势的。

海外奢侈品电商平台“发发奇”在国内迅速发展
受此影响,国内垂直类奢侈品电商自然发展受限。寺库也曾意识到线下交易的重要性,于是大规模铺陈线下高端体验店。但线上的乏力,明显也会直接影响到线下的流量。寺库曾按照价格区间向上增加汽车、直升机等高端服务,和向下扩充美妆、家居、视频等中低端服务,平台SKU数量上去了,但围绕商品的产品挖掘、用户服务、使用体验等方面仍然不够。
但值得一提的是,即便在最艰难的时候,寺库也仍然没遭到资本的冷眼。在股价大跌、投诉频发的情况下,趣店与阿拉丁还是先后向寺库投资。前者试图用百亿补贴的方式联合寺库推广其旗下同类型奢侈品电商平台万里目,后者计划探索“奢侈品服务+社群经济”创新发展模式。前者已经没了声响,后者也被不少人判断是一次短暂而无用的输血。
电商强调性价比,但奢侈品需要强调体验感。奢侈品牌以线下为基础,往线上发展是一项水到渠成的计划,可寺库的模式却在这样的冲击下很难喘息。无论是拿到新投资,还是引入ChatGPT,对寺库来说都只是短暂的回血,至于到底如何找回高光时刻,恐怕还要回到重建与消费者之间的信任这件事上。