导读: 58个假冒“韩国自然乐园化妆品株式会社”品种产品被查处,案值7.7247万元。
1月22日,据安徽省市场监督管理局发布,黄山市市场监管局查在市场检查时,查获了一批假冒韩国进口化妆品,共58个品种,案值7.7247万元。依据《中华人民共和国反不正当竞争法》相关规定,执法人员将查获化妆品予以扣押。

| 来源:安徽省市场监督管理局
据了解,1月4日,黄山市市场监管综合行政执法支队执法人员在屯溪区某化妆品经营部检查时发现,标注“韩国自然乐园化妆品株式会社”的洗发水、润肤霜、精华液、爽肤水和防护乳,外包装盒正面用韩文装饰装潢,包装盒反面加贴中文标签,显示为韩国进口化妆品。
但经审查发现,标注“韩国自然乐园化妆品株式会社”,其实为韩国自然乐园化妆品株式会社有限公司,注册地在香港,该公司与韩国自然乐园化妆品株式会社毫无关系。而用韩文作为包装装潢,加贴中文标签,外包装上标注“韩国自然乐园化妆品株式会社”,故意隐去“有限公司”四字,使消费者误认为是韩国进口化妆品。
此外,执法人员进一步审查后发现,上述产品化妆品生产许可证为粤妆2016**、粤妆2017**,生产地在广州,但包装盒上面的条形码是48开头,为中国香港条形码(韩国条形码为88开头,中国大陆条形码为69开头)。
业内人士表示,上述韩国自然乐园化妆品株式会社有限公司并非真正的“韩国自然乐园化妆品株式会社”,而注册同样的名字主体“韩国自然乐园化妆品株式会社”,无非是想假借真的韩国自然乐园在中国的声量,引导消费者购买。
事实上,凭借着爆品芦荟胶,韩国自然乐园早就闻名于中国消费者,一时间风行在各种线上线下卖场。尽管近年来在中国纳益其尔因“商标侵权索赔案”而饱受争议,但其产品在国内仍有市场,以爆款芦荟胶为例,在其天猫官方旗舰店的月销量可达到1000件以上。

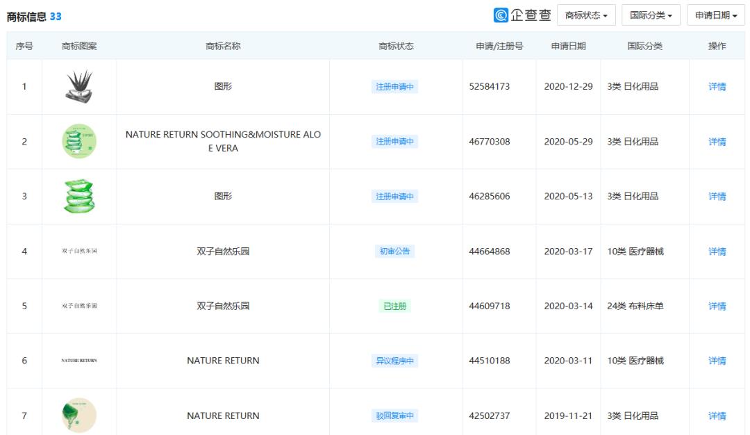
| 截自企查查
据企查查显示,韩国自然乐园化妆品株式会社有限公司是2010年注册的个人股份有限公司,目前共有商标信息33个,其中大多是与“自然乐园”“纳益其尔”“naturerepublic”等有关的名称、图形商标注册,涉及品类有日化用品、厨房洁具、广告销售、医药类等。