
《大理白族自治州旅游市场秩序整治工作领导小组办公室关于发布2023年度大理州文化和旅游“红黑榜”的公告》显示:
被吊销业务经营许可证或从业资质的涉文、涉旅企业和有关从业人员,将列入行业禁入管理。
现将2023年度第4期“红黑榜”公布如下,接受社会监督。
红榜如下:

黑榜如下:

1 鹤庆县乐思途国际旅行社有限责任公司
(地址:云南省大理白族自治州鹤庆县草海镇新华村民委员会南邑村银城文化交流中心1栋2楼;法定代表人:张伟) 在组织接待游客行程中,未与游客协商一致, 多次安排旅游团队到指定购物场所购物,被处予吊销旅行社业务经营许可证的行政处罚。

叶章键,担任鹤庆县乐思途国际旅行社有限责任公司等公司股东,担任鹤庆县乐思途国际旅行社有限责任公司等公司高管。
云南自古有“金属王国”之称,滇西的银矿、铜矿资源十分丰富,其中以大理州为典型代表。鹤庆银器制作技艺,主要流传于大理州鹤庆县新华村。历史悠久。《鹤庆县志》记载,“屯军中有善冶炼和以铜、银加工器具者。村民又习之,诸技艺均能,世代传袭。”可以看出,距今有500年以上历史。
2 牛海宁(所在机构:昆明市导游协会导游,导游证号:QO04755C) 在承接鹤庆县乐思途国际旅行社有限责任公司导游活动中,违规向旅游者兜售物品,被处予罚款的行政处罚。

3 大理自由自在旅行社有限公司(地址:云南省大理白族自治州大理市大理经济开发区广丰路金牛家缘3单元902室;
法定代表人:李明)2023年4月经核实,因违规被有效投诉8次。

爱企查信息显示:大理自由自在旅行社有限公司法定代表人为赖伟。赖伟,担任大理清清之旅旅游开发有限责任公司、大理云端旅行社有限责任公司等公司股东。

何栩昀,担任大理云端旅行社有限责任公司等公司法定代表人,担任大理自由自在旅行社有限公司、大理云端旅行社有限责任公司等公司股东,担任大理云端旅行社有限责任公司等公司高管。
4 大理风情旅行社有限责任公司(地址:云南省大理白族自治州大理市大理经济开发区巍山路顺兴小区三单元西二楼法定代表人:宝利斌); 2023年4月经核实,因违规被有效投诉5次。

公开信息显示:大理风情旅行社有限责任公司是失信人。



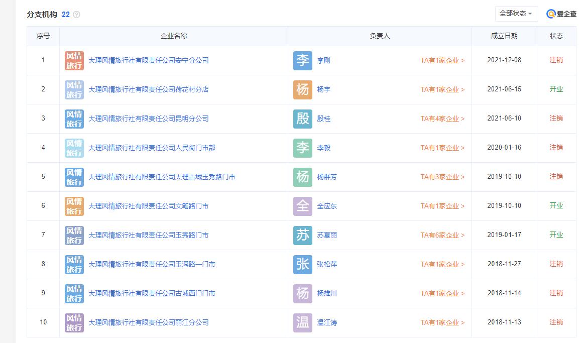
该旅行社有22处分支机构,其中15家已经注销。公开信息显示,大理风情旅行社有限责任和担任云南民族文化股份有限公司、昆明树森园林绿化有限公司、云南民族基金管理股份有限公司等公司法定代表人,担任昆明树森园林绿化有限公司、福建景康矿业有限公司等公司股东,担任云南民族文化股份有限公司、昆明树森园林绿化有限公司、云南民族基金管理股份有限公司等公司高管的杨振有股权合作。

福建景康矿业有限公司成立于2019年05月10日,注册地位于福建省福州市台江区瀛洲街道长乐南路56号红星商务大楼5楼17号,法定代表人为陈加斌。杨振是该公司的大股东,持股90%。是名副其实的矿老板。
5 四川易飞易国际旅行社有限公司大理分公司(地址:云南省大理白族自治州大理市大理镇玉洱路329号;法定代表人:钟伟,分社负责人:易春霞)2023年4月经核实,因违规被有效投诉4次。
四川易飞易国际旅行社有限公司成立于2003年12月25日,注册地位于成都高新区科园二路10号3栋2单元10楼2号,法定代表人为余文杰。

该公司全资控股四川天下万美文旅有限责任公司,该公司成立于2020年01月14日,注册地位于成都高新区天和路9号附13号1层,法定代表人为邓佳文。
6 大理畅游旅行社(地址:云南省大理白族自治州大理市大理镇大理古城绿玉路52号; 法定代表人:杨*堂春**)2023年4月经核实,因违规被有效投诉3次。

该旅行社持有大理州旅行社经营管理股份有限公司0.382409%的股份。大理州旅行社经营管理股份有限公司成立于2018年02月08日,注册地位于云南省大理白族自治州大理市大理镇南门双鹤路卖花村1号路1号,法定代表人为傅东寅。

大理州旅行社经营管理股份有限公司由大理新旅程旅行社有限责任公司持股,大理州彩云之南旅行社有限责任公司持股2.65487%,大理春秋旅行社有限责任公司持股2.65487%。

大理州旅行社经营管理股份有限公司持有大理华悦汽车租赁有限公司100%股份,持有大理畅行网络科技有限公司55%股份,持有大理众联国际旅行社有限公司100%股份,持有大理华悦旅行社有限公司100%股份。

傅东寅 100%持股大理新旅程旅行社有限公司,该公司持有大理州旅行社经营管理股份有限公司1.912046%股份。但爱企查的数据还显示了完全不同的持股比例,疑似数据错误。
7 大理康辉旅行社有限公司(地址:云南省大理白族自治州大理市大理经济开发区云岭大道15号祥和酒店附楼三楼法定代表人:黄家丽);2023年4月经核实,因违规被有效投诉3次。

昆明康辉旅行社有限公司持有大理康辉旅行社有限公司51%股份,该公司也持有大理州旅行社经营管理股份有限公司1.912046%股份。

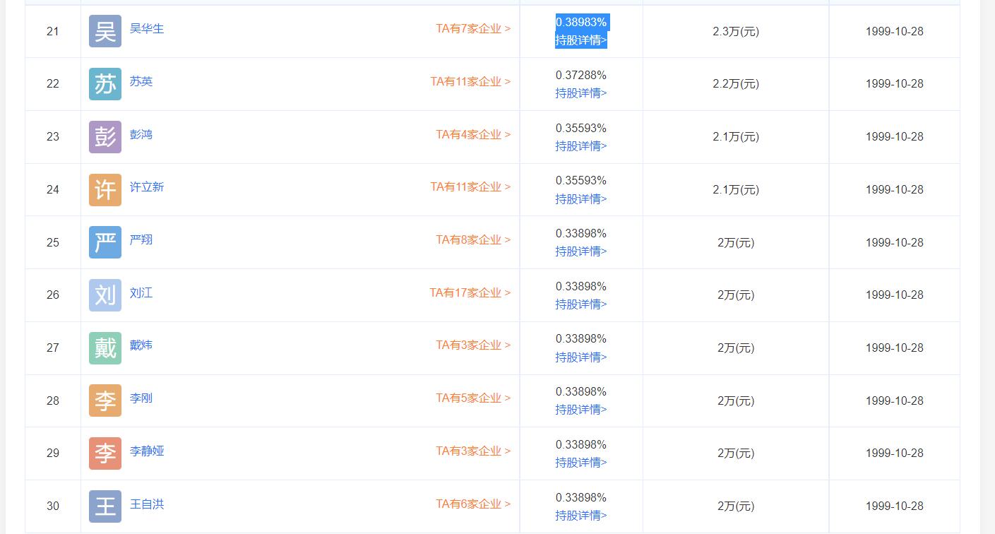
昆明康辉旅行社有限公司成立于1999年10月28日,注册地位于中国(云南)自由贸易试验区昆明片区官渡区永丰路6号,法定代表人为张楠。中国康辉旅游集团有限责任公司是其大股东,持股50.84746%。

康辉历史悠久,大多数股东认缴出资日期都是1999年。




该年认缴出资的股东多达49名。







康辉控股参股的公司也比较多,控股公司多以永X为名,寄托这家有24年历史的老牌旅行社永远存在的愿景。

在昆明康辉官网首页,海报上"纯玩不进店"大字显眼。

该公司关于我们显示:昆明康辉旅行社有限公司以“网络化”、“规模化”、“品牌化”为发展目标,致力于“国内成网、国外成链”的建设,日臻完善的全国网络和垂直管理模式形成康辉集团在全国旅行社行业独特的优势。
公司于2004 年成功的合并了云南*草烟**国旅,现共有9栋办公大楼,总经营面积。为22720.63平方米,正式在职员工1265名,业务量连续多年居整个云南市场国内社和国际社第一名。
昆明康辉旅行社有限公司被国家旅游局连续多年评为全国国际旅行社100强企业,被原云南省旅游局评为全省10强旅游企业。
昆明康辉旅行社有限公司是中国旅行社协会会员,是亚太旅游协会(PATA)的成员,经中国国家旅游局批准经营:入境、出境、国内、港澳、边境、商务、会议、高尔夫球、团队等旅游业务,本着“想游客至所想”的经营理念,按照不同客人的需求提供多种类型的旅行线路,无论是独立成团、散客拼接、纯玩自助游、团队出游等等,在这里,总有一条旅行线路适合您。

8 大理市舒心游旅行社有限公司 【地址:云南省大理白族自治州大理市大理镇南门村民居委会双鹤路卖花村(4号路)9号法定代表人:舒娅)】;2023年4月经核实,因违规被有效投诉3次。
舒娅,担任大理市舒心游旅行社有限公司、 大理苍山旅行社有限责任公司大理市大理镇玉和路门市、大理风情旅行社有限责任公司大理市玉秀路门市等公司法定代表人,担任大理市舒心游旅行社有限公司等公司股东,担任大理市舒心游旅行社有限公司等公司高管。
大理苍山旅行社有限责任公司成立于1998年03月19日,注册地位于云南省大理白族自治州大理市大理经济开发区苍山东路539号泛亚汽车城主展厅B区二楼,法定代表人为马承东。
9 大理市银轩珠宝首饰坊
(地址:云南省大理白族自治州大理市大理创新工业园区凤仪镇凤鸣村委会凤仪庄园13-106号; 经营者:王万)。
2023年4月涉及“30天无理由退货”有效投诉申请 331件 。
10 大理市及第商贸有限公司(地址:云南省大理白族自治州大理市大理镇复兴路301号;法定代表人:杨艳玲)
2023年4月涉及“30天无理由退货”有效投诉申请 237件 。

11 大理市寸四银庄商贸有限公司
(地址:云南省大理州大理市大理镇复兴路16号;法定代表人:徐超)
2023年4月涉及“30天无理由退货”有效投诉申请 228件 。
12 大理市东紫翡翠珠宝店
(地址:云南省大理白族自治州大理市银桥镇五里桥村委会214国道大凤路旁;经营者:段冬)
2023年4月涉及“30天无理由退货”有效投诉申请 220件 。
13 大理市喜洲镇御裕坊
(地址:云南省大理白族自治州大理市喜洲镇天籁家园西侧商场一号大厅赌石区档口;经营者:杨涛)
2023年4月涉及“30天无理由退货”有效投诉申请 188件 。
(综合:大理白族自治州旅游市场秩序整治工作领导小组办公室、企业和股东公开信息来自爱企查)