好厉害的成分卖点———30%VC精华!兰蔻推出“鸡蛋壳”双层面膜

随着“成分*党**”这一群体的崛起,配方“简单粗暴”的原料桶类品牌开始走红,越来越多的企业开始在开发产品时考虑成分的卖点,甚至专门将成分的浓度作为营销的噱头。

美业颜究院为您精选了近期发布的新品,一起来看看他们都用了那些成分吧!

Obagi推出VC含量高达30%的面霜

一个叫Obagi的美国功能性护肤品牌推出了一款号称达到行业最高水平的产品——VC含量高至30%的面霜,该品牌称,这款面霜是目前市场上左旋VC含量最高的产品,“达到了前所未有的水平”。

就是下面这款面霜 ↓

好厉害的成分卖点———30%VC精华!兰蔻推出“鸡蛋壳”双层面膜

哇~听起来感觉超厉害的样子有木有?在追求知识的动力的推动下,小编亲自调查了这个品牌的来历,发现这个品牌真是个狠人,不,狠牌子。

Obagi的全称是Obagi Medical,旗下产品都是些“猛药”——动不动就是4%的氢醌、30%的VC,听上去就让人瑟瑟发抖。

因为是“猛药”,Obagi的产品只能在皮肤科医师那里买到。

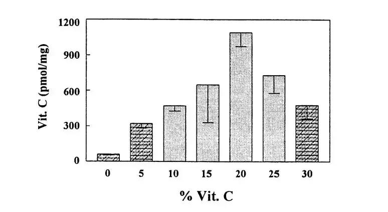
不过也有业内人士告诉小编,30%的VC含量只是噱头而已,并不符合皮肤的吸收规律,并甩给我一张图 ↓

好厉害的成分卖点———30%VC精华!兰蔻推出“鸡蛋壳”双层面膜

上图显示,30%的VC被皮肤吸收的量还比不上20%的VC,可见功效成分的含量并非越高越好。

雅芳推出高活性的VC精华液

最近VC是个很热门的成分,雅芳也推出了一款新的VC精华,宣称“每瓶精华的VC含量相当于30个橙子中VC的含量”。(看到这一句,小编情不自禁咽了下口水~)

好厉害的成分卖点———30%VC精华!兰蔻推出“鸡蛋壳”双层面膜

此外,为了防止VC失活,雅芳还独家开发了一种“强效、纯净和稳定”的配方,从第一滴到最后一滴,都能保持高活性。(怎么办,感觉自己的钱包开始蠢蠢欲动了~)

这款精华的售价为40美元(约270RMB),现已经在全球范围内推出。

赫莲娜也推出全新的抗衰老系列

赫莲娜(HR)推出了针对皮肤老化人群的全新抗衰老系列,该系列有精华、乳液、面霜等单品。

好厉害的成分卖点———30%VC精华!兰蔻推出“鸡蛋壳”双层面膜

这款抗衰老系列的主要功效成分是雪绒花的三种提取物——雪绒花干细胞提取物、雪绒花的地面部分提取物(含有丰富的维A酸)、雪绒花脂质提取物,具有强化皮肤屏障、促进胶原蛋白的形成、消除皱纹的功效。

雪绒花长这样 ↓

好厉害的成分卖点———30%VC精华!兰蔻推出“鸡蛋壳”双层面膜

发售时间:已上市

发售价格:15000-50000日元(约900~3000RMB)

兰蔻推出双层面膜

兰蔻即将推出一款双层面膜,这款面膜采用了上下分离的膜布设计,可以更好的贴合皮肤,提升面膜效果。

好厉害的成分卖点———30%VC精华!兰蔻推出“鸡蛋壳”双层面膜

此外,面膜本身具有双层结构。根据品牌方介绍,该设计的灵感来源于蛋壳的双层结构,面膜的表层具有透气小孔,既不阻碍皮肤自由呼吸,同时又能防止有效成分挥发,还增加了渗透率。

这款面膜的主要功效成分是亚麻籽提取物,能够提升皮肤的弹性和通透性,官方推荐搭配同系列的面霜使用。

发售时间:4月19日

发售价格:单片2400日元(约145RMB)

5片盒装10500日元(约632RMB)

纪梵希推出像纹身一样持久的新唇釉

好厉害的成分卖点———30%VC精华!兰蔻推出“鸡蛋壳”双层面膜

纪梵希于4月5日推出“Encre Interdite”系列新唇釉,该系列唇釉号称能够像纹身一样持久,采用防水配方,能够防水24小时

同时,为了避免出现持久唇釉滋润度低的通病,该系列唇釉含有黑玫瑰油和60%的水分,能够充分滋润唇部皮肤。

好厉害的成分卖点———30%VC精华!兰蔻推出“鸡蛋壳”双层面膜

发售时间:已上市

发售价格:3800日元(约230RMB)

衰败城市推出《权利的游戏》联名款彩妆

衰败城市(Urban Decay) 将于4月13日推出 《权利的游戏》(Game of Thrones)联名系列彩妆,该系列包括眼影盘、修容盘、唇膏、眼线笔、眼影刷、液体腮红等13件画风华丽的单品。

好厉害的成分卖点———30%VC精华!兰蔻推出“鸡蛋壳”双层面膜

眼影盘的设计别出心裁,打开盒盖出现的是《权利的游戏》剧中人人向往的铁王座,拉开夹层,会有4个风格强烈的眼影盘。

好厉害的成分卖点———30%VC精华!兰蔻推出“鸡蛋壳”双层面膜

眼影刷被设计成*器武**造型,如果把化妆比作一场战斗,好用的化妆品就像顺手的*器武**一样重要。

好厉害的成分卖点———30%VC精华!兰蔻推出“鸡蛋壳”双层面膜

发售时间:4月13日

发售价格:单品19-65美元(约128-440RMB) 整套250美元(约1680RMB)

这次的新品播报就到这里了,我们下期再见吧!

作者:灼灼@美业颜究院