
转眼三月,彻底告别了过年的气氛
生活工作又回到了正轨
社长身边趁着三月黄金期
跳槽换工作、找房换房的朋友不少

在厦门,租房不易
租到房之后面临的种种问题烦恼
也是千奇百怪
这些只有亲身经历过,才深有体会
夸张点说:“在厦门,
没有因租房而痛哭流涕的人,不足以谈人生”
(厦门土著就当小鱼君没说这话)

然鹅!对于租房除了各方面的考虑
最最最重要的参考指数必然是租金了
小鱼君就扎心一问:
“追不上房价的你,能追上房租吗?”

//厦门房租 全国第八//
每年春节过后就是租房的旺季,
当然租金也是蹭蹭的涨,
今年厦门租房市场情况如何呢?
请看▼

数据来源:中国房价行情网 仅供参考
从中国房价行情给出的
全国城市租金排行变化情况来看
不管是相比去年还是上个月
厦门房租水平也是直线上升
稳稳的坐上了全国第八位

数据来源:中国房价行情网 仅供参考
在本文截稿前
从网站最新更新的数据来看
环比全厦门的租金概况
居然还比上个月低了那么一丢丢
但这一丢丢丝毫不影响
它还是这么贵的事实

//厦门各区 租金情况//
看完刚才的数据
不要认为厦门的房租太贵了
我们再把数据细分到每个区域
再来看看究竟是哪个区域
租金如此的高!
各区租金如下▼

数据来源:中国房价行情网 仅供参考
思明>湖里>集美>海沧>同安>翔安
租金的平均水位一路飙升
更严重的是
对于租金上涨的预期也一路上扬
而承受这一切的,只有租客

小鱼君默默地摸了摸胸口
追不上房价,还追不上房租
本想找一个像《欢乐颂》里那样
环境好,交通方便,配套全
上班不远……
还会遇到一群知心朋友的房子

然而,现实却是:
房子很贵、室友冷淡、上班还远

不过,别急着慌张!
下面小鱼君就要传授你们
一套实用的租房攻略
愿各位在厦门可以找到最适合自己的房子~
2019厦门租房全攻略
(超实用 建议收藏哟)
1/ 交 通 /
选房子有一个很主要的事——交通,所以可以根据通勤时间来缩小找房子的范围。

在厦门,花在上下班路上的时间,最好不要超过1小时!(交通40分钟+步、骑行20分钟)否则,你的工作与生活质量都会随之下降。
以下几个交通方式你一定要知道,然后从中选择最合适自己的方式!
01
地铁
▼


目前,厦门地铁只有一号线开放运营,如果你公司临近地铁站,你就可以选择地铁房,按照厦门的地铁站点规划来算,平均每站3-4分钟(跨海路段除外)。

使用钉钉打卡的朋友,可以试试打卡范围有多大,如果在地铁门口刚好可以打卡就美滋滋了~
如果是指纹打卡,那就早点出门吧,因为路上还会有许多你预估不到的意外(等电梯、没及时赶上地铁......)

如果你是长期的不换工作不换住处,你也可以选择将要开通的地铁线附近,等到新线路开通可能房租就涨了!
目前,2号线首列车已顺利抵达厦门,预计今年年底试运营~
02
BRT(快速公交)
▼

相比起地铁房,BRT房的租金相对来说要便宜不少,而且还有专用车道,时间比较准时,就上班体验来讲,跟地铁不相上下。
而现在厦门开通了7条快速公交,所以在厦门的上班族不少都会选择临近BRT的房子。如果所在公司附近有BRT,强烈建议大家选择临近BRT站的房子。
快1线▼

快2线▼

快3线▼

ps:不要问小鱼君为啥没有快4线
emmmm,多读几遍你就懂了
快5线▼

快6线▼

快7线▼

快8线▼

03
共享单车
▼

关于共享单车,小鱼君有一点相劝!切记切记:千万不要有侥幸心理,别以为一出门就能骑到共享单车。
虽然平时看着路边很多,但其实你可能稍微出门晚一点,要么车被别人骑走了,要么都是故障车!(小鱼君就曾经历过这种绝望!扫码解锁,发现坏车,提交报修,拍图上传。然后下一辆也是这样......)

不要把希望寄予共享单车,尽量选择离地铁站或BRT站近一点的房子,即使多坐一两个站,也比在找共享单车上浪费时间要强。
04
步行
▼

千万不要相信中介所谓的离地铁站、BRT站多少米!因为很有可能他们算的是直线距离,真实距离一定少不了绕绕弯弯的小巷子。

△ 中介告诉你的直线距离
最好的办法是,自己在地图里面找测距工具,自己计算实际需要的时间,包括人行天桥、地下隧道等。

△ 实际上你要走的距离
2/ 选 房 三 部 曲 /
第一步:网上定大概
1、通过各种租房平台,锁定大概范围进行筛选,有些看上去装修很好但是价格便宜的,要么是*子骗**要么就是图片与实际不符。(小鱼君tips:在厦门租房可以上小鱼网,轻松又可靠哦~)
2、根据你想要居住的生活区,挑选几个片区(留意周边超市、菜市场、美食街、便利店以及治安等),这将直接关系到今后你的生活质量。
3、如果今后你考虑买车的话,还应该考虑有停车场的小区或者周边可以停车的房子,还要看看车位租金是否便宜。

第二步:线下选房源
1、中介:尽可能的让中介带你看符合你心里价位的房子,其它一概不考虑,这样有机会看到更多符合你的房源。
2、二手房东:其实在软件上看的房子,都是二手房东在发布租房信息,可以询问二手房东有没有优质的房源还没发布出去。
3、周边邻居/朋友:去喜欢的地段小区附近转转,看下小区布告栏上有没有出租广告,或者去门卫大叔以及小区门口聊天的大爷大妈那打听下。(会有很多隐藏房源,你值得拥有)

另外也有一个好办法,就是直接问你住在厦门的好朋友,直接询问ta住处各方面情况如何,是否还有空房,如果赶巧,说不定还能合租就更棒了!

第三步:验房有技巧
1、看硬件:首先看看家电是否齐全以及是否正常使用,合租的还要看公共区域的占用情况,判断室友生活习惯;其次是冰箱厨房,看室友平时做不做饭等。
2、看软件:查看手机网络、wifi、以及宽带情况,信号真的是一个很重要的问题,生活、工作都离不开。
3、看干扰:仔细查看房屋是否隔音不好,如果合租的还要看看室友有没有养宠物,是否为合住情侣等,这将直接影响今后的生活质量。

3/ 租 房 要 点 /
1、一般情况下来说,租房费用不应该超过税后入手的1/3,也被称为房格尔系数。
2、除了个人房源,中介和公寓都比较正规,不容易出现房东恶意克扣押金的情况。
3、每年2、3月全民返工,租房市场相对饱和,价格较高;每年6、7、8月大学生毕业,租房价格也相对较高。

4、相反,6、7、8月是高校附近退房的高峰期,是个不错的选择,而且高校附近涵盖了美食街、运动场、游泳池、健身房、学弟学妹等。
5、整租往往比合租便宜,可以和朋友同事一起整租更划算。
6、厨房用具可以去淘二手的,家居和装修改造可以去某宝看看,花最少的钱提升生活质量。
4/ 注 意 事 项 /
1、严查证件:如果租房方式是亲友介绍、APP论坛等这类来源,一定要严查房东的产权证书、个人身份证、核验信息是否正确。

2、谈妥细节:许多细节关乎着你的生活质量,也关乎着你的钱包,所以一定要了解——厨卫下水道是否容易堵塞?卫生间是否漏水?门窗是否损坏、无法使用?
马桶、热水器、空调等是否能正常使用?电路是否老化?水管是否通畅?一旦房内设施损坏,维修费谁付?

3 周边环境:很多房东、中介招租的时候喜欢写:临近地铁。那么临近地铁是有多近?所以去实地考察看房的时候,一定要计算一下从地铁到房子的到达时间。
周边是否喧闹,生活必需品购买是否困难,居住人群主要是哪些人等等,同样需要注意。
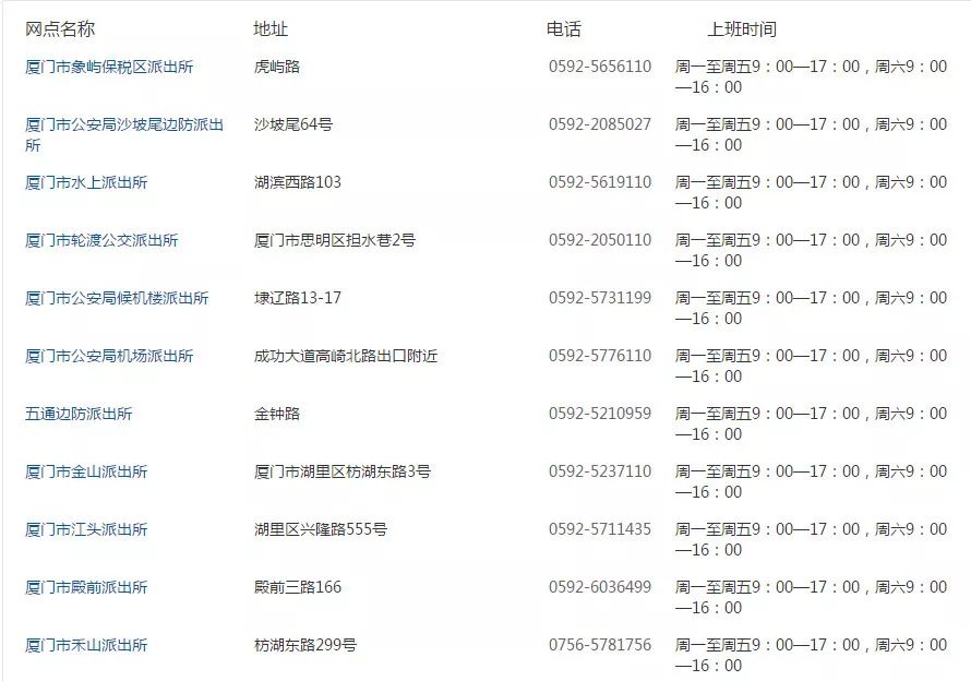
5/ 遇 到 坏 房 东 咋 办 ? /
1、不要怕麻烦,打110出面协调,坏人总是理亏的,在正义面前他们总会怕,大多数房东就是赌你怕麻烦,然后不了了之。
厦门各区派出所电话
思明区


湖里区


集美区

海沧区

翔安区

同安区

2、协调不成就勇敢拿起法律的*器武**,收集好证据,直接去法院,一开始法院会协调,不行再开庭。
最后,小鱼君送上这份
厦门六区27板块租金一览表
让你一图看懂!
▽▽▽
//各片区普通住宅平均租金一览表//
单位 :元/㎡/月


数据来源:读地 仅供参考
租房的痛,只有租过房的人才懂!
小鱼君对租房的痛也是深有体会!
希望这篇租房攻略有所帮助~
最后,祝大家:
租房少被坑,上班把歌哼~
#今日话题#
你租在哪里?
(具体到城中村小区)
房租多少,房型什么样?
租住感受如何?
希望你的分享
能够帮到更多正在烦恼租房的人~