最近虎叔发现假博主们的刷量方式有进行改良,不太能用肉眼看出破绽来。其实从侧面也能证明甲方们越来越在意博主数据的真实性,越来越精了,导致博主们不得不夹着尾巴防止露馅儿。
然而今天要扒的,是Dior在宣传花秘瑰萃系列时投放的博主,真是一个赛一个嚣张,数据异常得十分直白,就差举着喇叭喊自己是假博主了。

今年迪奥对于花秘瑰萃系列护肤品的宣传期一直都没有落幕,直到9月19日素颜女神王丽坤的加盟,让这款颜值新品的宣传再次上升了热度,期间的#花秘玫瑰小粉瓶#话题,讨论量达到了81.2万,阅读量达1.1亿。

迪奥在微信公众号方面很少投放带货的,即使是新品宣传,也只是放一些代言人最新宣传内容。然而很匪夷所思的是,这批推广花秘玫瑰系列的博主,有不少都是阅读在2w~3w的范围,这对于宣传来讲显然不是很有影响力。
而更匪夷所思的是,即便这些博主阅读少,仍然有不少广告主会投,而且有的博主要么不发文,一发文就是广告,真的很好奇广告主们真觉得这些博主能有很好的ROI吗?
这批推广迪奥花秘瑰萃系列的博主虎叔都放上了监测台,其中头部时尚博主凌听雨一个月了还未出文,有点遗憾没有监测数据,其余的监测结果如下:

真实:表示数据异常占比在0%~20%;
存在水分:表示数据异常占比在20%~60%;
存在大量水分:表示数据异常占比在60%~100%。
迪奥这次投放的都是时尚类的博主,其中数据造假的博主微信名看起来都差不多,内容也差不多,毫无风格可言。本来虎叔还没仔细看这些博主平时的发文阅读,不看不知道,一看吓一跳,这根本不需要肉眼就能看出来。
NO.1 全球风尚X
头条平均阅读:1w+

虎叔监测了其10月21日,19:51的广告文《别样的限量腕表,在平凡中成就不凡》,金主是Grand Seiko冠蓝狮,其阅读和在看曲线图如下:
蓝阅读、红在看、绿评论。

这篇真的好惨,真实阅读可能只有百位数...19:51发的文,19:59还是1,直到20:00有了2001。

很明显,一开头它就刷了2000阅读。然后到0:19,阅读只涨了4个...于是继续刷,在3:00的时候到达了10003。

到第二天10:55的时候,开始进行在看刷量套餐。
10:55,阅读10005,在看0
11:52,阅读10447,在看435
12:02,阅读10448,在看436
阅读涨442,在看涨435;阅读涨1,在看涨1。也就是说,刷在看的这波人顺便把阅读也刷了,有点滑稽,甚至有点可爱,虎叔都要忍俊不禁了。

这么一看,真实阅读可能只有个位数....天呐。
这位博主发文频率并不高,然而看他的点赞量和留言数,跳度非常大,于是虎叔就翻了翻这些文,发现有几百在看和几十留言的,都是广告文...

从上到下依次是迪奥、Grand Seiko冠蓝狮、鑫囍缘、迪奥...而且在看量高的基本都是需要转化的。

继续看留言,取的这个名字也是够敷衍哈,看来都是新注册的号,系统赠送昵称的那种。评论内容也假到不行,左边是推广Grand Seiko冠蓝狮的这篇,文章里推的是腕表,评论力说衣服???还有你说的想法是啥想法???右边的这篇是推广迪奥花秘瑰萃的,毛老师嗯???哪里来的毛老师?

所以这么容易就能看出真假来,投了这位博主的广告主们可都得洗洗眼了。
NO.2 美丽XX俏佳人
头条平均阅读:1w+

虎叔监测了其10月16日,15:09的文《不止冻龄现在,DIOR迪奥的干细胞黑科技还能为你掌控肌肤未来!》,不知道是不是迪奥投放的,也有可能是碰瓷的???其阅读和在看曲线图如下:
蓝阅读、红在看、绿评论。

15:09发的文,15:12了阅读只有1个,可能是系统送达问题,但15:24之后,阅读就以每分钟个位数增长,甚至不涨了,就有点可疑了哦。
15:12,阅读1
15:14,阅读431,增幅430
15:15,阅读674,增幅243
15:16,阅读1040,增幅366
15:18,阅读1054,增幅5
15:24,阅读2036,增幅982
15:25,阅读2059,增幅23
15:27,阅读2060,增幅1


接下来就是漫漫的停滞期。直到17:54,阅读继续一跃而上,蹦跶到9000+。
17:54,阅读2072,增幅12
17:59,阅读3042,增幅970
18:04,阅读4942,增幅1900
18:09,阅读6635,增幅1693
18:14,阅读8193,增幅1558
18:20,阅读8540,增幅347
18:25,阅读8704,增幅164
18:30,阅读8898,增幅194
18:35,阅读9022,增幅126
18:40,阅读9032,增幅10
18:45,阅读9032,增幅0

再次经过3个小时的停滞期后,在21:22又继续刷了1000左右的阅读,历时15分钟。

在看量呢,是在第二天晚上21:13刷上去的,共170个,历时1个小时,而且这段时间,阅读涨了178个,那么就可以做减法啦。这一个小时内,178-170=8个真实阅读~

包括评论也是突然就出现了,昵称还是同样的配方,浓浓的80后风格,统一吹黑科技,是神是鬼一眼就能看出来了好吧。
这位博主发文更不频繁,但跟上一位一样,广告文都靠刷,在看量飞起,真实阅读却没几个,能有1000都算虎叔高估了。真的是用最原始的方法在造假啊。

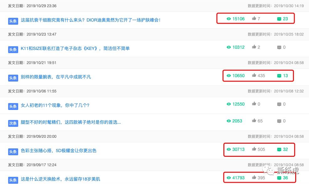
NO.3 时尚X生活
头条平均阅读:2w+

这位博主活跃粉丝数量真心不低哦,而且加入新榜的时间已经很久了,4年了头条阅读也只有2w~3w,而且还是含有水分的,有点惨。看着发文频率也不低啊。虎叔监测了其10月27日,20:00的文《古代拔草谁最疯狂?张骞“激情代购”唐太宗“硬核打榜”》,金主是长城葡萄酒,其阅读和在看曲线图如下:
蓝阅读、红在看、绿评论。

在发文开端半小时后,在看量在2分钟内蹭蹭涨了100个,实力演绎什么叫一发冲天。此时,阅读也只涨了200个,敢情一半读者都会点在看咯。

阅读在21:00之前有过小幅上下波动,虎叔就不拎出来讲了。在21:00之后,阅读就直接呈每5分钟几十涨幅、甚至个位数增长,但21:28时,在5分钟内猛涨了2000+,走位极其风骚。
21:01,阅读7934
21:07,阅读7996,增幅62
21:12,阅读8001,增幅5
21:17,阅读8002,增幅1
21:22,阅读8003,增幅1
21:28,阅读8003,增幅0
21:33,阅读10327,增幅2324
21:38,阅读11275,增幅948

前5分钟涨幅为0,后5分钟嗖嗖2000+,这冲天炮发得溜啊,而且这也可以证明正常阅读是上不去了,后期的大涨必定是机刷或人工。这不,从第二天5:03开始,就蠢蠢欲动了。
5:03,阅读17171
5:34,阅读17909,增幅738
6:06,阅读19488,增幅1579
6:37,阅读23447,增幅3959
6:48,阅读27143,增幅3696

看这阅读增幅都是可以成倍涨的,害怕。而且阅读到2.7w就正式封顶了,这真正起床的时间段反而没“读者”了,不诡异吗?
还有10月23日20:00发的这篇《窗户膜贴不上,是窗户的错!袁弘的宠妻程度太让人羡慕了吧!》,金主是丹姿,拢共3w的阅读,真实率不到24%。

虎叔共监测了其7篇文,这7篇全部都是广告文,其中4篇放了转化链接,然而无一例外数据都不正常,可见其转化效果实在是不行的。大牌愿意入坑没啥损失,小众品牌就不要投了吧,因为投了也是白投。

迪奥这次投的这几位KOL,有的可能是自发宣传,因为虎叔实在看不懂,明明没啥名气,也没什么特色,怎么还会有这么多广告主选择他们。
一般情况下,正经大牌不都找的是排名靠前的头部博主投放吗?而且迪奥的目标人群会在一二线城市,是对生活品质有追求、偏好时尚,并有一定消费能力的年轻群体。找时尚博主没错,但这批博主都太“老”了,而且丝毫没有辨识度。
看他们文章底下的留言,都是“喜欢”“不错”居多,昵称也一言难尽,如果不是正经的“70后”“80后”,那就都是机刷的假评论了。不管是哪一种,都没有参考价值和投放价值。

在叔写文期间,发现迪奥又为“JOY by DIOR”这款香氛在投放,实在是找了很多当红的明星大咖一起为产品发声。

这款香氛是在今年2月份上市的,跟花秘瑰萃系列一样,不是最近的新品。但因为都有了明星做声量,因此在微信平台上的宣传都带上了明星元素。且每篇的主题都差不多,只是宣传,没有转化链接。至于博主类型,都是时尚类,数量不多,阅读量也不高,最后名气小、数据也假。


他们的阅读量和在看量都像是商量好的,只高不低,且每篇的数量都差不多。除此之外,这些可都是存在了3年以上的号,如果只是为了蹭大牌赚关注度,从而成功拿到广告,那是不是进行得有点久了?预谋已久,那就细思极恐了...


虎叔今天扒的这些号,实在有点上不了台面,但鉴于还是有广告主在投,那就得曝光一下下。不管是蹭大牌也好,还是大牌自己投的也罢,总归这些博主真的没啥投放价值,大家伙儿可都要长点儿心了啊。
近期在全球风尚X投放过广告的商家有: Grand Seiko冠蓝狮、鑫囍缘、M-CRO……
近期在美丽XX俏佳人投放过广告的商家有: 海尔、维纳斯、法伯丽……
近期在时尚X生活投放过广告的商家有: 长城葡萄酒、爱普生、丹姿……
往期文章:
娱乐假博主避雷篇|Swisse踩过的坑你就别踩了
大牌的投放崛起之路,从一次测试开始
展会新投法,跟刷量城市号say goodbye
零食届中出一个时髦精,宣传、带货两不误
大牌踩水哪家强,必须是贵妇产品LA MER啊
Olay膨胀了?这次没有好好做功课啊
合生元,这些博主真的不值得反复投
覆盖式投放真实率爆棚,HFP的对手来了
只要够“勤快”,1w+噌噌变成10w+
最佳刷量辩手,被杰克琼斯撞上俩