今天讲一些高压知识,希望大家能学到点东西,如果感觉有用,请打赏一下,一块也是爱啊
高压电气二次回路原理图及讲解
1、直流母线电压监视装置原理图
直流母线电压监视装置主要是反映直流电源电压的高低。KV1 是低电压监视继电器,正常电压 KV1 励磁,其常闭触点断开,当电压降低到整定值时, KV1 失磁,其常闭触点闭合,HP1 光字牌亮,发出音响信号。KV2 是过电压继电器,正常电压时 KV2 失磁,其常开触点在断开位置,当电压过高超过整定值时 KV2 励磁,其常开触点闭合, HP2 光字牌亮,发出音响信号。

图 1 直流母线电压监视装置原理图
2、直流绝缘监视装置接线图

图 2 是常用的绝缘监察装置接线图
正常时,电压表 1PV 开路,而使 ST1 的触点 5-7、9-11(ST1 的 1-3、2-4 断开)与 ST2 的触点 9-11 接通,投入接地继电器 KA。当正极或负极绝缘下降到一定值时,电桥不平衡使 KA 动作,经 KM 而发出信号(若正、负极对地的绝缘电阻相等时,不管绝缘下降多少,KA 不可能动作,就不能发出信号,这是其缺点)。此时,可用 2PV 进行检查,确定是哪一极的绝缘下降(测"+"对地时,ST2 的 2-1、6-5 接通;测"-"对地时,ST2 的 1-4、5-8 接通。正常时,母线电压表转换开关 ST2 的 2-1、5-8、9-11 接通,电压表 2PV 可测正、负母线间电压,指示为 220V。), 若正极对地绝缘下降,则投 ST1 I 档,其触点 1-3、13-14 接通,调节 R3 至电桥平衡电压表 1PV 指示为零伏;再将 ST1 投至 II 档,此时其触点 2-4、14-15 接通,即可从 1PV 上读出直流系统的对地总绝缘电阻值。若为负极对地绝缘下降,则先将 ST1 放在 II 档,调节 3R 至电桥平衡,再将 ST1 投至 I 档,读出直流系统的对地总绝缘电阻值。假如正极发生接地,则正极对地电压等于零。而负极对地指示为 220V,反之当负极发生接地时,情况与之相反。电压表 1PV 用作测量直流系统的总绝缘电阻,盘面上画有电阻刻度。由于在这种绝缘监察装置中有一个人工接地点,为防其它继电器误动,要求电流继电器KA 有足够大的电阻值,一般选 30kΩ,而其启动电流为 1.4mA,当任一极绝缘电阻下降到 20kΩ时,即能发出信号。对地绝缘下降和发生接地是两种情况。
3、直流绝缘监测电路图
直流系统在变电站中具有重要的位置。要保证一个变电站长期安全运行,其因素是多方面的,其中直流系统的绝缘问题是不容忽视的。变电站的直流系统比较复杂,通过电缆沟与室外配电装置的端子排、端子箱、操作机构箱等相连接,因电缆破损、绝缘老化、受潮等原因发生接地的可能性较多,发生一极接地时,由于没有短路电流,熔断器不会熔断,仍可继续运行,但也必须及时发现、及时消除。通常,要求直流系统的各种小母线、端子回路、二次电缆对地的绝缘电阻值,用 500V 摇表测量其值不得小于 0.5MΩ。直流回路绝缘的好坏必须经常地进行监视。否则,会给运行带来许多不安全因素。现以图 3 为例说明直流接地的危害。当图中 A 点与 C 点同时有接地出现时,等于+WC、-WC 通过大地形成短路回路,可能会使熔断器 FU1 和 FU2 熔断而失去保护电源;当 B 点与 C
点同时有接地出现时,等于将跳闸线圈短路,即使保护正常动作,YT 跳闸线圈短路,即使保护正常动作,YT 跳闸线圈也不会起动,断路器就不会跳闸,因此在有故障的情况下就要越级跳闸;当 A 点与 B点或 A 点与 D 点,同时接地时,就会使保护误动作而造成断路器跳闸。直流接地的危害不仅仅是以上所谈的几点,还有许多,在此不一一作介绍了。因为发生直流接地将产生许多害处,所以对直流系统专门设计一套监视其绝缘状况的装置,让它及时地将直流系统的故障提示给值班人员,以便迅速检查处理。

图 3 直流接地示意图
4、带有灯光监视的断路器控制回路(电磁操动机构)
图 4 中:+WC、-WC 为控制母线;FU1、FU2 为熔断器,R1-10/6 型,250V;SA 为控制开关,LW2-1a.4.6a.40.20.20/F8 型;HG 为绿色信号灯具,XD2 型,附 2500Ω电阻;HR 为红色信号灯具,XD2 型,附 2500Ω电阻;KL 为中间继电器,DZB-115/220V 型;KMC 为接触器;KOM 为保护出口继电器;QF 为断路器辅助开关;WCL 为合闸小母线;WSA 为事故跳闸小母线;WS 为信号小母线;YT 为断路器跳闸线圈;YC 为断路器合闸线圈;FU1、FU2 为熔断器,RM10-60/25 250V;R1 为附加电阻,ZG11-25 型,1Ω;R2 为附加电阻,ZG11-25 型,1000Ω;(+)WTW 为闪光小母线。
(1)"跳闸后"位置
当 SA 的手柄在"跳闸后"位置,断路器在跳闸位置时,其常闭触点闭合,+WC 经 FU1→ SA11-10 → HG 及附加电阻 → QF(常闭)→KM 线圈 → FU2 → -WC。此时,绿色信号灯回路接通,绿灯亮,它表示断路器正处于跳闸后位置,同时表示电源、熔断器、辅助触点及合闸回路完好,可以进行合闸操作。但 KMC 不会动作,因电压主要降在 HG 及附加电阻上。
(2) "预备合闸"位置
当 SA 的手柄顺时针方向旋转 90º至"预备合闸"位置,SA9-10 接通,绿灯 HG 回路由(+)WTW → SA9-10 → HG → QF(常闭)→ KMC → FU2 → -WC 导通,绿灯闪光,发出预备合闸信号,但 KMC 仍不会启动,因回路中串有 HG 和 R。
(3)"合闸"位置
当 SA 的手柄再顺时针方向旋转 45º至"合闸"位置时,SA5-8 触点接通,接触器 KMC 回路由+WC → SA5-8 → KL2(常闭)→ QF(常闭)→KMC 线圈→ -WC 导通而启动,闭合其在合闸线圈回路中的触点,使断路器合闸。断路器合闸后,QF 常闭触点打开、常开触点闭合。
(4) "合闸后"位置
松手后,SA 的手柄自动反时针方向转动 45º,复归至垂直(即"合闸后")位置,SA16-13触点接通。此时,红灯 HR 回路由 FU1 → SA16-13 → HR → KL 线圈 → QF(常开) → YT线圈 → FU2 → -WC 导通,红灯亮,指示断路器处于合闸位置,同时表示跳闸回路完好,可以进行跳闸。
(5) "预备跳闸"位置
SA 手柄在"预备跳闸"位置时,SA13-14 导通,经(+)WTW → HR → KL → QF 常开触点 → YT → -WC 回路,红灯闪光,发出预备合闸信号。
(6) "跳闸"位置
将 SA手柄反时针方向转45º至"跳闸"位置,SA6-7导通,HR及 R被短接,经+WC → SA6-7KL → QF 常开触点→ -WC,使 YT 励磁,断路器跳闸。断路器跳闸后,其常开触点断开,常闭触点闭合,绿灯亮,指示断路器已跳闸完毕,放开手柄后,SA 复位至"跳闸后"位置。当断路器手动或自动重合在故障线路上时,保护装置将动作跳闸,此时如果运行人员仍将控制开关放在"合闸"位置(SA5-8 触点接通),或自动装置触点 KM1 未复归,断路器 SA5-8将再合闸。因为线路有故障,保护又动作跳闸,从而出现多次"跳—合"现象。此种现象称为"跳跃"。断路器若发生跳跃不仅会引起断路器毁坏,而且还将扩大事故,所谓"防跳"措施,就是利用操作机构本身机械上具有的"防跳"闭锁装置或控制回路中所具有的电气"防跳"接线,来防止断路器发生"防跳"的措施。图 4 中所示控制回路采取了电气"防跳"接线。其 KL 为跳跃闭锁继电器,它有两个线圈,一个电流启动线圈,串于跳闸回路中;另一个电压保护线圈,经过自身常开触点 KL1与合闸接触器线圈并联。此外在合闸回路中还串有常闭触点 KL2,其工作原理如下:当利用控制开关(SA)或自动装置(KM1)进行合闸时,若合在故障线上,保护将动作,KOM 触点闭合,使断路器跳闸。跳闸回路接通的同时,KL 电流线圈带电,KL 动作,其常闭触点 KL2 断开合闸回路,常开触点 KL1 接通 KL 的电压自保持线圈。此时,若合闸脉冲未解除(如 SA 未复归或 KM1 卡住等),则 KL 电压自保持线圈通过触点 SA5-8 或 KM1 的触点实现自保持,使 KL2 长期打开,可靠地断开合闸回路,使断路器不能再次合闸。只有当合闸脉冲解除(即 KM1 断开或 SA5-8 切断),KL 的电压自保持线圈断电后,回路才能恢复至正常状态。图 4 中 KL3 的作用是用来保护出口继电器触点 KOM 的,防止 KOM 先于 QF 打开而被烧坏。电阻 R1 的作用是保证保护出口回路中当有串接的信号继电器时,信号继电器能可靠动作。

图 4 具有灯光监视的断路器控制回路图(电磁操作机构)
5、带有灯光监视的断路器控制回路(液压操动机构)
液压机构的工作压力,各厂家有一定差异,以北京开关厂出品 CY3 型为例,在 20℃时,额定贮气筒压力为 11.7±0.98MPa,额定压力 17.65MPa,当温度变化 1℃时,预充压力变化0.045 MPa。图 5 中,当液压低于 14.72 MPa,合闸回路中的压力触点 SP4 断开,不允许合闸;当液压低于 13.73 MPa,跳闸回路中的压力触点 SP5 断开,不允许跳闸,如电网运行允许,也可用这个触点启动中间继电器后,作用于跳闸。当压力低于 15.72 MPa,3SP3 触点闭合,发出油压降低信号;当液压低于 16.72 MPa时,触点 SP1、SP2 闭合,启动油泵*压打**,当油压上升到 18.63 MPa 时,SP1、SP2 均断开,油泵停止*压打**。当压力低于 9.8MPa 或高于 24.5,MPa 时,由压力表的触点 PP1、PP2 启动KM3发出压力异常信号,还可以利用KM3常闭触点闭锁油泵电动机启动接触器的启动回路(图中未示出),防止当油压降到零时,启动油泵可能造成断路器的慢分事故。

图 5 具有液压操作机构的断路器控制、信号回路图

图 5 具有液压操作机构的断路器控制、信号回路图
6、带有灯光监视的断路器控制回路(弹簧操动机构)
图 6 为 SW4-110 型断路器配弹簧操作机构的断路器控制、信号回路,在其合闸线圈中串有弹簧已贮能闭锁触点 SQS1 只有弹簧贮能后,才能合闸;当设有自动重合闸,如重合于永久性故障时,弹簧来不及贮能(需 9S),故不能第二次重合。为可靠起见,仍加了"防跳"回路。当 KAC 由跳闸位置继电器的 KQT 启动时,KQT 线圈的一端应接至 SQS 与 QF 之间。如按以往接线,接于 SQS 之前,当 KAC 动作,重合于永久性故障后,此时弹簧贮能释放,SQS 打开,KQT 失电,断开 KAC 的启动回路,重合闸继电器中的电容又重新充电足够时,待弹簧重新贮能后,SQS 闭合,KQT 线圈带电,KAC 启动,又进行一次重合闸。此种情况,如不及时断开控制开关,还会反复进行多次。

图 7由两个中间继电器构成的闪光装置接线图
7、闪光装置接线图(由两个中间继电器构成)
由两个中间继电器构成的闪光装置的原理接线见图 7 图所示。当某一断路器的位置与其控制开关不对应时,闪光母线(+)WTW 经"不对应"回路,信号灯(HR 或 HG)及操作线圈(YT 或 YC)与负电源接通,KM1 启动,KM1 常开触点闭合,KM2 相继启动,其常开触点将 KM1线圈短接,并使闪光母线直接与正常电源沟通,信号灯(HR 或 HG)全亮;当 KM1 触点延时断开后,KM2 失磁,其常开触点断开,常闭触点闭合,KM1 再次启动,闪光母线(+)WTW 经KM1 线圈与正电源接通,"不对应"回路中的信号灯呈半亮,重复上述过程,便发出连续的闪光信号。KM1 及 KM2 带延时复位,是为了使闪光变得更加明显。图 7 中,试验按钮 SE 的信号灯 HW 用于模拟试验。当揿下 SE 时,闪光母线(+)WTW 经信号灯 HW 与负电源接通,于是闪光装置便按上述顺序动作,使试验灯 HW 发出闪光信号。HW经按钮的常闭触点接在正、负电源之间,因而兼作闪光装置熔断器的监视灯。

图 7由闪光继电器构成的闪光装置接线图
8、闪光装置接线图(由闪光继电器构成)
图 8 中,由 KM、R、C 组成闪光继电器。按下按钮 SE 时,它相当于一个不对应回路,闪光母线与负电源接通,闪光继电器 KTW 的线圈回路接通 ,电容器 C 经附加电阻 R 和"不对应"回路中的信号灯充电,于是加在 KM 两端的电压不断升高,当达到其动作电压时,KM 动作,其常开触点 KM.2 闭合,闪光母线(+)WTW 与正电源直接接通,信号灯全亮。同时其常闭触点 KM.1 断开它的线圈回路,电容 C 便放电,放电后,电容 C 的端电压逐渐降低,待降至 KM 的返回电压时,KM 复归,KM.2 断开,KM.1 闭合,闪光母线经 KM、KM.1 与正电源接通,信号灯呈半亮。重复上述过程,便发出连续闪光。

闪光装置接线图(
9、中央复归能重复动作的事故信号装置原理图
常用中央复归能重复动作的事故信号装置。所谓中央复归能重复动作的事故信号,是指断路器自动跳闸后,为使值班人员不受音响信号长期干扰而影响事故处理,可以保留绿灯闪光信号而仅将音响信号立即解除。图 9 中 KSP1 为 ZC-23 型冲击继电器,脉冲变流器 T 一次侧并联的二极管 V 和电容器 C起抗干扰作用;二次侧并联的二极管 V 的作用是将 T 的一次侧电流突然减小而在二次侧感应的电流旁路,使干簧继电器 KR 不误动(因干簧继电器动作没有方向性)。其原理是当断路器事故分闸或按下试验按钮 SE1 时,脉冲变流器 T一次绕组中有电流增量,二次绕组中感应电流起动 KR,KR 动作后起动中间继电器 KM。KM 有两对触点,一对触点闭合起动蜂鸣器 HB,发出音响信号;另一对触点闭合起动时间继电器 KT1,经一定延时后,KT1 起动 KM1,KM1动作后,使 KM 失磁返回,音响停止,整个事故信号回路恢复到原始状态。准备第二台断路器跳闸时发出音响,不对应启动回路如图 10。图 9 中常开触点 KM2 是由预告信号装置引来的(见图 11),所以自动解除音响用的时间继电器 KT1 和中间继电器 KM1为两套音响信号装置所共用。为能试验事故音响装置的完好与否,另设有试验按钮 SE1,按 SE1 时,即可启动 KSP1,使装置发出音响并按上述程序复归至原始状态。按下手动复归按钮也可使音响信号解除。

图 9 用 ZC-23 型冲击继电器构成的事故信号装置的回路图

10、预告信号装置原理图
预告信号装置是当设备发生故障或某些不正常运行情况时能自动发出音响和光字牌灯光信号的装置。它可帮助运行人员及时地发现故障及隐患,以便采取适当措施加以处理,防止事故扩大。变电所常见的预告信号有:变压器轻瓦斯动作、变压器过负荷、变压器油温过高、电压互感器二次回路断线、直流回路绝缘降低、控制回路断线、事故音响信号回路熔断器熔断、直流电压过高或过低等。预告信号一般发自各种监测运行参数的单独继电器,例如过负荷信号由过负荷保护继电器发出。预告信号分瞬时预告信号和延时信号两种,对某些当电力系统中发生短路故障可能伴随发出的预告信号,例如:过负荷、电压互感器二次回路断线等,都应带延时发出,其延时应大于外部短路的最大切除时限。这样,在外部短路切除后,这些由系统短路所引起的异常就会自动消失,而不让它发出警报信号,以免分散运行人员的注意力。目前,广泛采用的中央复归带重复动作的预告信号装置,其动作原理与事故音响信号装置相同,所不同的是只是用光字牌灯泡代替了事故音响信号装置不对应启动回路中的电阻R,并用警铃代替了蜂鸣器,图 11 所示为由 ZC-23 型冲击继电器构成的中央复归能重复动作瞬时预告信息装置接线图,其动作原理与图 9 相似,图中 KM1 由图 15 引来,用以自动解除
音响,WSW1 和 WSW2 为瞬时预告小母线。当设备发生不正常情况时,例如控制回路断线,则 KBC2 动作,其常开触点闭合,通过回路+WS→KBC2 常开触点→HP2→WSW1 和 WSW2→ST13-14→ST15-16→KSP2→-WS,使 KSP2 动作,触点 KM2 闭合,使警铃 HA 发出音响信号,同时光字牌 HP2 示出"控制回路断线"信号,按下解除按钮 SCL,音响即可解除(也可经一定延时,自动解除),而光字牌信号直到故障消除,KBC2 触点返回才会消失。由于采用了 ZC-23 型继电器,因而信号是可以重复动作的。为能经常检查光字牌灯泡的完好性,设有转换开关 ST。处于"合"位时,ST 触点 1-2、3-4、5-6、7-8、9-10、11-12 全接通,分别将信号电源+WS 和-WS 接至小母线 WSW2 和 WSW1,使光字牌所有的灯泡亮。发预告信号时,两只灯泡是并联的,灯泡明亮,当其中一只灯泡损坏时,仍能保证发出信号。而试验光字牌时,两只灯泡则是串联的,因而灯光较暗,此时若一只灯泡损坏则该光字牌即不亮。
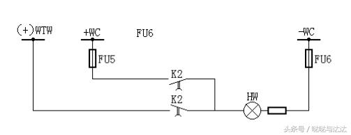
预告信号装置由单独的熔断器 FU3、FU4 供电,若 FU3 或 FU4 熔断则不能发出预告信号,所以对熔断器电源采用了灯光监视的方法。图 11 为预告信号装置的熔断器监视灯接线图。正常运行时,熔断器监视继电器 K2 带电,其常开触点闭合,中央信号屏上的白色指示灯 HW亮;当 FU3 熔断时,K2 失电,其常闭触点闭合,HW 被接至闪光小母线(+)WTW 上发出闪光。

图 11 用 ZC-23 型冲击继电器构成的中央复归能重复动作瞬时预告信号装置的回路图

图 12 预告信号装置的熔断器监视灯接线图