研究法拍,点评法拍,让你避免踩坑"——在阅读此文之前,麻烦您点击一下“关注”,既方便您进行讨论和分享,又能给您带来不一样的参与感,感谢您的支持[玫瑰]
[法拍点评研究】第097例
法拍网上的标的拍品,经常会把人都搞到魔怔了!就比如我们今天要点评的这一间南京市秦淮区太平南路的商铺,从法院的所拍的照片和提供的信息来看,这个店铺就是一间很普通的商铺而已,既不是黄金角位置的头铺,也不是公交站地铁站出口的旺铺,为何会遭到众多买家的哄抢呢?





就是这样一间普通的不能够再普通的商铺,详细地址是:南京市秦淮区太平南路168号 -29 不动产,钢筋混凝土结构;总层数 18 层,所在层为 1 层。建筑面积 52.72 平方米,套内建筑面积 51.26 平方米。建筑年代为 2015 年。 有租赁,租赁期自2018年5月15日至2023年5月14日止。
有租赁合同在,但是租赁合同还剩两个月就到期了(我还在怀疑这个租赁合同是否原业主故意弄来吸引新买家接盘的)。再看看租赁合同里的租金条款:

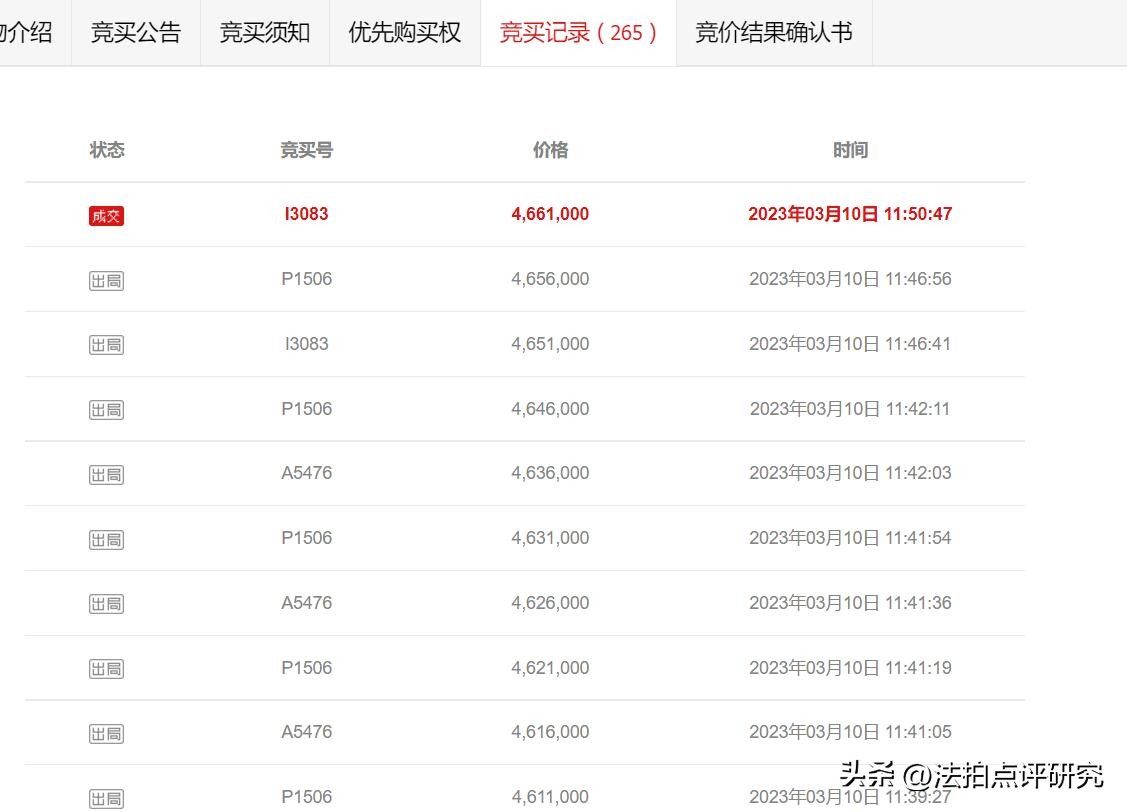
满打满算,按目前的租金来算,一年也就25万左右!而成交价格466万,以目前的租金算,年化率5.3%左右,要18.6年才可以回本! 别忘记了,466万只是竞拍价格,还有税费没有算,如果计算上税费,已经接近500万左右了!那回本周期应该要超过20年了,这样低的回报率的店铺,为何还有这么多人去抢拍呢?这才是问题关键!!

如此低的回报率,竟然有 15人 交了保证金去参与竞拍,竟然轮番争夺竞价了 265次 ,难道这些竞拍的人都不会算回报率吗?有这近500万的现金,做点什么投资,哪怕买大额存单,收益都比这个租金回报率高吧!而店铺还要承担空租期的风险,还有物业费的支出等。
真是看不懂这个店铺的法拍,高价成交的逻辑是什么。
你们能够看的懂这店铺法拍后面的内幕吗?
【法拍点评研究】总结:
感觉这个店铺,大概率又是房产中介公司联合业主一起坐庄,制作了假合同,假的租户,找几个马甲主动报名竞拍,吸引不懂法拍的小白来参与法拍,做最后的接盘侠!这些小白在看着法拍页面倒计时,估计心态都乱了,都忘记核算成本高低了! 要不,有点脑子的人,都不会花如此高额的价格买入这样价值不大的店铺的,你觉得我这样的分析对吗?
欢迎各位也发表自己的看法!