王文州 崔立川 张富有
广东省南粤交通投资建设有限公司 中交公路规划设计院有限公司 河海大学岩土力学与堤坝工程教育部重点实验室
摘 要: 锚碇基础的安全性和稳定性是大型悬索桥梁设计的关键,对桥梁的安全运营至关重要。西江特大桥创新性地采用“通道锚”锚碇基础,目前境内尚无该种锚碇基础结构的设计理论经验。根据西江特大桥“通道锚”锚碇基础现场监测数据,模拟整个施工过程,对“通道锚”锚碇基础的地基参数进行三维有限元仿真反演分析;将反演出的锚碇基础基底各测点处的竖向应力与同期实测结果进行对比,发现所得结果与实测数据吻合较好;证明所采用的反分析方法是正确的。最后利用反分析所得地基参数对锚碇基础及地基进行三维有限元仿真正分析,并对比研究了通道锚锚碇基础前趾区域地基素混凝土回填处理的应力变形结果,证明“通道锚”锚碇基础设计合理。
关键词: 悬索桥;通道锚;锚碇基础;反演分析;

清云高速公路西江特大桥由于采用普通锚碇基础会对主塔受力及自身相关构造产生不利影响,因此创新性地提出将锚碇上移至桥面以上,行车道从锚碇基础中穿过,该方案称为“通道锚”方案。对这种锚碇基础,境内尚无相应的基础结构的设计理论经验。为准确掌握该种锚碇基础施工和运营过程中的应力变形情况,在基础顶板一定区域和基底埋设了相应的应力测试仪器,实测基础顶板以及地基在施工阶段和运营阶段的地基应力情况。截止目前大桥已经建成通车,在建设和运营过程中积累了大量的观测资料。因此,本文采用有限元反演分析的方法来研究“通道锚”锚碇基础在建造和运营期的应力变形特性及地基基础的稳定性。首先利用反分析法,根据已有的锚碇基底应力实测数据,反分析出地基土的有关参数;然后进行有限元正分析,预测运营期桥梁锚碇基础的应力变形,为桥梁的运营管理提供决策依据。
1 通道锚锚碇基础及地基的反分析方法
反分析法在岩土工程领域运用较多[7,8,9,10]。它以观测点的沉降或应力等观测值 Vi 0和有限元计算的这些观测点的计算值 Vi 之间的差值与该点观测值(基准值)之比的绝对值的和作为目标函数 f ,通过复合形法优化迭代[11,12],寻找目标函数 f 的最小值,而这时有限元计算所用的各种材料的参数即认为是这些材料的参数“真值”,即所谓的最优参数。
f=∑i=1m∣∣∣Vi−Vi0Vi0∣∣∣ (1)f=∑i=1m|Vi-Vi0Vi0| (1)
式中: m 为观测点个数。以前,一般用观测值与计算值的差之平方和作为目标函数,这种目标函数只能适用于观测值仅为一种变量的情况,要么是沉降、要么是水平位移、要么是某种应力。如果几种变量同时用来反演时,由于不同的变量之间没有可比性,只能用观测值与计算值之间的相对误差来建立目标函数[13],因此,采用式(1)所示的目标函数。采用复合形法的最优化方法,用Fortran语言编制相应的程序,然后调用Abaqus进行三维有限元分析。
2 “通道锚”锚碇基础反分析有限元模型
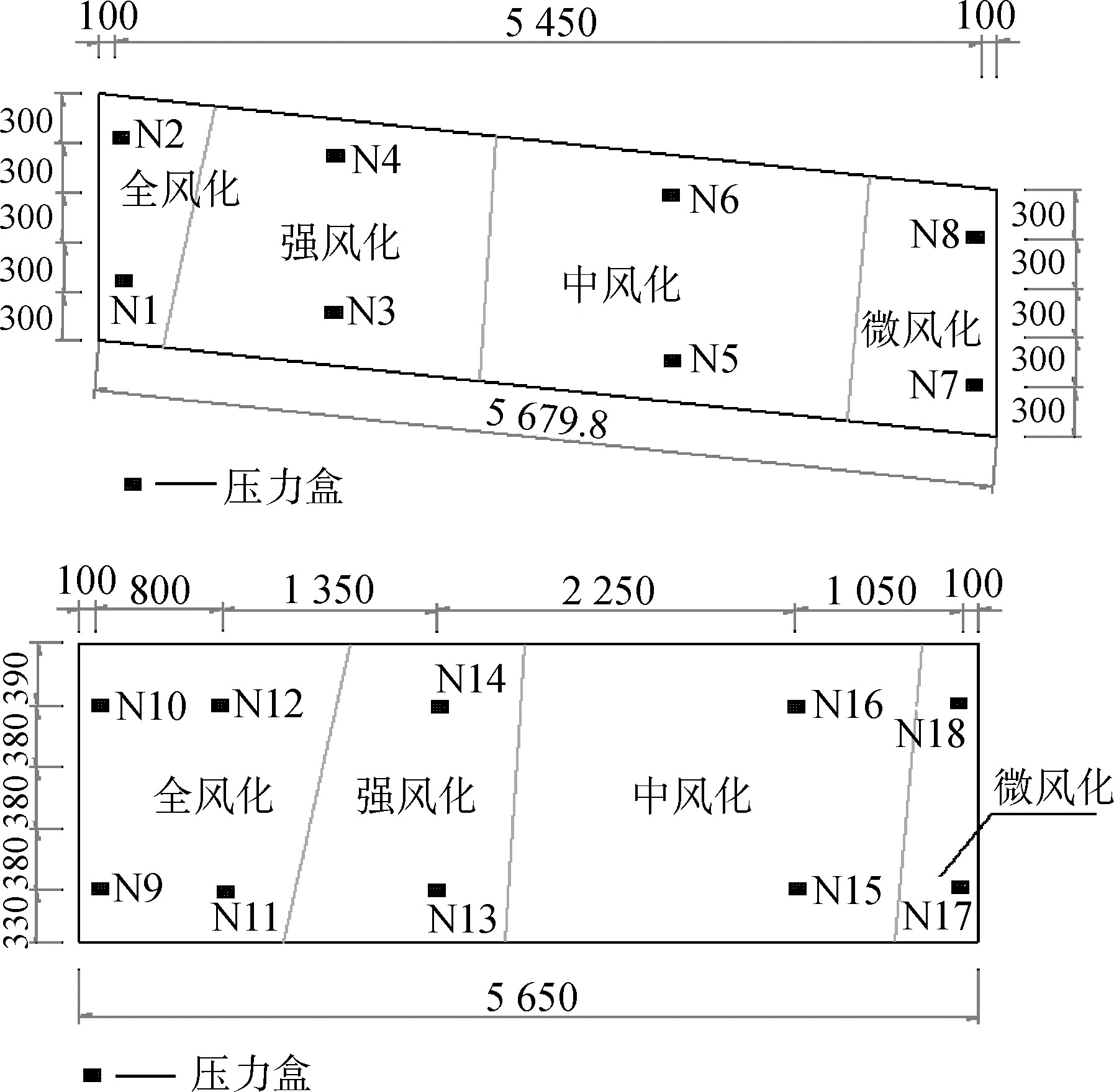
西江特大桥云浮侧“通道锚”锚碇基础构造如图1所示。里程桩号为K115+866,IP点高程为102.5 m, 锚体基础顺桥向长度58 m, 横桥向长度前趾为54.2 m, 后趾长度为60.4 m。锚体横向采用分离式,单个锚体横向宽度14.8 m, 两个基础中间设置横梁以支撑锚体、前锚室、支墩的重量,横梁高度为11 m, 支墩高度为30.66 m, 支墩横向宽度为10 m。锚碇基础、后锚体均采用C30混凝土,横梁、前锚室、前支墩采用C40混凝土。

图1 云浮侧锚碇基础构造 *载下**原图
单位:cm
图2为锚碇基础及地基有限元网格模型,有限元网格模型采用实体单元, x 轴方向为沿锚碇中心线方向指向云浮侧,以锚碇位置为中心位置,顺桥向长度取约235 m范围,横桥向取约250 m范围, z 轴竖直向上,锚碇基础以下的地层深度取基础底面设计高程以下41 m。按钻孔资料,地层情况从上至下分别为粉质黏土、全风化花岗岩、强风化花岗岩、中风化花岗岩及微风化花岗岩,采用摩尔库伦弹塑性模型。在基础和地基之间设置薄层单元,以监测两者之间的相互作用。预应力钢束及主缆施加于锚碇的荷载转化为后锚体前锚面和后锚面以及支墩面上的荷载。进行锚碇基础施工全过程三维仿真模拟研究时,荷载共分为4级进行:第1级为地基在自重作用下的初始应力状态;第2级为锚碇基础及承台横梁的施工;第3级为锚碇后锚体、前锚室及支墩施工;第4级为施加桥梁运营期预应力荷载及主缆荷载。

图2 云浮侧锚碇三维有限元网格图示 *载下**原图
反演分析在进行优化迭代时通常要进行几百次甚至上万次的有限元计算,是一项计算工作量特别大的工作。参与反演分析的基准值及参数越多,需要迭代的次数越多。因此,没有必要对所有地基参数都进行反演,锚碇基础基底下面的主要土层为微风化花岗岩、中风化花岗岩、强风化花岗岩和全风化花岗岩,故选取对锚碇基础应力变形影响较大的中风化、强风化及全风化基岩材料的参数进行反演分析。
3 基底压力的监测与地基土参数反分析
在“通道锚”锚碇基础基底的地基内布置土压力测点,具体位置见图 3 。图 3 中在左支墩下布置了 8 个测点,右支墩下布置了 10 个测点;分别对基础施工完成、锚块及散索鞍支墩施工完成、预应力张拉完成、前锚室施工完成及成桥后等各施工阶段进行监测,并对这些监测数据进行分析,选取N 3 、N 4 、N 7 、N 10 、N 14 及N 17 共 6 个点的竖向应力数据作为反演基准值。
反演的初始材料参数见表 1 ,表 2 列出了用于反演分析的各测点的竖向应力值,经有限元反分析最终得到各参与优化的基岩参数的“最优值”,如表 3 所示。从反分析得到的优化参数看,与初始参数(表 1 )相比较,强风化基岩 v 由 0.3 增加到 0.35 ,中风化和全风化基岩的 v 值和初始参数差别较小。 3 种材料的 K 值中风化和强风化基岩有不同程度的增加,中风化基岩由原来的 1 000 MPa增加到 2 009.5 MPa, 强风化基岩 E 值由 100 MPa增加到 172.7 MPa, 说明对这两种基岩参数存在一定的低估。

图3 土压力盒布置 *载下**原图
单位:cm
表1 反演采用的有限元模型材料参数初值 导出到EXCEL
|
材料 |
r/(g·cm-3) |
j/(°) |
c/kPa |
E/MPa |
v |
|
粉质黏土 |
1.90 |
9 |
14.5 |
9 |
0.35 |
|
全风化花岗岩 |
1.98 |
20 |
35 |
70 |
0.35 |
|
强风化花岗岩 |
1.98 |
30 |
35 |
100 |
0.30 |
|
中风化花岗岩 |
1.98 |
38 |
100 |
1 000 |
0.25 |
|
锚碇底面全风化岩石 |
1.98 |
20 |
15 |
70 |
0.35 |
|
锚碇底面强风化岩石 |
1.98 |
30 |
15 |
100 |
0.30 |
|
锚碇底面中风化岩石 |
1.98 |
38 |
50 |
1 000 |
0.25 |
|
微风化花岗岩 |
1.98 |
- |
- |
3 500 |
0.25 |
|
C40混凝土 |
2.5 |
/ |
/ |
32 500 |
0.17 |
|
C30混凝土 |
2.5 |
/ |
/ |
30 000 |
0.17 |
表2 施工各阶段测点监测值 导出到EXCEL
|
测点号 |
各阶段支墩下测点应力/kPa |
|||||
|
基础完工 |
散索鞍支墩完工 |
预应力张拉完成 |
前锚室施工完成 |
成桥第1年 |
成桥第2年 |
|
|
N3 |
-396 |
-487 |
-488 |
-496 |
-461 |
-482 |
|
N4 |
-181 |
-659 |
-658 |
-663 |
-459 |
-591 |
|
N7 |
-940 |
-839 |
-840 |
-851 |
-788 |
-940 |
|
N10 |
-504 |
-553 |
-553 |
-581 |
-676 |
-881 |
|
N14 |
-411 |
-814 |
-814 |
-827 |
-728 |
-514 |
|
N17 |
-673 |
-839 |
-839 |
-848 |
-768 |
-595 |
表3 三维有限元反分析得到的材料优化参数 导出到EXCEL
|
材料名称 |
参与优化的参数最优值 |
|
|
E/MPa |
v |
|
|
中风化基岩 |
2 009.5 |
0.25 |
|
强风化基岩 |
172.7 |
0.35 |
|
全风化基岩 |
61.6 |
0.34 |
4 “通道锚”锚碇基础及地基正分析
4.1锚碇基底测点竖向应力
采用反分析所得地基参数,对通道锚锚碇基础及地基进行三维有限元仿真分析,反演的各施工及运营阶段计算值列于表4中,因篇幅有限这里只给出4个点的反演值,并将其和实测值进行对比。从表中可以看出,反演后计算的前锚室施工完成阶段计算值和实测值相差最小,平均误差为10%;该阶段实测值和计算值最大相差点为N17,计算值为594.5 kPa, 实测值为848 kPa, 相差29.9%;最小相差点为N14,计算值为827 kPa, 实测值为848.1 kPa, 相差2.6%。根据反演的结果看,反演各点的计算值与实测值还是比较接近的,误差在30%以内,尤其在前锚室施工完成阶段。说明反分析所得地基参数较为合理,正分析计算结果较为可信。
表4 各阶段各测点优化计算压力与实测压力比较 导出到EXCEL
kPa
|
实测点 |
散索鞍支墩完工阶段 |
前锚室施工完成时 |
运营第2年 |
||||||
|
实测压力 |
反分析压力 |
相对误差 |
实测压力 |
反分析压力 |
相对误差 |
实测压力 |
反分析压力 |
相对误差 |
|
|
N4 |
-659 |
-434.8 |
0.34 |
-496 |
-470.1 |
0.052 |
-591 |
-720.1 |
0.22 |
|
N7 |
-839 |
-666.9 |
0.20 |
-851 |
-808.3 |
0.050 |
-940 |
-1 211 |
0.29 |
|
N10 |
-553 |
-473.9 |
0.14 |
-581 |
-611.4 |
0.052 |
-881 |
-700.9 |
0.20 |
|
N14 |
-814 |
-564.7 |
0.30 |
-827 |
-848.1 |
0.026 |
-514 |
-434.7 |
0.15 |
4.2锚碇基础的应力与位移
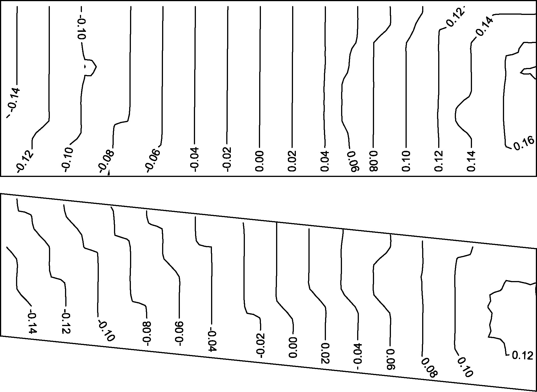
图4给出了正分析桥梁运营期锚碇基础底面沉降等值线分布,从图中可以看出,锚碇基础基底沉降分布规律表现为前趾沉降大于后趾沉降,基底最大沉降为0.42 cm; 沉降分布前趾大于后趾的原因应该是主缆缆力引起的。图5给出了缆力作用引起的锚碇基础基底沉降等值线分布,图中显示缆力引起的锚碇基础前趾沉降0.16 cm, 后趾向上抬升约0.17 cm, 基本呈刚体稍微转动。

图4 桥梁运营期锚碇基底竖向位移等值线 *载下**原图
单位:cm

图5 缆力作用引起的锚碇基底沉降等值线 *载下**原图
单位:cm
图6为桥梁运营期正分析锚碇基础底面顺桥向水平位移等值线分布图,从数值看,最大顺桥向水平位移为0.06 cm, 不会引起锚碇滑动。图7给出了桥梁运营期锚碇基础基底竖向应力等值线分布,图中显示,竖向应力分布基础前趾区域大于后趾的,这与前趾地基进行了素混凝土回填有关,最大竖向应力1.46 MPa, 其他大部分区域的值在400 kPa和1 000 kPa之间,这与测点测得的值较为一致。

图6 桥梁运营期锚碇基底顺桥向水平位移等值线 *载下**原图
单位:cm

图7 桥梁运营期基底竖向应力等值线 *载下**原图
单位:MPa
4.3锚碇基础基底前趾区域素混凝土回填效果分析
对锚碇基础基底前趾区域不进行素混凝土回填,然后进行三维有限元分析,整理桥梁运营期锚碇基础基底的顺桥向水平位移等值线和竖向位移等值线,见图8和图9。对比图6和图8、图4和图9发现,基底顺桥向最大水平位移在不进行素混凝土回填时增加到了0.62 cm, 竖向最大沉降增加到了4.14 cm。说明在前趾区进行素混凝土回填,对提高锚碇的整体稳定性效果明显。
5 结语
锚碇基础的安全性和稳定性是大型悬索桥梁设计的关键。西江特大桥采用“通道锚”锚碇基础,是一种新型的锚碇基础型式,目前境内尚无设计理论经验。新型锚碇基础受力复杂,为准确掌握锚碇基础施工和运营过程中的应力变形情况,有必要对其地基参数进行反演研究。本文采用合适的反演分析方法,根据西江特大桥“通道锚”锚碇基础现场监测数据,模拟整个锚碇施工全过程,对“通道锚”锚碇基础的地基参数进行三维有限元仿真反演分析;将反演出的锚碇基础基底各测点处的竖向应力与同期实测结果进行对比,所得结果与实测数据吻合较好;证实所采用的反分析方法基本正确。利用反分析所得地基参数对锚碇基础及地基进行三维有限元仿真正分析,并对比了通道锚锚碇基础前趾区域地基素混凝土回填处理的应力变形结果,证明“通道锚”锚碇基础设计合理。

图8 桥梁运营期锚碇基底顺桥向水平位移等值线 (地基未回填混凝土) *载下**原图
单位:cm

图9 桥梁运营期锚碇基底竖向位移等值线 (地基未回填混凝土) *载下**原图
单位:cm
参考文献
[1] 张宜虎,邬爱清,等.悬索桥隧道锚承载能力和变形特征研究综述[J].岩土力学,2019,40(9):3576-3584.
[2] 王东英,汤华,等.隧道锚承载特性及其破坏模式探究[J].岩石力学与工程学报,2019,38(S2):3374-3383.
[3] 刘秀敏,陈从新,等.西江特大桥岩锚锚碇的承载特性研究[J].岩土力学,2013,34(1):196-202.
[4] 朱晓文,赵启林,等.润扬大桥北锚碇基础三维数值仿真分析[J].东南大学学报:自然科学版,2005,35(2):293-297.
[5] 李文胜,赖允瑾,等.悬索桥锚碇结构2D有限元数值模拟与分析[J].地下空间与工程学报,2009,(S2):1768-1775.
[6] Wen Rong Yan,Yonghui Liu,etc.A Study on Internal Force Monitoring and Back Analysis of Supporting and Protecting Structure of Rock Deep Foundation.Applied Mechanics and Materials[J],2011,Vol(1366):4717-4720.
[7] 徐中华,李靖,等.深基坑工程坚向弹性地基梁法中m值反分析[J].建筑结构,2020,(1):1000-1006.
[8] Yixuan SUN,LuLu Zhang,etc.Characterization of spatial variability with observed responses:application of displacement back estimation[J].Journal of Zhejiang University-SCIENCE A (Applied Physics & Engineering),2020,21(6):478-495.
[9] 孙钱程,李邵军,等.基于位移和松弛深度的岩体参数概率反分析方法[J].岩石力学与工程学报,2019,38(9):1884-1894.
[10] 陈静,江权,等.基于位移增量的高地应力下硐室群围岩蠕变参数的智能反分析[J].煤炭学报,2019,44(5):1446-1455.
[11] 朱俊高,*克王**东,等.地基固结变形反分析研究[J].岩土力学,2005,26(S1):201-204.
[12] 朱俊高,殷宗泽.土体本构模型参数的优化确定[J].河海大学学报:自然科学版,1996,24(2):68-73.
[13] 钱家欢,殷宗泽.土工原理与计算[M].北京:中国水利水电出版社,1996.

声明: 我们尊重原创,也注重分享。有部分内容来自互联网,版权归原作者所有,仅供学习参考之用,禁止用于商业用途,如无意中侵犯了哪个媒体、公司、企业或个人等的知识产权,请联系删除,另本头条号推送内容仅代表作者观点,与头条号运营方无关,内容真伪请读者自行鉴别,本头条号不承担任何责任。