
《车矩阵》行业事件:作为宝马家族最为经典的标志性设计,“双肾”格栅成为烙印般存在,不论车型如何更新变化,由小变大或者由大到小的变化,人们一眼就能认出是宝马旗下车型。自宝马全新4系“双肾”格栅起,宝马部分车型开始采用变大了的格栅,习惯了宝马双肾格栅的用户对于这种全新的设计感到非常突兀,难以接受。



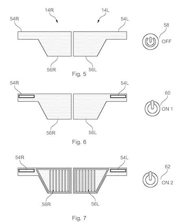
不过随着近期宝马最新关于中网与内部格栅的设计专利图的曝光,彻底颠覆了人们对于宝马全新设计语言的认知,面积超大、棱角分明,科技含量非常高,最大的特点是将前大灯放在保护屏后面,由PC塑料材质打造的格栅外层内部配备多个LED光源,工艺非常先进和特别。通俗说就是“双肾”格栅内集成灯组、中网及各种显示图样,不再需要其它传统零部件。

科技感极强的宝马全新“双肾”格栅专利图虽说还有很长一点时间才能实现装配到量产车型上,但仅从专利图来看,宝马这种完全“天马行空”的设计有点放飞自我,有网友调侃说恰似戴了一副暴龙眼镜。宝马一贯的前脸设计有点审美疲劳,这种大胆手法还是让人们看到了宝马从增强科技感上入手的决心,有了豪华属性和操控属性,再来一波科技属性,宝马的布局值得你细品。