若是循规蹈矩,当家里人强烈反对的时候,聂腾云就不会离开申通另起炉灶。
若是见好就收,韵达就不会屡拒阿里,成为马云最难啃的“骨头”。
1.
有想法的人,一开始就不一样
1993年,聂腾云的哥哥聂腾飞在上海创立了申通,被誉为中国民营快递的鼻祖。天妒英才,1997年聂腾飞在工作中因车祸意外身亡。
聂腾云本可以跟嫂子陈小英一起执掌申通,让家族的“血统”得以传承,也符合长辈的心愿。

只是彼时申通大权掌握在陈德军兄妹手上,以史为鉴,上至帝王之家,下至黎民百姓,内斗导致的衰败比比皆是。
聂腾云是一个明白人,他似乎遇见到了未来的结局,果断离开申通,创立韵达,打造属于自己的快递帝国,重燃聂家快递“鼻祖”的光环。
时间证明了聂腾云“力排众议”的正确性,韵达成为民营快递中的佼佼者,正在向通达系第一的宝座进攻。
韵达也成为“四通一达”中唯一没有“通”的快递,这个“通”是通向阿里。
马云曾不费吹灰之力接连拿下“四通”,但偏偏奈何不了韵达,马云甚是头痛。因为这不仅关乎版图的完整性,更关乎威望。

无论怎样,阿里都要对韵达“下手”。几次三番地向韵达释放友好信号,私下交流。
终于在今年3月,资本市场放出利好,称阿里将从韵达创始人聂腾云手中收购至少10%的股份。
落花有意,流水无情。4月29日,据韵达2019年财报显示,阿里位列第八大股东,持股比例仅为2%。
显然,聂腾云不为金钱所动。马云说过,他对钱没有兴趣。没想到遇到了一个同样对钱没兴趣的对手。
不过,阿里终究是在韵达那开了一条缝,所有媒体还是认为“马云赢了”。
2.
出事了,韵达批量注册电商公司
聂腾云夫妇合计持有韵达股份至少55%,属于绝对控股,纵使阿里“捡”完所有二级市场的货,也无法控股韵达,马云难赢。
韵达不站队,肯定是有原因的。对此众说纷纭,有的说,聂腾云不想成为阿里高管;有的说,韵达想造快递第四极;有的说,韵达的“王者”基因注定要建自己的帝国;有人说,聂腾云在下一盘大棋……
韵达确实在下一盘大棋,最近风清注意到,韵达注册公司不是一家一家的,而是“批发式”的。

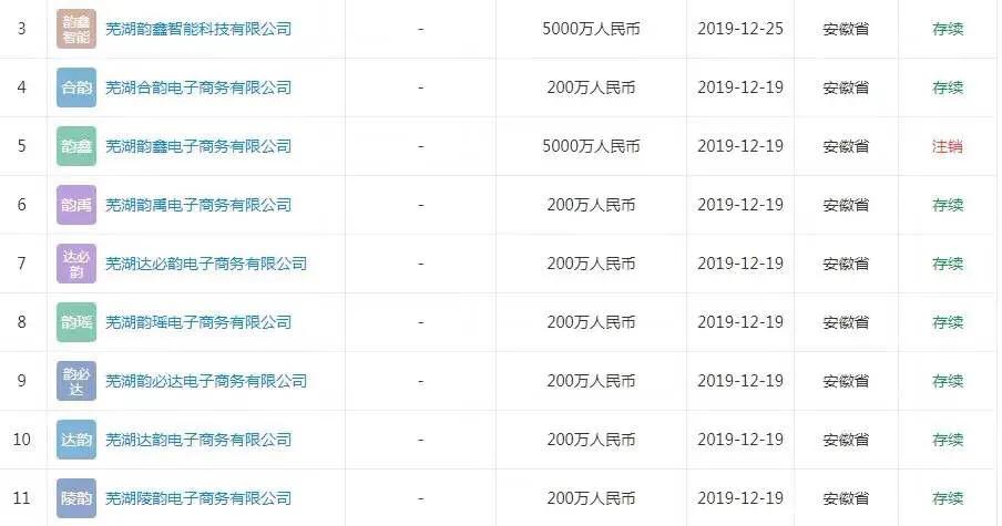
风清通过天眼查获悉,6月1日至6月8日,韵达的关联公司斥资5800万元成立了5家电商公司。分别是:温州韵泰电子商务有限公司、昆明韵达电子商务有限公司、永安韵松电子商务有限公司、永安韵吉电子商务有限公司、永安韵安电子商务有限公司。
这些公司的最终受益人都指向创始人聂腾云,这绝不是他一时头脑发热干出的事。
时间推到去年12月初,韵达成立了广州韵必达电子商务有限公司,接着韵达旗下上海韵达货运以6400万元批量成立了8家电商公司,背后的大佬也都指向聂腾云。
种种迹象表明,韵达要搞事情了,而且是大事情。

此时我们可以透过现象看本质,或许能顺藤摸瓜找到韵达屡拒阿里的深层原因。
3.
快递做电商模式不通,韵达重蹈覆辙?
读到这里,你肯定会不屑一顾,认为风清故弄玄虚,绕这么大一圈,不就是要说韵达要做电商吗?
实际上,快递公司做电商早已经是太阳底下的事了——不新鲜。
2010年8月,顺丰“E商圈”开始运营;2012年7月,申通上线“爱买网超”电商平台;2013年1月,中通推出中通优选;2017年4月,2017年4月日前,圆通上线“圆通妈妈商城”。
物流企业做电商最执着的人当属顺丰王卫,十年来可谓屡败屡战,最终成为快递企业干电商的天花板。

连王卫这样的物流大佬干电商都失败了,第二梯队的物流企业就更难有所作为了。
实际上,韵达曾于2014年上线过海淘代购网站“易购达”,2015年也上线过跨境电子商务平台优递爱,但都不尽如人意。
所以说此时韵达高调入局电商是说不通的,那韵达半年时间成立了十几家电商公司,意欲何为?
想干电商的人如果不了解下黄峥就不要干了。当年黄峥还在做电商代运营的时候,机缘巧合认识了王卫。
当时王卫正带领顺丰杀入电商,黄峥知道后,问了一句,你见过哪家快递公司做电商做成的?确实到目前为止还没有。
那是因为没有拼多多,当拼多多崛起后,便是求变的时候。
拼多多是韵达重要的客户,聂腾云对拼多多的M2C模式一定不陌生,而阿里也对此模式寄予厚望。
聂腾云或许从这里找到了切入电商领域的灵感,从1688那里分一杯羹。
4.
韵达谋局,杀入1688腹地
任何事件都不是孤立的,风清联想到了5月24日韵达入股德邦之事。
对电商而言,韵达快递是从商家直达用户,而德邦可以看做是厂家批量直达商家。
韵达或许要对电商源头“下手”,以物流优势为基础,建立自己的供应链体系杀入1688的腹地,变被动为主动。

首先,从战略上讲,韵达已经补齐了物流基础设施最后一环。
德邦的优势在于大件快运,韵达成为德邦第二大股东之后,其在物流和货运上的短板就不存在了,韵达综合实力得到极大提升。
从此韵达牢牢地抓住了厂家和消费者两端的通道,如今批量注册电商公司,一条暗线浮出水面。
其次,韵达成立的电商公司有明显的地域特征。
风清通过对比发现,韵达两次“批量式”成立的公司地域性很强,主要集中在安徽芜湖、浙江温州和福建永安。
这些地方隐藏了成千上万的中小型工厂,具有大量的优势产业带,制造能力极强。但同时这些中小型工厂集中度低,电商化不足。
如果能以此为切入点,将这些产业带的优势发挥出来,通过资本运作形成规模化,踩上发光发热的M2C经济风口,新版1688呼之欲出。
韵达是如何找到这个突破口的?2020年2月26日,国家出台了《关于促进快递业与制造业深度融合发展的意见》,快递业与制造业融合发展必是大势所趋。
在时代的洪流下,韵达能成为中流砥柱吗?
