

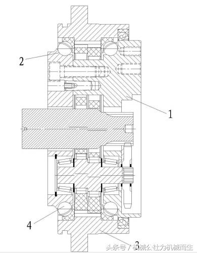
摆线减速器需要转动,在现有技术中,为了使摆线减速器本体得以转动,采用了非常复杂的结构。

减速器本体,还包括轴承,轴承包括内圈、外圈以及位于内圈和外圈之间的*珠钢**,减速器本体的外缘即为轴承的内圈。轴承为角接触轴承。在减速器本体外套设轴承,通过十分简单的结构实现了摆线减速器可转动的问题。


【机械公社】致力于提供机械的行业技术 ,更多行业技术请关注 机械公社圈

机械公社——为机械而生




摆线减速器需要转动,在现有技术中,为了使摆线减速器本体得以转动,采用了非常复杂的结构。

减速器本体,还包括轴承,轴承包括内圈、外圈以及位于内圈和外圈之间的*珠钢**,减速器本体的外缘即为轴承的内圈。轴承为角接触轴承。在减速器本体外套设轴承,通过十分简单的结构实现了摆线减速器可转动的问题。


【机械公社】致力于提供机械的行业技术 ,更多行业技术请关注 机械公社圈

机械公社——为机械而生

