减压阀是通过调节,将进口压力减至某一需要的出口压力,并依靠介质本身的能量,使出口压力自动保持稳定的阀门。从流体力学的观点看,减压阀是一个局部阻力可以变化的节流元件,即通过改变节流面积,使流速及流体的动能改变,造成不同的压力损失,从而达到减压的目的。然后依靠控制与调节系统的调节,使阀后压力的波动与弹簧力相平衡,使阀后压力在一定的误差范围内保持恒定。
基本介绍
性能
(1)调压范围:它是指减压阀输出压力P2的可调范围,在此范围内要求达到规定的精度。调压范围主要与调压弹簧的刚度有关。
(2)压力特性:它是指流量g为定值时,因输入压力波动而引起输出压力波动的特性。输出压力波动越小,减压阀的特性越好。输出压力必须低于输入压力—定值才基本上不随输入压力变化而变化。
(3)流量特性:它是指输入压力—定时,输出压力随输出流量g的变化而变化的持性。当流量g发生变化时,输出压力的变化越小越好。一般输出压力越低,它随输出流量的变化波动就越小。
它可将阀前管路较高的液体压力减少至阀后管路所需的水平。这里的传输介质主要是水。减压阀广泛用于高层建筑、城市给水管网水压过高的区域、矿井及其他场合,以保证给水系统中各用水点获得适当的服务水压和流量。鉴于水的漏失率和浪费程度几乎同给水系统的水压大小成正比,因此减压阀具有改善系统运行工况和潜在节水作用,据统计其节水效果约为30%。
1、关闭减压阀前的闸阀,开启减压阀后的闸阀,制造下游低压环境;
2、将调节螺钉

减压阀
按逆时针旋转至最上位置(相对最低出口压力),然后关闭减压阀后闸阀;
3、慢慢开启减压阀前的闸阀至全开;
4、顺时针慢慢旋转调节螺钉,将出口压力调至所需要的压力(以阀后表压为准);调整好后,将锁紧
螺母锁紧,打开减压阀后闸阀;
5、如在调整时出口压力高于设定压力,须从第一步开始重新调整,即只能从低压向高压调。
原理
作用原理:减压阀的是靠阀内流道对水流的局部阻力降低水压,水压降的范围由连接阀瓣的薄膜或活塞两侧的进出口水压差自动调节。定比减压原理是利用阀体中浮动活塞的水压比控制,进出口端减压比与进出口侧活塞面积比成反比。这种减压阀工作平稳无振动;阀体内无弹簧,故无弹簧锈蚀、金属疲劳失效之虑;密封性能良好不渗漏,因而既减动压(水流动时)又减静压(流量为0时);特别是在减压的同时不影响水流量。
工作原理:减压阀是采用控制阀体内的启闭件的开度来调节介质的流量,将介质的压力降低,同时借助阀后压力的作用调节启闭件的开度,使阀后压力保持在一定范围内,并在阀体内或阀后喷入冷却水,将介质的温度降低,这种阀门称为减压减温阀。减压阀快易优自动化选型有收录。该阀的特点,是在进口压力不断变化的情况下,保持出口压力和温度值在一定的范围内。
优点
水流通过减压阀虽有很大的水头损失,但由于减少了水的浪费并使系统流量分布合理、改善了系统布局与工况,因此总体上讲仍是节能的。介质为蒸汽的场合,宜选用先导活塞式减压阀或先导波纹管式减压阀。为了操作、调整和维修的方便,减压阀一般应安装在水平管道上。
主要应用
这是一个典型的水电站技术供水系统。

水电站技术供水系统图
经过组合式减压阀减压后的流体通过滤水器过滤后,再通过水力控制阀进入各个用水点。如果管道超压,泄压阀会充分打开并及时泄压。
1、组合式减压阀在确保机组用水量的前提下,为阀后用水点提供稳定可靠的低压冷却水。其减压比最大可达12:1。组合式减压阀上装备的反冲排污系统可以适用较差介质,安全锁定系统则可以确保在系统遭受严重损坏时出口端压力仍保持低压。
2、技术供水系统上安装的滤水器,可以为机组提供清洁水源,以防杂质进入机组造成损坏。滤水器如果安装在组合式减压阀之后,用户可以选择较小压力级别的滤水器,但是过多的杂质会影响到减压阀性能的稳定发挥。
3、技术供水系统上的水力控制阀可以通过快速开启和缓慢关闭达到截断管道介质流动及消除管道水锤压力的目的。性能良好的水力控制阀在开启和关闭的同时可以进行反冲排污,确保工况时不卡阻。
4、技术供水系统上的泄压阀能准确地保持管道的安全压力,一旦管道超过整定压力,泄压阀会充分打开并及时泄压。性能良好的泄压阀除了具有反馈系统外,也带有强制开启手柄,在万一的故障时可切换反馈系统或直接手动排放。
分类
概述
减压阀按结构形式可分为薄膜式、弹簧薄膜式、活塞式、杠杆式和波纹管式;按阀座数目可人为单座式和双座式;按阀瓣的位置不同可分为正作用式和反作用式。先导式减压阀当减压阀的输出压力较高或通径较大时,用调压弹簧直接调压,则弹簧刚度必然过大,流量变化时,输出压力波动较大,阀的结构尺寸也将增大。为了克服这些缺点,可采用先导式减压阀。先导式减压阀的工作原理与直动式的基本相同。先导式减压阀所用的调压气体,是由小型的直动式减压阀供给的。若把小型直动式减压阀装在阀体内部,则称为内部先导式减压阀;若将小型直动式减压阀装在主阀体外部,则称为外部先导式减压阀。
组合式减压阀
组合式减压阀是专为复杂工况下运行的供水系统量身设计的减压设备,由出口压力锁定系统,反馈统,和主阀阀体组成。组合式减压阀与常规减压阀的区别在于:
1、反馈系统互为备用可供不停机检修;
2、反冲排污系统可适用更多不佳水质;
3、出口压力锁定系统可以锁定出口压力上限;
4、减压比最大值可达到12:1,最高应用水头320米(井冈冲水电站)
5、最大过流量超过5000m3/h,最大应用单机800MW(向家坝水电站)
外形结构:
1–安全拉杆
2–安全锁定螺母
3–调节扳杆
4–起吊螺母
5–锁紧螺母
6–压力导管
7–阀盖
8–射流泵
9–三通转换阀
10–控制阀
11–排污阀(排放水中杂质.自动排污型为电磁阀)
12–出口压力锁定阀
13–阀体
内部结构:
1、组合式减压阀自动调节原理:
组合式减压阀是一种在复杂多变的工况下亦可利用水压进行自我调节的减压阀稳压阀,在进口压力和流量产生变化的时候保持出口的压力和流量稳定。其完全实现自力控制,调试简单,运行可靠。
2、组合式减压阀的双反馈切换原理:
组合式减压阀的反馈系统是根据减压阀出口压力的变化信号来控制过流面积(节流锥开度)的独立系统。减压阀装备有互为备用的双反馈系统,启用A系统即停用B系统的运行模式可以达到减压阀不停机检修的目的。
3、 组合式减压阀反冲排污工作原理:
水电站的运行工况比较复杂,尤其水质的好坏直接关系到设备的安全运行。针对泥沙含量较大的水电站,除了在减压阀的过流位置采用不锈钢材质并堆焊镍基合金防磨蚀外,减压阀的反冲排污装置亦能有效地防止反馈控制系统的堵塞,使减压阀在多泥沙杂物的水质中保持良好的工况。(反冲排污系统标配为手动控制,根据水质实际情况把握反冲排污频率,或直接采用PLC自动反冲排污装置。)
4、组合式减压阀出口压力锁定工作原理:
每一台合格的减压阀阀体均经受了超过60分钟的1.5倍强压实验,彻底杜绝阀体缺陷,即使历经十余年的连续运行也不会出现破裂漏水等故障。 出口压力内锁定装置是为防止反馈系统遭受意外损坏后,在主活塞下方失压时,保持出口压力P2值安全的刚性保护装置。
作用式减压阀
最简单的减压阀,直接作用式减压阀,带有平膜片或波纹管。因为它是独立结构,因此无需在下游安装外部传感线。它是三种减压阀中体积最小、使用最经济的一种,专为中低流量设计。直接作用式减压阀的精确度通常为下游设定点的+/-10%。
活塞式减压阀
该类型的减压阀集两种阀―导阀和主阀―于一体。导阀的设计与直接作用式减压阀类似。来自导阀的排气压力作用在活塞上,使活塞打开主阀。如果主阀较大,无法直接打开时,这种设计就会利用入口压力打开主阀。因此,这种类型的减压阀,与直接作用式减压阀相比,在相同的管道尺寸下,容量和精确度(+/-5%)更高。与直接作用式减压阀相同的是,减压阀内部感知压力,无须外部安装传感线。
薄膜式减压阀
在这种类型的减压阀中,双膜片代替了内导式减压阀中的活塞。这个增大的膜片面积能够打开更大的主阀,并且在相同的管道尺寸下,其容量比内导式活塞减压阀更大。另外,膜片对压力变化更为敏感,精确度可达+/-1%。精确性更高是由于下游传感线的定位(阀的外部),其所在位置气体或液体动荡更少。该减压阀非常灵活,可以采用不同类型的导阀(例如压力阀、温度阀、空气装载阀、电磁阀或几种阀同时配套适用)。
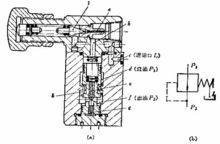
直动式减压阀
直动式减压阀所示为直动式带溢流阀的减压阀(简称溢流减压阀)的结构图。
溢流减压阀是靠进气口的节流作用减压,靠膜片上力的平衡作用和溢流孔的溢流作用稳压;调节弹簧即可使输出压力在一定范围内改变。为防止以上溢流式减压阀徘出少量气体对周围环境的污染,可采用不带溢流阀的减压阀(即普通减压阀)。
先导式减压阀

先导式减压阀
内部先导式减压阀当减压阀的输出压力较高或通径较大时,用调压弹簧直接调压,则弹簧刚度必然过大,流量变化时,输出压力波动较大,阀的结构尺寸也将增大。为了克服这些缺点,可采用先导式减压阀。先导式减压阀的工作原理与直动式的基本相同。先导式减压阀所用的调压气体,是由小型的直动式减压阀供给的。若把小型直动式减压阀装在阀体内部,则称为内部先导式减压阀;若将小型直动式减压阀装在主阀体外部,则称为外部先导式减压阀。与直动式减压阀相比,增加了由喷嘴4、挡板3、固定节流孔9及气室B所组成的喷嘴挡板放大环节。当喷嘴与挡板之间的距离发生微小变化时,就会使B室中的压力发生根明显的变化,从而引起膜片10有较大的位移,去控制阀芯6的上下移动,使进气阀口8开大或关小、提高了对阀芯控制的灵敏度,即提高了稳压精度。
在主阀体外部还有一个小型直动式减压阀由它来控制主阀。此类阀适于通径在20mm以上,远距离(30m以内)、高处、危险处、调压困难的场合。
选用标准
标准一 在给定的弹簧压力级范围内,使出口压力在最大值与

减压阀
最小值之间能连续调整,不得有卡阻和异常振动;
标准二 对于软密封的减压阀,在规定的时间内不得有渗漏;对于金属密封的减压阀,其渗漏量应不大于最大流量的0.5%;
标准三 出口流量变化时,直接作用式的出口压力偏差值不大于20%,先导式不大于10%;
标准四 进口压力变化时,直接作用式的出口压力偏差不大于10%,先导式的不大于5%;
标准五 通常,减压阀的阀后压力应小于阀前压力的0.5倍;
标准六 减压阀的应用范围很广,在蒸汽、压缩空气、工业用气、水、油和许多其他液体介质的设备和管路上均可使用,介质流经减压阀出口处的量,一般用质量流量或体积流量表示;
标准七 波纹管直接作用式减压阀适用于低压、中小口径的蒸汽介质;
标准八 薄膜直接作用式减压阀适用于中低压、中小口径的空气、水介质;

减压阀
标准九 先导活塞式减压阀,适用于各种压力、各种口径、各种温度的蒸汽、空气和水介质,若用不锈耐酸钢制造,可适用于各种腐蚀性介质;
标准十 先导波纹管式减压阀,适用于低压、中小口径的蒸汽、空气等介质;
标准十一 先导薄膜式减压阀,适用于低压、中压、中小口径的蒸汽或水等介质;
标准十二 减压阀进口压力的波动应控制在进口压力给定值的80%~105%,如超过该范围,减压前期的性能会受影响;
标准十三 通常减压阀的阀后压力应小于阀前压力的0.5倍;
标准十四 减压阀的每一档弹簧只在一定的出口压力范围内适用,超出范围应更换弹簧;
标准十五 在介质工作温度比较高的场合,一般选用先导活塞式减压阀或先导波纹管式减压阀;
标准十六 介质为空气或水(液体)的场合,一般宜选用直接作用薄膜式减压阀或先导薄膜式减压阀;
标准十七 介质为蒸汽的场合,宜选用先导活塞式或先导波纹管式减压阀;
标准十八 为了操作、调整和维修的方便,减压阀一般应安装在水平管道上。
