Mac系列键盘防水
全新专利 / 未来趋势
MacBook用户非常害怕水不小心洒到键盘上,因为键盘下面全部都是密密麻麻的主板和电池,一旦电脑键盘进水则代表报废,而即使不进水,苹果的蝶式键盘积灰后也非常难以清理。
而据外媒 The Verge 报道,苹果公司近日公布了一项新的专利,可以有效防止碎屑和液体进入键盘。

据悉,该专利早在 2016 年 9 月 8 日就已提交,也就是苹果正式发布 iPhone 7 和 iPhone 7 Plus 后的第二天,但是最近才通过审核并且公布出来。
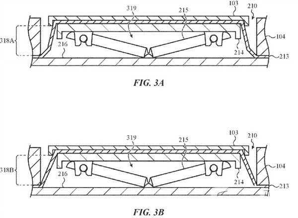
专利描述称 输入设备增加包括防止与减轻污染物(例如灰尘、液体)等进入的装置。
这些装置包括在输入设备当中添加防护膜以及垫圈等,还包含刷子、刮水器或者挡片用来挡住键帽周围的空隙。


防水排灰 / 实用功能
该专利描述了两种 防止污垢的解决方案,一种是通过密封间隙阻止碎屑进入;另外一种是在每个按键下方设置薄膜,每一次按键的动作,都会有空气排出,从而将碎屑弹出。
但是这项专利并没有表示会让MacBook等设备拥有高等级甚至是水下作业的防水能力,这项专利只是为了未来的MacBook不再害怕水杯倒在键盘上使设备报废。

未来Mac键盘使用上了这个专利,未来Mac的键盘进灰后便可以安心的用湿抹布来进行清理。
iPhone6 / 5s续期入网
入网续期 / 很少见
值得注意的是 手机都有入网许可时间,在这个时间内才能生产出售,许可到期后则不能再生产出售,但是不会影响已经购买了的用户,不会影响手机的正常使用,和消费者无关。

一般情况下 很少有手机厂家会去续期四五年前的产品入网许可,因为根本没有手机厂商还会在智能手机升级速度如此之快的时代,去生产出售四五年前的古董产品。
而苹果就比较牛逼了 在工信部网站的信息显示,苹果公司为iPhone 5s、iPhone 6续期的入网许可证,有效期均延长到了2021年1月31日。

这两款手机对应的具体型号为A1530与A1524,均为iPhone 5s、iPhone 6的全网通版本,这代表未来几年苹果还将继续生产出售这两款古老的产品。
不过A1589、A1593两个移动定制版则已经寿终正寝,今年入网许可已经到期,苹果已经不能在生产出售这两款型号的定制版iPhone。
依然在卖 / 主打低端

由于iPhone5S和6的经典设计,以及苹果logo加成,并且还能升级最新的iOS系统支持,所以这两部设备依然有人会去购买使用。
从目前的销售价格上看,苹果为这两款手机续期入网许可,完全是为了占领中低端市场。
以京东为例,在Apple产品专营店上,iPhone 5S售价仅为1300元左右,iPhone 6的售价为2300元左右。


并且据零售商提供的内部消息,iPhone6目前全新生产的也只有32GB的版本,且主要为金色,其他颜色和存储版本国行暂时没有大量生产。
虽然苹果官方已经不再出售这两款设备,但是还是会向下级供货商例如京东苏宁等店铺供应全新的货,并且预搭载的都是iOS11系统。

评心而论 这个价位购买全新的iOS11系统iPhone6,要论综合素质,我觉得这个价位的iPhone6性价比真还不如vivo、OPPO。
可能背后的苹果标志值二千,手机都是半买半送的。