做家务的人最能体会角落无法清洁干净
水无法擦干或者留下水迹
魔法扫把能轻松解决上面的烦恼
容易清洗和晾干,能够清洁任意角落
还可以清洁水槽、玻璃等
是做家务的好帮手

案件信息
案件号:22-cv-06863
立案时间:2022年12月7日
原告:Eco Sourcing, Inc.
代表律所:Keener And Associates, P.C.
品牌介绍
原告是新泽西州的一家私营公司,拥有高度专业的销售、营销、仓储和分销业务。可以提供从美洲销售活动所需的海外运输到自己的仓库运营和交付的综合物流管理服务,并执行线上和线下的直销或销售代理。

品牌知识产权
原告没有公开维权的专利信息,但小Jude在美国专利商标局检索到两个多功能扫把的外观专利。


此外,小Jude还检索到另外一个全球发明专利WO2020130243A1。
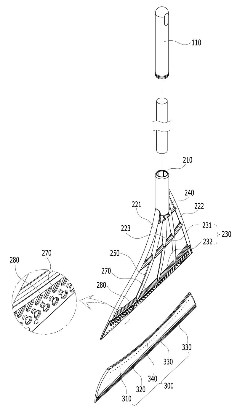
WO2020130243A1发明专利涉及一种设置有辅助清洁单元的清洁机构,更具体,涉及在竖直方向上延伸的杆状握持部、与握持部的下端结合的管状外壳、以及多个框架本发明涉及一种清洁机构,该清洁机构设置有彼此间隔开的硬清洁单元和连接到材料单元下端的辅助清洁单元,并且包括:当材料单元变形时,辅助清洁单元接触清洁目标。

权利人于2018年12月19日在韩国提交优先权,专利号为KR101982453,再通过PCT国际专利申请(WO2020130243A1)分别进入加拿大、中国、欧洲、巴西、澳大利亚、日本、美国等国家。

原告最早在2016年7月6日注册第7类目的美国商标“Elicto”,在2019年4月15日注册第21类目的美国商标“zippware”。


以上便是原告的专利和商标,由此看来,专利不能销售外商标更不能使用。
卖家切勿使用未经授权的商标、版权、专利,一旦使用就会有侵权风险。图片相似、listing相似、产品或产品图使用原创者的形象或图案就会侵权。
尤其是版权,权利人有权要求版权局不公开自己的版权图片,版权没有类别限制,一旦被起诉就会被一锅端,大家最好使用自家的原创作品,记得给自己的原创作品版权登记。
好了,今天的内容分享到这,如果你遇到跨境电商的问题,可以私信小Jude或者留言