
大量玩家退场,有战略眼光的商家凭借优异的品质脱颖而出,成为消费者首选的品牌,进而繁荣发展,这就是市场的大浪淘沙。
2019年,网红美食螺蛳粉已为柳州创造产值70亿,7元一碗的螺狮粉年卖出近3000万份,远销德国成“奢侈品”。2020年5月28日,全国首家螺狮粉产业学院在柳州职业技术学院揭牌。
突然爆红的螺狮粉,“出圈”并非偶然。
1
据淘宝网统计,疫情期间,螺蛳粉碾压火鸡面、方便面和自嗨锅,稳居疫情宅家食物第一名。

“一粉难求”的状态早在去年春节前已经开始了。

淘宝官方数据,6000万人在微博呼唤螺蛳粉自由,320万人靠搜螺蛳粉解馋,写字楼的螺蛳粉外卖大涨58%,据新华网报道,柳州螺蛳粉的全行业年营业额,已经超过了100亿元。
2
哪家螺蛳粉最好吃?在诸多网络测评中,多位博主都指出,买柳州产的就对了一半。
从八十年代的诞生一直到2014年,螺蛳粉一直属于柳州地域小吃,受众群很窄。2012年一档现象级的纪录片综艺《舌尖的中国》播出,在第一季第一集的第十分钟,螺蛳粉出现了。从此,这道神秘的美食进入人们的视野。
随着节目走红,螺蛳粉也被人从地方街边小店放进了各大线下商场和线上电商的橱窗里。
而提到螺狮粉,就必须聊一聊螺狮粉故乡——柳州。
2018年8月“柳州螺蛳粉”获得国家市场监督管理总局知识产权局核准注册,商标注册号为第19254463号。此举意味着标志柳州商标的预包装螺蛳粉,必须在柳州生产,否则不能称之为“柳州螺蛳粉”。

据中国日报报道,目前,柳州螺蛳粉网上店铺超过1.2万家,拥有自主商标品牌超过200多个。
螺狮粉的口碑打响后,吸引了各路产业资本的关注,众多企业纷纷想挤进来分杯羹,海底捞、三只松鼠、良品铺子等都新增螺蛳粉品类,亦有头部投资机构开始四下寻找其中的潜力企业。

3
面对不断入驻的新玩家,柳州螺狮粉的早期玩家如何在知识产权领域巩固自己的地位呢?
柳州市商务局数据显示,到2019年末,全市已有预包装柳州螺蛳粉注册登记企业81家、品牌200多个,日均销量超过170万袋。广西螺霸王食品有限公司营销总经理姚炳阳在接受虎嗅的采访时坦言,螺蛳粉生产的门槛并不高,“市场不缺产品,缺的是品牌玩家,未来一定会陷入品牌战。”
北京德和衡律师事务所律师、专利代理师宋献涛对此发表观点称,“门槛不高,竞争者便会蜂拥而入,通过价格战把市场搞得很low,这是我国很多行业都经历过的。”此后,大量玩家退场,有战略眼光的商家凭借优异的品质脱颖而出,成为消费者首选的品牌,进而繁荣发展,这就是市场的大浪淘沙。炸鸡腿、炸薯条的门槛也不高,但美国却造就了麦当劳、肯德基这样的餐饮巨头。
对于螺蛳粉而言,正因为生产门槛不高,品牌经营才显得尤为重要。柳州螺蛳粉在2018年获得了国家地理标志证明商标,这对于规范螺蛳粉生产经营秩序、发挥商标品牌经济效益,开了一个好头。“希望螺蛳粉产业推进品牌战略,做大做强,避免沦为便宜的方便面食品。”宋献涛称。
据相关媒体报道,目前,“柳州螺蛳粉”商标授权使用企业有47家。柳州市螺蛳粉协会也在组织进行商标维权和打假工作。
早在2017年时,螺霸王、好欢螺、嘻螺会三大品牌占据了螺蛳粉领域88%的市场份额,但以千万粉丝博主李子柒为代表的强势品牌入场正在改变这一格局。李子柒旗舰店的螺蛳粉也是委托柳州企业生产,据不完全统计,疫情期间,淘宝上李子柒旗舰店螺蛳粉月度销量超过百万,已经达到与上述三大品牌抗衡的地位。
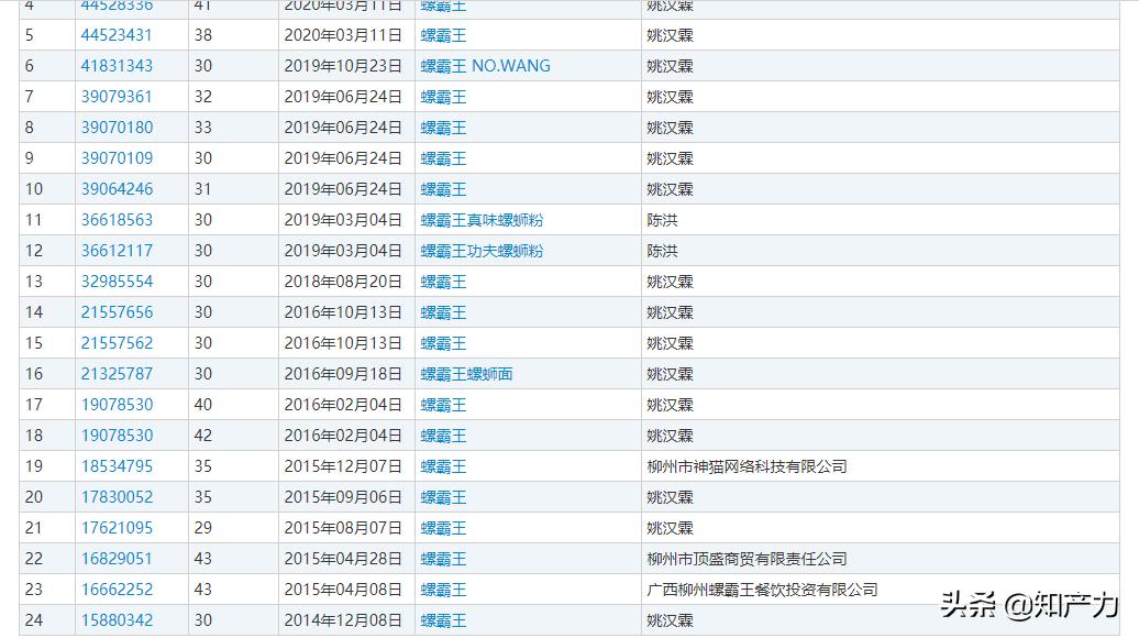
如今,这四家头部玩家包揽了螺狮粉的巨大市场份额时,品牌商标的注册方面也不甘落后。

即使是行业大腕,也不免有被侵权的风险。
2019年4月,在美国等地,广西螺霸王食品有限公司就发现注册商标“螺霸王”被不法商家侵权、李子柒价值千万螺狮粉商标被抢注,打了三年还没要回来......
宋献涛表示:”如果该公司在美国拥有“螺霸王”商标,完全可以通过商标侵权诉讼捍卫自己的权利、净化市场,美国打击知识产权侵权的力度非常大;如果在美国没有获得商标注册,就得赶紧亡羊补牢去申请;若“螺霸王”商标在美国被人抢注,那么广西螺霸王公司自己反而面临侵权指控的风险。
那么如何避免上述风险?
宋献涛提出建议:第一,要高度重视商标布局,做到“未雨绸缪,重点保护,及时申请”,针对目标市场制定全面、深入、具体的品牌保护战略,及时申请商标注册,避免受到抢注的伤害;第二,对于不法侵权行为,要勇于维权,或与侵权人谈判施压,确保自己在市场中的权益和竞争优势。”
面对市场上良莠不齐的螺狮粉品牌,螺狮粉产业如何更好向品牌化过渡?
宋献涛认为,一是制定和贯彻严格的质量控制标准,避免陷入不拼质量拼价格的恶性竞争;二是在保证质量的基础上形成各自的特色,增加客户黏性和忠诚度;三是强化品牌经营的商业意识,运用丰富的营销手段、精准的市场定位、富有创意的广告宣传等,提高品牌的美誉度和形象;四是持续创新,向老品牌注入新的活力,丰富品牌的内涵。这需要政府、行业协会、企业、消费者、社会各界的共同努力。
另外,螺狮粉的“爆红路”和其运营手法对美食行业的发展也有启迪作用。“以商标打造优质产品,以品牌促进产业升级,强化知识产权保护意识,驱动行业健康持续发展,让中国美食和瑞士手表、韩国整形、法国香水、美国好莱坞大片一样成为国家名片。”
部分图片来源于网络,侵删
(本文仅代表作者观点,不代表知产力立场)