之前为车主们两次发声,终于有了一个向好的结果。
9月2日,奇瑞汽车发布公告,于9月25日起召回68353辆瑞虎3x以及8007辆瑞虎8 PLUS。

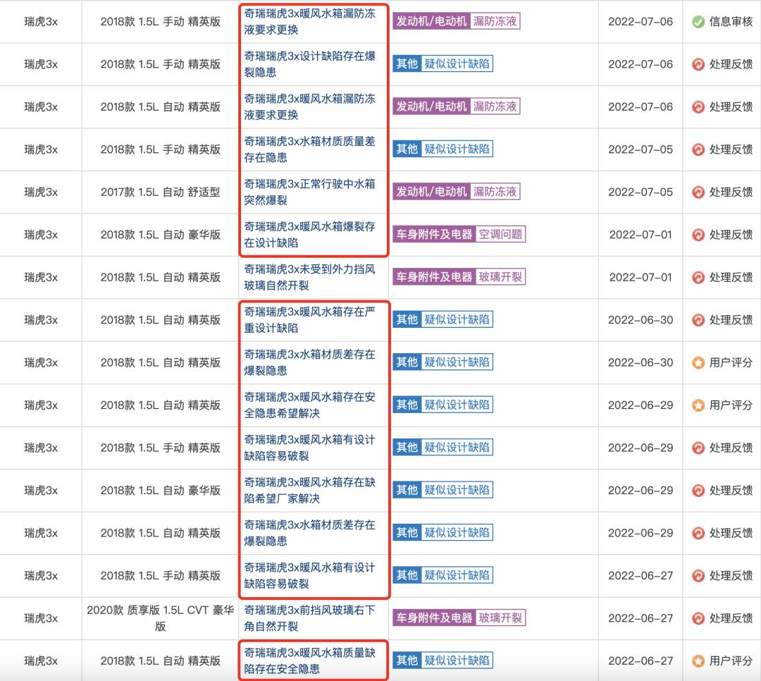
经常阅读我们《虎哥说车》的朋友可能有印象,今年7月10日我们就关注过瑞虎3x暖风水箱存在爆裂隐患的问题, (详见 《出了问题再说?奇瑞遭群体投诉!》)
不少瑞虎3x车主中招,在行驶途中暖风水箱爆裂,滚烫热水灌进主驾驶室,烫到驾驶员的脚不说,还有大量的雾气遮挡视线,严重影响行驶安全。

由于不是个例,很多人开在路上提心吊胆,一些车主联系厂家要求消除隐患,结果被告知“等出了问题再说”。


厂家的这种态度,也引发车主们集体投诉,大家通过各种渠道反映问题,这其中,就有车友联系了我们《虎哥说车》。
车主们希望厂家能够发起召回,我们也将该诉求反馈给了奇瑞汽车,但一直没有得到答复。

小一个月后,8月4日,因不少瑞虎8 PRO车主反映刹车系统存在蜂鸣异响,我们再次对奇瑞汽车部分车辆的质量问题进行了关注 (详见《奇瑞新车陷“异响”门 上市两月现群体投诉?》)。
其中又一次提到了瑞虎3x暖风水箱存在爆裂隐患的问题。

期间,有厂家代表联系到小编,表示:“对于用户的诉求,厂家也非常重视”,但对于后续是否会按照车主的要求发起召回,当时并未给出明确答复。
如今,瑞虎3x终于被召回,车主们的维权获得了阶段性胜利,着实可喜可贺。

另外,同时被召回的还有2021年10月18日至2021年12月12日生产的部分瑞虎8 PLUS。
瑞虎8 PLUS是因尾灯电路板贴片制造问题,可能导致尾灯闪烁或尾灯不亮,无法为后方车辆提供有效信号,存在安全隐患而召回。

值得注意的是,召回公告中明确:
以上两次召回活动均是在国家市场监督管理总局启动缺陷调查情况下开展的。
这也就是说,针对瑞虎3x、瑞虎8 PLUS的召回,并不是主动召回,而是被动召回。
换句话说,召回并非厂家“自愿”,可不召回就要被调查,不得不召回。
其本意似乎不是为了解决问题,而是为了躲避相关机构的调查…
这不得不令人想起,今年1月27日,奇瑞针对艾瑞泽5以及瑞虎7的发起的大规模召回,如出一辙。



当时,因变速箱冷却油管存在问题,奇瑞召回121881辆部分艾瑞泽5和24750辆瑞虎7。
那次召回, 也是在国家市场监督管理总局启动缺陷调查情况下开展的。
而再往前:2021年7月16日,奇瑞艾瑞泽5e的召回, 被动召回 ;2021年4月9日,奇瑞瑞虎3x的召回, 被动召回 ;2020年1月14日,艾瑞泽7e的召回, 还是被动召回 …



真是不查不知道,一查吓一跳!
还有个事,大家可能不知道…
有暖风水箱爆裂的瑞虎3x车主向我们反映,虽然水箱爆了厂家有政策给免费换,但当地4S店在维修的时候还是巧立名目收了车主210元才给更换。

希望这次召回,这种事不会再发生了吧…


最后,替已经自费维修的车主问一句,他们的钱还能退回来么?

作者:剑剑,专注汽车报道多年,杭州市2018年度“最美消费维权人物”,2022年度浙江省消保委汽车专业委员会成员。