1 适用范围
反循环钻机成孔适用于填土、淤泥、黏土、粉土、砂土、砂砾等地层。采用圆锥式钻头等可进入软岩,采用滚轮式(又称牙轮式)钻头等可进入硬岩。
反循环钻机成孔不适用于自重湿陷性黄土层,也不宜用于无地下水的地层。对于大卵砾石层、大抛石层和大孤石层,反循环钻进效率很低,甚至无法进尺。
2 作业准备
2.1 技术准备
2.1.1 内业技术准备
在开工前组织技术人员认真学习实施性施工组织设计,阅读、审核施工图纸,澄清有关技术问题,熟悉规范和技术标准。制定施工安全保证措施,提出应急预案。对施工人员进行技术交底。对参加施工人员进行上岗前技术培训,考核合格后持证上岗。

操作人员上岗证书
2.1.2 外业技术准备
施工作业层所涉及的各种外部技术数据收集,包括桩径、桩长及地层情况。
修建生活房屋,配齐生活、办公设施,满足主要管理、技术人员进场生活、办公需要。
已完成现场踏勘,对妨碍施工或对安全操作有影响的既有架空管线、地下电缆、给排水管道等设施,已采取清除、移位、保护等措施妥善处理。
施工所需电力线路架设已完成,满足钻机所需电力供应需求,并配备适合备用的变压器或柴油机。
场地已根据施工组织设计进行布置,合理安排泥浆池、沉淀池的位置,沉淀池的容积应满足2个孔以上排渣量的需要。

泥浆池开挖及防渗漏措施
水上作业已搭设了工作平台。准备一定数量的造浆黏土。
用全站仪、GPS全球定位系统等准确放样各桩位中心,用十字桩固定位置,用水准仪测量地面高程,确定钻孔深度;测好的桩位必须复测,误差控制在5mm以内。

桩位测量及十字桩埋设
2.2 机械设备、材料及试验准备
施工场地已平整,便道已修建,机械设备已进场,机械性能良好,数量满足进度及工期要求。
施工所需的测量、试验设备已检测、标定完毕,可以进行使用。
施工所需钢材、水泥、砂石等材料已进场并进行检验,已取得各种原材料及其抽检试验报告。
混凝土已完成配合比设计,其报告及有关资料已经过相关单位审批,允许施工中使用。

钻孔施工前进行场地平整、施工便道修筑

测绳湿润后进行校核
3 技术要求
3.1 所使用的机械及设备具有合格的出厂证明及使用期限。
3.2 所使用的原材料应具有质量合格证并按相关要求抽检合格。
3.3 在进行大面积钻孔施工前应按照《铁路桥涵工程施工质量验收暂行标准》相关要求进行施工工艺试验,确定工艺参数,并报监理单位确认。
3.4 钻机就位、成孔时,必须通知现场监理进行确认。
3.5 桩位放样、成孔质量及桩体质量必须满足《铁路桥涵工程施工质量验收暂行标准》、《铁路桥涵工程施工技术指南》、施工图设计文件及业主相关文件的要求。
4 施工程序与工艺流程
4.1 施工程序
钻孔灌注桩钻孔的主要施工程序为:测量放样 埋设护筒 钻机就位 泥浆制备 钻进 检孔 制作安装钢筋骨架 清孔 检查验收等。
4.2 工艺流程
图4.2.1 反循环钻施工工艺及质量控制流程图详见图4.2.1

图4.2.1 反循环钻施工工艺及质量控制流程图
4.2.2 钻孔灌注桩质量检验控制流程详见图4.2.2。

图4.2.2 钻孔灌注桩质量检验控制流程
5 施工要求
5.1 施工准备
5.1.1 场地准备
1 开工前先对桩位进行定位测量,埋设护桩。
2 整平场地,场地为旱地时,清除地表杂物,换除软土,整平夯实,以保证钻机稳定。
3 场地为陡坡时,用枕木或型钢搭设作业平台。
4 场地为浅水时,采用截流、改河或筑岛方案,变水中钻孔为旱地钻孔。筑岛面积根据钻孔方法,设备规格决定。
5 场地为深水或淤泥层较厚时,可搭水上工作平台。平台座能支撑钻孔机械、护筒加压、钻机操作以及浇筑水下混凝土时可能发生的全部重力。
6 如场地为深水,但水流平稳,水位升降缓慢,钻机可设在组合船舶或浮箱上,但必须锚固稳定,以免造成偏位、斜孔或其他事故。
7 当场地为深水、流速较大时,可采用双壁钢围堰,就位后灌水、下沉、落床,然后在其顶面搭设工作平台。
8 挖好泥浆池和沉淀池,布置好场内便道、输电线路、孔外排水系统及其他附属设施。
5.1.2 测量放线
采用全站仪或GPS全球定位系统与钢尺相结合的方法进行桩位放样,根据设计桩位图,用全站仪或GPS全球定位系统将桥墩台位置每一根桩的中心测出并用水泥包裹,然后在中心桩的前后左右设置护桩,测量人员、技术人员、钻机长应根据桩位图及桩间距对桩位逐桩复核,并形成测量交接桩记录,符合要求后由技术人员报监理单位复核。
5.2 护筒制作及埋设
5.2.1 护筒采用厚为6~10mm的钢板,护筒内径应比钻头直径大200mm;护筒的顶部应开设l~2个溢浆口,并高出地面250~350mm。护筒顶高程应高出地下水位2.0m。
5.2.2 护筒有定位、保护孔口和维持水位高差等重要作用。所以护筒中心与桩位中心应重合,周边用黏土夯实。
护筒位置要根据设计桩位,按纵横轴线中心埋设。埋设护筒的坑不要太大。坑挖好后,将坑底整平,然后放入护筒,经检查位置正确,筒身竖直后,四周即用黏土回填,分层夯实,并随填随观察,防止填土时护筒位置偏移。护筒埋好后应复核校正,护筒中心与桩位中心应重合,偏差不得大于50mm,倾斜度不大于1%。
5.2.3 护筒埋置深度符合下列规定:黏性土不小于1m,砂类土不小于2m,并在保持孔内泥浆液面高于地下水位1m以上。当表层土松软时将护筒埋置到较坚硬密实的土层中至少0.5m。

现场订制的护筒 开挖护筒坑洞
5.3 泥浆制备
钻孔泥浆由水、黏土(或膨润土)和添加剂组成。开工前应准备数量充足和性能合格的黏土或膨润土。
5.3.1 灌注桩钻孔施工中泥浆的作用
1 护壁作用,防渗、防水帏幕。以孔内高于地下水位的泥浆的侧压力平衡孔壁土压力和孔周水压力,抵抗孔周水渗入孔内,维持孔壁稳定。
2 悬浮土渣,携带土渣出桩孔。不使土渣沉入孔底造成钻孔困难、影响桩底沉渣厚度。
5.3.2 泥浆必须具备的条件
1 物理稳定性,静置相当时间其性质不变化,不因重力而沉淀。
2 化学稳定性,不因水泥、海水等异物混入而污染。
3 适当的比重。比重大对护壁、浮渣有利,但比重太大会使泵的能力不足,或防碍混凝土灌注。
4 良好的触变性。要求泥浆在流动时,阻力很小,以便泵送。当停止钻孔时,泥浆能很快凝聚成凝胶状,避免浆中砂粒迅速下沉;渗入孔内的泥浆又能很快凝聚成凝胶状,避免浆中砂粒迅速下沉;而渗入孔内的泥浆能快速固结,以维持孔壁稳定。钻孔用泥浆性能指标见表5.3.2。
表5.3.2 钻孔用泥浆性能指标
5 形成薄而韧的泥皮,黏附于孔壁上,不透水。
6 能够容易从沉淀池、旋转器中分离出来。
7 不产生过多气泡。
膨润土泥浆具有相对密度低、黏度好、含砂量小、失水量小、泥皮薄、稳定性强、固壁能力高、钻具回转阻力小、钻进率高、造浆能力大等优点,是钻孔施工的优质泥浆。
5.3.3 泥浆的基本配比
泥浆的配比应视地质情况、施工机械等条件,选定基本配比后,经过配制试验并修正后确定泥浆配合比。表5.3.3是泥浆配合比实例,供选择基本配合比时参考。
表5.3.3 泥浆配比实例
5.3.4 泥浆净化与再生
反循环钻孔一般采用泥浆悬浮钻渣护壁,因施工中水泥、土粒等混入及泥浆渗入孔壁等原因使泥浆性能改变,以及为了回收泥浆原材料和减少环境污染,可使机械、物理、化学等方法使泥浆净化与再生,可在现场设置泥浆池、沉淀池等泥浆循环净化系统。
泥浆池、沉淀池的池面高程应比护筒低0.5~lm,以利泥浆回流畅顺,位置布局要合理,不得妨碍吊机和钻机行走。泥浆池的容量为每孔的排渣量,沉淀池的内容应为每桩位排渣量的1.5倍~2倍。
应有专人清除沟槽沉淀物,多余的泥浆要及时排出坑槽,保证不淤塞,维护泥浆沟(槽)、沉淀池、泥浆池的工作性能。
5.4 钻机就位
钻机就位前,要保证钻机座落处的平整与坚固,防止在钻进和运行过程中产生位移和沉降,同时保证钻机顶部的起吊滑轮缘、钻孔中心应在同一铅垂线上。
5.5 钻孔
5.5.1 钻机就位前,对主要机具及配套设备进行检查、维修。
5.5.2 钻孔前,按施工设计所提供的地质、水文资料绘制地质剖面图,挂在钻机上。针对不同地质层选用不同的钻头、钻进压力、钻进速度及适当的泥浆比重。
5.5.3 开钻时宜低挡慢速钻进,钻至护筒以下1m后再以正常速度钻进。反循环钻机钻孔,应将钻头提离孔底20cm,待泥浆循环通畅后方可开钻。
5.5.4 钻进过程中及时滤渣,同时经常注意地层的变化,在地层的变化处均应捞取渣样,判断地质的类型,记入记录表中,并与设计提供的地质剖面图相对照,钻渣样应编号保存,以便分析备查。
5.5.5 经常检查泥浆的各项指标。
5.5.6 开始钻进时,适当控制进尺,使初期成孔竖直、圆顺,防止孔位偏心、孔口坍塌。
5.5.7 当钻孔深度达到设计要求时,对孔深、孔径、孔位和孔形等进行检查,确认满足设计要求后,立即填写终孔检查证,并经驻地监理工程师认可,方可进行孔底清理和灌注水下混凝土的准备工作。
5.6 清孔
清孔时注意事项:清孔标准符合设计及规范要求,即孔内排出或抽出的泥浆手摸无2~3mm颗粒,泥浆比重不大于1.1,含砂率小于2%,黏度17~20s;浇筑水下混凝土前孔底沉渣厚度不大于规范要求。严禁采用加深钻孔深度方法代替清孔。
6 劳动组织
6.1 劳动力组织方式:采用架子队组织模式。
6.2 施工人员应结合施工方案、机械、人员组合、工期要求进行合理配置,每台冲击钻配备的施工人员如表6.2。
表6.2 每台钻机施工人员配备表
其中施工负责、技术人员、机长、专职安全员由企业正式职工担任,并可根据现场实际情况适当增加若干劳务工人。
7 材料要求
原材料应符合设计及施工规范要求,施工用水的水质应符合工程用水标准。
8 设备机具配置
循环钻钻孔作业施工机械设备主要有反循环钻机l台、反循环钻头2个(其中一个备用)、泥浆泵1台、空压机l台、千斤顶l台、检孔器1个、测绳2根、抽渣筒1个、水准仪l台、泥浆筒1个、清水筒1个等。
8.1 反循环钴机
以GPS-20/25型反循环钻机机和KP2500为例,主机图样见图8.1。
常用的反循环钻机可分为:
(1) 泵吸反循环钻机,如我国GPS215、GPS220型、德国SW型、美国RD2600、CSD2820型及日本S2200、MD150型等。

图8.1 GPS-20/25钻机KP2500钻机
(2) 气举反循环钻机,如我国KTY3000、KPG3000型(钻孔直径1500~6000mm、钻孔深度130m)、日本MD250型等。
(3) 泵吸、气举反循环钻机,如我国GPS225型、罗马尼亚EA系列型、日本S系列型、德国L系列型等。
(4) 正、反循环两用钻机,如我国KP2000、GJC240HF和BRM 24型等。
常用反循环钻机钻头见表8.1。
表8.1 反循环钻机的常用钻头
8.2 泵吸反循环钻头
8.2.1 双腰带梳齿刮刀钻头
该类钻头的特点是对地层的适应性强,综合钻进效果好,主要适合钻进砂土层、砂砾层、卵砾石层、少量黏土层和风化基岩层。

图8.2.1 双腰带梳齿刮刀钻头
8.2.2 大八角合金齿块双腰带刮刀钻头
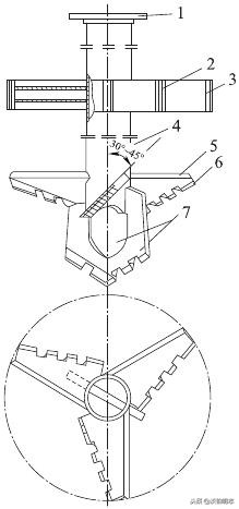
该类钻头的特点是强度大,可承受的压力和扭矩大,适合钻进砂卵砾石层和软基岩,中硬基岩。

图8.2.2 大八角合金齿块双腰带刮刀钻头
1-接头;2-中心管;3,8-斜撑;4-水平撑;5-肋骨; 6,12,14,16,17合会齿;
7,10-上下腰带;11,12-翼板;15-导向钻头
8.2.3 犁式单腰带刮刀钻头

该类钻头的特点是对软土地层切削性好,排渣通畅,能有效地防止"泥包"钻头糊钻,钻进效率高,主要适合钻进软土地层、黏土层淤泥层、砂性土层等。
图8.2.3 犁式单腰带刮刀钻头
1-接头;2-肋骨体;3,6-合金块;4-中心管;5-翼板;7-中心切削具
8.2 其他主要设备

泥浆指标检测用仪器 泥浆比重指标检测
9 质量控制及检验
9.1 质量控制
9.1.1 钻孔作业要求
1 钻孔就位前,应对钻孔的各项准备工作进行检查,包括场地与钻机坐落处的平整和加固,主要机具的检查与安装。
2 须及时填写施工记录表,交接班时应交待钻进情况及下一班应注意事项。
3 钻机底座和顶端要平稳,在钻进和运行中不应产生位移和沉陷。回转钻机顶部的起吊滑轮缘、转盘中心和桩位中心三者应在同一铅垂线上,偏差不超过2cm。
4 钻孔作业应分班连续进行,经常对钻孔泥浆性能指标进行检验,不符合要求时要及时调整。
5 每班检查孔体偏斜情况,及时采取纠偏措施。

桩中心对中 钻盘中心对中
6 钻进速度控制
钻孔时,应根据土层类别、孔径大小、钻孔速度及供浆量来确定相应的钻进速度。
在淤泥和淤泥质土层中,应根据泥浆补给情况,严格控制钻进速度,一般不宜大于1m/min;在松散砂层中,钻进速度不宜超过3m/h。
7 旋转钻进
采用反循环钻机,钻杆带动钻头旋转,钻头下的刀盘在旋转中将岩土切割粉碎形成渣土,渣土被泥浆悬浮。反循环通过流槽把泥浆直接输入钻孔内,然后从钻杆下口吸进,通过钻杆芯孔排出至沉淀池内。
8 测量钻进深度
一般用测绳系测锤(1~2kg)从孔底量至护筒顶部或转盘顶面,从量得的总深度中减去护筒顶部或转盘顶面至钻孔原地面高度,即为钻进深度。

测绳校核 测量钻孔深度
9 排渣、清孔
钻孔桩排渣可采用泥浆循环或抽渣筒排渣等方法。如采用抽渣筒排渣,在钻进4~5m深后,每钻进0.5~1m应抽渣一次,并补给泥浆。
钻孔桩清孔,对原土造浆的钻孔,钻到设计后,可使钻头空转不进尺,循环换浆,泥浆比重应控制应不大于1.1;对于土质较差的砂土层和砂夹卵石层,清孔后孔底泥浆密度宜为1.06~1.10 kg/cm3左右;清孔后的孔底沉渣厚度,端承桩不得大于50mm,或不大于设计规定值;摩擦桩不得大于200mm。在灌注水下混凝土前必须复测沉渣厚度,沉渣超过规定者,必须重新清孔,符合规定方可灌注水下混凝土。
9.1.2 操作要点
1 规划施工现场时,应首先考虑冲洗液循环、排水、清渣系统的安排,以保证反循环作业时,冲洗液循环通畅,污水排放彻底,钻渣清除顺利。
2 在黏性小的土层中钻进时,为保证要求的黏度、比重,可在泥浆中掺人CMC(羧甲基纤维素钠盐)、膨润土等材料;成孔时,由于地下水稀释等使泥浆比重减小时,亦可添加膨润土等材料。
3 为使冲洗液净化,清水钻进时,钻渣可在沉淀池内通过重力沉淀后予以清除;在泥浆钻进时,宜使用多级振动筛、旋流除砂器或其他除渣装置等进行机械除砂清渣。
4 钻头吸水断面应开敞、规整,减少流阻,以防碎砖块、卵砾石等堆挤堵塞;钻头体吸口端距钻头底端高度不宜大于250mm;钻头体吸水口直径宜略小于钻杆内径;碎砖、卵砾石等的尺寸不得大于钻杆内径的4/5。
5 对于泵吸反循环钻进方式,起动离心泵,待反循环正常后,才能开动钻机慢速回转下放钻头至孔底。开始钻进时,应先轻压慢转,待钻头正常工作后,逐渐加大转速,调整压力,并使钻头吸口不产生堵水。如孔内出现坍孔、涌砂等异常情况,应立即将钻具提离孔底,控制泵量,保持冲洗液循环,吸除坍落物和涌砂;同时向孔内输送性能符合要求的泥浆,保持水头压力以抑制继续涌砂和坍孔,恢复钻进后,泵排量不宜过大,以防吸坍孔壁。
6 气举反循环钻进方式钻进时,为了保证不堵吸渣口,应事先开空压机送风吸泥,然后开动动力头,慢慢钻进;停钻时,要先停止钻进,然后停止动力头,最后停风。
7 第1次孔底沉渣处理:终孔时停止钻具回转,将钻头提离孔底500~800mm,维持约1个孔容积量的冲洗液循环,并孔中注入合砂量小于4%的新泥浆或清水,令钻头在原地空转数十分钟,直至达到清孔要求为止。维持反循环的时间,视孔底沉渣厚度、桩孔容积大小而定。
8 第2次孔底沉渣处理:在灌注混凝土之前进行第2次沉渣处理,通常采用普通导管的空气升液排渣法或空吸泵的反循环方式。
9 确定跳桩的顺序,确保桩基正常施工。
9.1.3 事故预防及处理
钻孔施工过程中若发现斜孔、弯孔、缩孔、塌孔、护筒周围冒浆、孔口坍塌、地表沉陷等情况之一时,必须立即停止钻进施工,采取有效处理措施后,方可继续施工。
1 预防塌孔
塌孔的表征是孔内水位突然下降,孔口冒细密的水泡,出渣量显著增加而不见进尺,钻机负荷显著增加等。
1) 处理措施
塌孔不严重时,可回填至塌孔位置以上,采取改善泥浆性能、加高水头、埋深护筒等措施继续钻进;若塌孔严重,应立即将钻孔用砂夹黏土回填重钻。
2) 塌孔的预防措施
①在松散粉砂土或流沙中钻进时,应控制进度速度,选用较大比重、黏度、胶体率的泥浆。
②汛期或潮汐地区水位变化过大时,应采取升高护筒,增大水头,或用虹吸管、连通管等措施保证水头相对稳定。
③清孔时应指定专人补水,保证钻孔内必要的水头高度。供水管最好不直接插入钻孔中,应通过水槽或水池使水减速后流入钻孔中,可免冲刷孔壁。应扶正吸泥机,防止触动孔壁。不宜使用过大的风压,不宜超过1.5~1.6倍钻孔中水柱压力。
④吊入钢筋骨架时应对准钻孔中心竖直插入。
2 预防缩孔
缩孔是钻锥磨损过大焊补不及时或因地层中有遇水膨胀的软土、黏土泥岩造成,前者应及时焊补钻锥,后者应选用失水率小的优质泥浆护壁。
3 预防孔身偏斜、弯曲
1) 处理措施
在偏斜处吊挂钻锥反复扫孔,使钻孔正直。偏斜严重时应回填黏土至偏斜处,待沉淀密实后重钻。
2) 预防措施
①钻机底座平正,保证钻杆垂直。
②钻机安装牢固,机架不摆动,保证钻杆和吊绳始终对准孔心。
③地基夯实,防止不均匀沉降引起钻机倾斜。
④加强机械保养维修,减小钻进过程中钻杆的抖动。
4 钻孔漏浆
若发现护筒内水头不能保持,水位下降,则证明有漏浆现象。
1) 处理措施
①对于上部渗透性强地层引起的漏浆,可以将护筒周围换填黏土夯实,增加护筒沉埋深度,加稠泥浆,以减少孔内水的渗透。还可以填入片石、碎卵石土,反复冲击以密实孔壁。
②钻孔漏浆时必须及时补水补浆,保持孔内水头,防止塌孔。
③在进入空洞前,应预备足够的泥浆,做好补浆准备。
2) 预防措施
①对于渗透性强地层在埋设护筒时黏土应夯填密实,适当加长护筒埋设深度。
②对于存在渗透性强地层的地区,采用的泥浆稠度适当加大。
③认真做好地质核查,对于存在空洞地区,提前备足泥浆,做好补浆准备。
5 糊钻、埋钻
对泥浆稠度、钻渣进口、钻杆内径大小、排渣设备进行检查计算,选择适当的钻进速度。若已严重糊钻,提出钻锥,清除钻渣。遇到塌方或其他原因造成埋钻时,使用空气吸泥机吸走埋钻的泥沙。
9.2 质量检验
9.2.1 主控项目
1 钻孔达到设计深度后,必须核实地质情况。

地质样品及相关记录
2 孔径、孔深和孔型必须符合设计要求。

孔径检查仪器及工序自检
3 钻孔桩应坚实不漏水,护筒埋深应符合施工工艺设计要求。
4 泥浆指标应根据钻孔机据、地质条件确定。对配置的泥浆应试验全部性能指标,钻进时应随时检查泥浆比重和含砂率。

泥浆指标含砂率测试、比重测试
5 浇注水下混凝土前应清底,孔底沉渣应清楚干净,满足高速铁路相关设计规范及设计文件提出的沉降要求。
9.2.2 一般项目
钻进过程中,允许偏差和检验方法须满足表9.2.2的要求。
表9.2.2 钻孔桩钻孔允许偏差和检验方法
10 安全及环保要求
10.1 安全要求
10.1.1 钻机安装时底架应垫平,保持稳定,对于地基差的部位必须进行处理后方可安装钻机。
10.1.2 钻机安装牢固,防止倾覆。钻机就位后,机身要用方木垫平,塞牢。桅杆顶端用钢丝绳对称拉紧。
10.1.3 注意用电安全,施工用电要由专业人员进行操作,电线、配电箱的摆放安装要规范化,电线不能直接敷设到地面上,应采取架空措施。配电箱加锁。
10.1.4 钻孔中,应注意观察有无漏浆现象,特别是岩溶地址,随时补充泥浆,保证孔内水位。应在钻孔附近设置醒目标志和围栏,以防人员掉入孔内,未作业时孔口应覆盖。
10.1.5 泥浆池防护,采用铁丝网与钢管焊接成片,其高度不小于1m,埋入深度不小于50cm,四周均需封闭,并设警示标志。
10.1.6 每工班检查钻头、主绳、主绳与钻头连接、提梁、绳卡等,及时处理问题。钢丝绳一个节距内断丝超过15%时必须更换。钢丝绳安全系数,缆风绳为3.5,吊索为8~10。
10.1.7 吊车的选用要结合工程实际,吊车停放时必须对场地进行平整,起吊前应认真检查底脚支撑加固情况,起吊时必须由有资质人员进行操作并设安全警戒人员。
10.2 环保要求
10.2.1 施工现场设置明显的标识牌。

泥浆池按照规定防护 现场施工标识、安全警示牌齐全
10.2.2 施工现场要配置标准配电箱、箱底要设置三角铁支架(距地面高主为1.2~1.3m)。临时用电线路架设规范,严禁乱拉乱接。
10.2.3 施工现场严格执行消防制度、措施和施工人员熟练掌握灭火器材。
10.2.4 在钻孔施工中要充分发挥泥浆循环系统的作用,所有多余泥浆均经过泥浆净化器处理。
10.2.5 钻渣和废浆及时外运至指定位置,以免施工产生的泥浆流入河中和公路、道路上,造成环境污染。

不可回收泥浆运至指定地点 钻渣定期清理外运
10.2.6 在居民区附近生产施工时,应尽量把噪声较大的施工工序安排在白天进行,并严禁施工机械在居民区内鸣笛,减小施工中的噪声和振动,不扰民。